ASSEMBLY INSTRUCTIONS
SWING
IT-130228 
CUSTOMER SERVICE INFORMATION
Please email us at info@cambridge–casual.com for assembly tips, report damage, or request parts.
For faster response, please write down item number, code for missing parts, attach the purchase receipt, and pictures of damaged parts.
GENERAL INFORMATION & TIPS
- Please read the assembly instructions prior to assembling the swing.
- To avoid damage, assemble the swing on a non-abrasive surface such as carpet.
- Make sure all bolts and nuts are tightly fastened before the chair is used. 4. This swing is not for commercial use.
Please make sure you have all parts before beginning assembly. Please wait until all steps are completed before tightening bolts and nuts.
TOOLS REQUIRED
- 8” Philips screwdriver (Not provided).
– For tightening all bolts.
- Rubber Mallet (Not provided).
– For tapping in the wooden caps.
- Wrench (Provided).
– For tightening all nuts.
PARTS AND HARDWARE LIST 
WARNING!
– Swing are inherently dangerous for small children, never let small children play around it unatended.
– Do not stand on the swing.
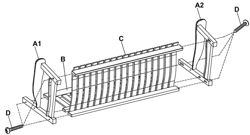
Step 1

Install on level ground.
Attach the back support (B) and seat (C) into right and left side frames (A1 & A2). Secure using 1 1/4” bolts (D). as shown.
STEP 2

Tighten all bolts completely using a screwdriver and tipping in the wooden caps (H). to cover bolts-head using a rubber mallet.
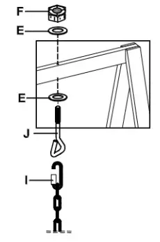
STEP 3 
Secure the hanger bolts with chain (1) into predrilled holes of right side frame (A1), using washers (E), dowel rings (K), nuts (F), and head nuts (G) as shown. (The hanger bolt with a long chain must be installed in front). Repeat the same procedure to install the hanger bolts (1) into the left side frame (A2). Make sure all parts are correctly connected and tighten all nuts completely using a wrench.
STEP 4 
NOTICE: Install not less than 6 feet from any obstruction such as fence, garage, house, overhanging branch laundry lines or electrical wires.

To hang up the swing:
Drill 2 pilot holes on your swing frame / overhead beam of your porch, at the width of 65 notice. Insert the hanging bolts (J) into predrilled holes of the swing frame and secure them with washers (E) and nuts (F) as shown. Tighten the nuts using a wrench. Once the hanging bolts (J) are in place, add a Chain Lock (provided in the chain kit “i“) with a threaded opening to each hanger bolt. Attach each chain (provided in the chain kit “l”) to the chain lock hanging off the hanger bolt (J) above. Close it securely by turning the nut by hand. Adjust the swing to your comfort, making sure it‘s level. Recommended height is 23.5 inches from the bottom of the seat to the ground.
MAINTENANCE
Wood is a living material that continues to respond to climate conditions even after being made into a piece of furniture.
After assembly rubs the furniture with a soft rag to remove any residual dust. Wood is a natural material whose appearance will change when left outdoors. This product has been treated prior to leaving the factory. To clean, use mild soap and warm water. Do not use abrasive material, cleansers, or bleach products, Dry thoroughly with a soft cloth,
Even though this piece of furniture is extremely durable and long-lasting, to prolong life we recommend bringing it indoors during freezing temperatures. Place it in a shaded area and do not leave it in standing water or on wet ground.
Do not put hot items directly on the furniture surface. Do not store furniture in areas that have central heating or cooling vents to prevent excessive drying of the wood. This will decrease the furniture’s longevity.
Do not write on furniture without a padded barrier to protect the surface. In order to maintain the product’s durability, please read carefully. Do not leave your furniture in puddles of water or on wet ground.
Cover your furniture during winter months or move into covered storage, if in wet climates. The manufacturer supports the protection of the world’s forest resources and is diligent in sourcing legally harvested wood,
- Thank you
The manufacturer
1-year Limited Warranty
The furniture is warranted to be free from defects in material and workmanship of the original product when purchased from one of our authorized dealers. If a product fails and is under the terms of our limited warranty, the item will be replaced, usually for a small fee. In the case of discontinued models, an item of similar quality and style will be offered to the customer.
- 1-year limited frame warranty Frames are warranted to be free from defects in material and workmanship. Fading or discoloring caused by putting the product under sunlight or rain is not covered by this limited warranty. Damage to the frame due to improper assembly or exposure to water and sub-freezing temperatures is not covered. (Do NOT allow water to accumulate inside the frame )
- Finish
The finish is warranted against peeling, cracking, or blistering for a period of 1 year, provided the unit has not been scratched or abraded. Scratches and chips resulting from normal wear and use are not covered. Peeling resulting from exposure to elements is not covered.
Warranty Exclusions: Furniture used for a commercial, contractor, or any non–residential purposes, clearance items, display models or items purchased “as is“, freight damage, furniture damaged by acts of nature, vandalism, fire, abuse, lack of proper care, and maintenance, or improper assembly, straps and fabric against fading or discoloration from exposure to elements, oil spills, fluids or chemicals, glass against breakage; hardware against corrosion or rusting; buckling or splitting of tubing resulting from exposure to water and freezing temperatures. Also excluded: loss of use or time, inconvenience, money, travel, packaging, or any other consequential or incidental damages. In no event shall the manufacturer‘s responsibility exceed the value of the replacement product.
Warranty is to the original purchaser when items are purchased from one of our authorized retailers and is not transferable. All warranty claims must be submitted with a dated register receipt within the warranty period. Should replacement of the warranty item be unavailable, the manufacturer reserves the right to substitute items of our choice that are of similar style and quality. For quality control purposes and verification, we reserve the right to request photography of the damaged item(s). The terms of this warranty are subject to change without notice.























