IKEA KULINARISK Convection Oven

DIMENSION

Safety Information
Before the installation and use of the appliance, carefully read the supplied instructions. The manufacturer is not responsible for any injuries or damage that are the result of incorrect installation or usage. Always keep the instructions in a safe and accessible location for future reference.
SAFETY WARNINGS
- This appliance can be used by children aged from 8 years and above and persons with reduced physical, sensory or mental capabilities or lack of experience and knowledge if they have been given supervision or instruction concerning the use of the appliance in a safe way and understand the hazards involved. Children of less than 8 years of age and persons with very extensive and complex disabilities shall be kept away from the appliance unless continuously supervised. Children must not play with the appliance. Keep all packaging away from children and dispose of it appropriately. Children shall not carry out cleaning and user maintenance of the appliance without supervision. If the appliance has a child safety device, it should be activated.
- WARNING: The appliance and its accessible parts become hot during use. Care should be taken to avoid touching heating elements.
- WARNING: Ensure that the appliance is switched off before replacing the lamp to avoid the possibility of electric shock.
- If the supply cord is damaged, it must be replaced with an identical one by the manufacturer, its service agent or similarly qualified persons in order to avoid a hazard – risk of electrical shock.
- This appliance is for household use only. Do not change the specification of this appliance.
- Always cook with the oven door closed. Use oven gloves to remove pans and accessories.
- Do not use a steam cleaner to clean the appliance.
- Do not use harsh abrasive cleaners or sharp metal scrapers to clean the glass door since they can scratch the surface, which may result in shattering of the glass.
- The means for disconnection must be incorporated in the fixed wiring in accordance with the wiring rules.
- Excessive spillage must be removed before the pyrolytic cleaning. Remove all parts from the oven.
Permitted use
- Risk of injury, burns, electric shock, fire, explosion or damage to the appliance.
- This appliance is for cooking purposes only. It must not be used for other purposes, for example room heating.
- Do not let the appliance stay unattended during operation. Deactivate the appliance after each use. Make sure that the ventilation openings are not blocked.
- Keep clothes or other flammable materials away from the appliance, until all the components have cooled down completely – risk of fire.
- If the appliance is installed behind a furniture panel (e.g. a door) make sure the door is never closed when the appliance operates. Heat and moisture can build up behind a closed furniture panel and cause subsequent damage to the appliance, the furniture or the floor. Do not close the furniture panel until the appliance has cooled down after use.
- Do not operate the appliance with wet hands or when it has contact with water. Do not apply pressure on the open door. Be careful when you remove the door from the appliance. The door is heavy. Do not use the appliance as a work surface or as a storage surface.
- Be careful when you open the appliance door while the appliance is in operation. Hot air can release. Do not put flammable products or items that are wet with flammable products in, near or on the appliance. When you place food into hot oil, it may splash. Do not let sparks or open flames to come in contact with the appliance when you open the door. Open the appliance door carefully. The use of ingredients with alcohol can cause a mixture of alcohol and air.
- To prevent damage or discoloration to the enamel:
- Do not put ovenware or other objects in the appliance directly on the bottom.
- Do not put aluminium foil directly on the bottom of cavity of the appliance.
- Do not put water directly into the hot appliance.
- do not keep moist dishes and food in the appliance after you finish the cooking.
- be careful when you remove or install the accessories.
- Use a deep pan for moist cakes. Fruit juices cause stains that can be permanent. Discoloration of the enamel or stainless steel has no effect on the performance of the appliance.
- Clean regularly the appliance to prevent the deterioration of the surface material. Before maintenance, deactivate the appliance and disconnect from the mains. Ensure the appliance is cooled down before any cleaning or maintenance – risk of burn. Be careful when you remove the door from the appliance. The door is heavy. There is also the risk that the glass panels can break. Replace immediately the door glass panels when they are damaged. Contact the Authorised Service Centre.
- Clean the appliance with a moist soft cloth. Use only neutral detergents. Do not use abrasive products, abrasive cleaning pads, solvents or metal objects. Do not clean the catalytic enamel with detergents (if applicable). Fat and food remaining in the appliance can cause fire. Do not remove the knobs from the appliance (if applicable). If you use an oven spray, follow the safety instructions on its packaging.
Pyrolytic cleaning:
- Risk of Injury / Fires / Chemical Emissions (Fumes) during the pyrolytic mode. Read carefully all the instructions for pyrolytic cleaning.
- During pyrolytic cleaning, fumes are released that are not harmful to humans, including infants or persons with medical conditions.
- Unlike all humans, some birds and reptiles can be extremely sensitive to potential fumes emitted during the cleaning process of all pyrolytic ovens. Small pets can also be highly sensitive to the localized temperature changes in the vicinity of all pyrolytic ovens when the pyrolytic self-cleaning program is in operation.
- Before carrying out a pyrolytic self-cleaning function or the First Use please remove from the oven cavity:
- Any excess food residues, oil or grease spills / deposits.
- Any removable objects (including shelves, side rails / telescopic runners, etc. provided with the product) particularly any non-stick pots, pans, trays, utensils etc.
- Non-stick surfaces on pots, pans, trays,utensils etc., can be damaged by the high temperature pyrolytic cleaning operation of all pyrolytic ovens and can be also a source for low level harmful fumes.
- Keep children away from the appliance while the pyrolytic cleaning is in operation. The appliance becomes very hot and hot air is released from the front cooling vents.
- Pyrolytic cleaning and first maximum temperature use are high temperature operations that can release fumes from cooking residues and construction materials, as such consumers are strongly advised to:
- Provide good ventilation during and after each pyrolytic cleaning.
- Provide good ventilation during and after the first use at maximum temperature operation.
- Ensure that any pets (especially birds) are taken as far as possible from the vicinity of the appliance location during and after the pyrolytic cleaning and first use maximum temperature operation. Keeping them in a different room would be the preferred option during the pyrolytic cycle and until appliance has cooled down again to room temperature. Good ventilation has to be provided during and after (till appliance cool down) operations of the pyrolytic cycle and first maximum temperature use cycle.
Installation
- The appliance must be handled and installed by two or more persons – risk of injury. Always use safety gloves and enclosed footwear – risk of cuts.
- Installation, including water supply (if any) and electrical connections, service or repair operation that involves the removal of a cover which gives protection against exposure to microwave energy (if any) and repairs must be carried out by the authorised installer. Follow the assembly instructions supplied with the appliance. Remove all the packaging. Make sure that the appliance has not been damaged during transport. In the event of problems, contact the dealer or your nearest Authorised Service Centre. Do not install or use a damaged appliance.
- Install the appliance in a safe and suitable place that meets installation requirements. Do not use the appliance before installing it in the built-in structure.
- Do not pull the appliance by the handle. Keep the minimum distance from other appliances and units. Before mounting the appliance, check if the oven door opens without restraint.
- Ensure that the appliance is switched off and disconnected from the power supply before performing any maintenance operation – risk of electric shock. During installation, make sure the appliance does not damage the power cable – risk of fire or electric shock. Only activate the appliance when the installation has been completed.
- Do not obstruct the minimum gap between the worktop and the upper edge of the oven – risk of burns.
Electrical warnings
- Risk of fire and electric shock.
- Make sure that the parameters on the rating plate are compatible with the electrical ratings of the mains power supply.
Do not use extension leads, multi-plug sockets or adapters. Do not operate the appliance if it has a damaged power cable or plug, if it is not working properly, or if it has been damaged or dropped. The appliance must be earthed. Always use a correctly installed shockproof socket. The shock protection of live and insulated parts must be fastened in such a way that it cannot be removed without tools. The electrical components must not be accessible to the user after installation. - The electrical installation must have an isolation device which lets you disconnect the appliance from the mains at all poles. The isolation device must have a contact opening width of minimum 3 mm. Use only correct isolation devices: line protecting cutouts, fuses (screw type fuses removed from the holder), earth leakage trips and contactors.
- Connect the mains plug to the mains socket only at the end of the installation. Fully close the appliance door before you connect the mains plug to the mains socket. Make sure that there is access to the mains plug after the installation. If the mains socket is loose, do not connect the mains plug. Do not pull the mains cable to disconnect the appliance. Always pull the mains plug. Do not let mains cables touch or come near the appliance door or the niche below the appliance, especially when it operates or the door is hot.
- To replace the power cable, contact the Authorized Service Centre.
- This product contains a light source of energy efficiency class G.
- Concerning the lamp(s) inside this product and spare part lamps sold separately: These lamps are intended to withstand extreme physical conditions in household appliances, such as temperature, vibration, humidity, or are intended to signal information about the operational status of the appliance. They are not intended to be used in other applications and are not suitable for household room illumination.
Environmental concerns
SAFETY WARNINGS
Before disposal, disconnect the appliance from the mains supply. Cut off the mains electrical cable close to the appliance and dispose of it. Remove the door catch to prevent children or pets from becoming trapped in the appliance – risk of injury or suffocation.
DISPOSAL OF PACKAGING MATERIALS
Recycle materials with the symbol
Put the packaging in relevant containers to recycle it.
SCRAPPING OF HOUSEHOLD APPLIANCES
This appliance is manufactured with recyclable or reusable materials. It is prohibited to dispose of equipment marked
with the symbol
along with household waste. Return the item to the local retailer in line with local legislation, collection point, or contact the competent municipal authorities to find out more. In order to preserve resources, ensure that discarded Electrical and Electronic Equipment, parts or materials are re-used or recycled according to the EU Directive on Waste of Electrical and Electronic Equipment 2012/19/EU.
Some materials and substances in some discarded EEE can potentially have a negative impact on the environment and human health. This product does not contain hazardous substances as specified by the EU Directive on the Restriction of the use of certain Hazardous Substances in Electrical and Electronic Equipment 2011/65/EU and its amendments ; however, it may contain Substances of Very High Concern (SVHC) according to REACH Regulation EC No 1907/2006.
For Switzerland
Where should you take your old equipment?
Anywhere that sells new equipment or hand it in to official collection points or official SENS recycling firms.
The list of official SENS collection points can be found at www.erecycling.ch
ENERGY SAVING TIPSs
- NOTE: This appliance has features which help you save energy during everyday cooking.
- Make sure that the oven door is closed properly when the oven operates. Do not open the door too often during cooking. Keep the door gasket clean and make sure it is well fixed in its position. Use metal dishes to improve energy saving. When possible, do not preheat the oven before you put the food inside.
- When the cooking duration is longer than 30 minutes, reduce the oven temperature to minimum 3 – 10 minutes before the end of the cooking time, depending on the duration of the cooking. The residual heat inside the oven will continue to cook.
- Use the residual heat to warm up other dishes. Keep breaks between baking as short as possible when you prepare few dishes at one time. Choose the lowest possible temperature setting to use residual heat and keep a meal warm.
- When possible, use the cooking functions with fan to save energy.
- If a programme with the Duration or End Time selection is activated and the cooking time is longer than 30 minutes, the heating elements automatically deactivate earlier in some oven functions (if applicable).
- When possible, turn off the lamp during cooking. Turn it on only when you need it.
- Moist Fan Baking (if applicable): Function designed to save energy during cooking.
- When you use this function the lamp automatically turns off.
Care and cleaning
Warning! Refer to Safety chapters.
Notes on cleaning
![]() Cleaning Agents | Clean the front of the oven with a soft cloth with warm water and a mild detergent. |
| Use a cleaning solution to clean metal surfaces. | |
| Clean stains with a mild detergent. |
![]() Everyday Use | Clean the cavity after each use. Fat accumulation or other residue may cause fire. |
| Moisture can condense in the oven or on the door glass panels. To de‐ crease the condensation, let the oven work for 10 minutes before cooking. Do not store the food in the oven for longer than 20 minutes. Dry the cavity with a soft cloth after each use. |
![]() Accessories | Clean all accessories after each use and let them dry. Use a soft cloth with warm water and a mild detergent. Do not clean the accessories in a dish‐ washer. |
| Do not clean the non-stick accessories using abrasive cleaner or sharp- edged objects. |
How to remove: Shelf supports
Remove the shelf supports to clean the oven.
| Step 1 | Turn off the oven and wait un‐ til it is cold. | ![]() |
| Step 2 | Pull the front of the shelf sup‐ port away from the side wall. |
| Step 3 | Pull the rear end of the shelf support away from the side wall and remove it. |
|
| Step 4 | Install the shelf supports in the opposite sequence. |
How to use: Pyrolytic Cleaning
Clean the oven with Pyrolytic Cleaning.
Warning! There is a risk of burns.
Warning! Ensure that any pets
(especially birds) are taken as far as possible from the vicinity of the appliance location during and after the Pyrolytic cleaning and first use maximum temperature operation. Keeping them in a different room would be the preferred option during the pyrolytic cycle and until appliance has cooled down again to room temperature. Good ventilation has to be provided during and after (till appliance cool down) operations of the pyrolytic cycle and first maximum temperature use cycle.
Warning! Before carrying out a Pyrolytic self-cleaning function or the First Use, please remove from the oven cavity:
- Any excess food residues, oil or grease spills / deposits.
- Any removable objects (including shelves, side rails /telescopic runners, etc. provided with the product) particularly any non-stick pots, pans, trays, utensils etc.
Caution! If there are other appliances installed in the same cabinet, do not use them at the same time as this function. It can cause damage to the oven.
Before the Pyrolytic Cleaning
| Before the Pyrolytic Cleaning: | ||
| Turn off the oven and wait until it is cold. | Remove all accessories. | Clean the oven floor and the in‐ ner door glass with warm water, a soft cloth and a mild deter‐ gent. |
| Step 1 | Step 2 | Step 3 |
| Turn on the oven. | Press: Menu / Cleaning. | Set the cleaning mode. Press: . |
| Option | Cleaning mode | Duration |
| Quick | Light cleaning | 1 h |
| Normal | Normal cleaning | 1 h 30 min |
| Intense | Thorough cleaning | 2 h 30 min |
| When the cleaning starts, the oven door is locked and the lamp is off. | ||
| To stop the cleaning before it is completed, turn off the oven. The oven stays locked until it is cold. | ||
| When the cleaning ends: | ||
| Turn off the oven and wait until it is cold. | Clean the cavity with a soft cloth. | Remove the residue from the bottom of the cavity. |
How to remove and install: Door
The oven door has four glass panels. You can remove the oven door and the internal glass panels to clean them. Read the whole “Removing and installing door” instruction before you remove the glass panels.
Caution! Do not use the oven without the glass panels
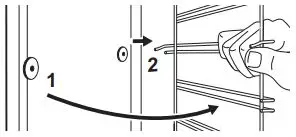
| Step 1 | Open the door fully and hold both hinges. | ![]() |
| Step 2 | Lift and pull the latches until they click. | ![]() |
| Step 3 | Close the oven door halfway to the first opening position. Then lift and pull to remove the door from its seat. | ![]() |
| Step 4 | Put the door on a soft cloth on a sta‐ ble surface. | |
| Step 5 | Hold the door trim (B) on the top edge of the door at the two sides and push inwards to release the clip seal. |
|
| Step 6 | Pull the door trim to the front to re‐ move it. | |
| Step 7 | Hold the door glass panels by their top edge and carefully pull them out one by one. Start from the top pan‐ el. Make sure the glass slides out of the supports completely. | ![]() |
| Step 8 | Clean the glass panels with water and soap. Dry the glass panels carefully. Do not clean the glass panels in the dishwasher. | |
| Step 9 | After cleaning, install the glass panels, the door trim and the oven door, close the latches on the both hinges. | |
| If the door is installed correctly, you will hear a click when closing the latches. | ||

How to replace: Lamp
Warning! Risk of electric shock.
The lamp can be hot.
Always hold the halogen lamp with a cloth to prevent grease residue from burning on the lamp.
| Before you replace the lamp: | ||
| Step 1 | Step 2 | Step 3 |
| Turn off the oven. Wait until the oven is cold. | Disconnect the oven from the mains. | Put a cloth on the bottom of the cavity. |
Back lamp
| Step 1 | Turn the glass cover to remove it. |
| Step 2 | Clean the glass cover. |
| Step 3 | Replace the lamp with a halogen, 230 V, 40 W, 300 °C heat-resistant lamp. |
| Step 4 | Install the glass cover. |
IKEA guarantee
- How long is the IKEA guarantee valid?
This guarantee is valid for 5 years from the original date of purchase of your appliance at IKEA. The original sales receipt is required as proof of purchase. If service work is carried out under guarantee, this will not extend the guarantee period for the appliance. - Who will execute the service?
IKEA service provider will provide the service through its own service operations or authorized service partner network. - What does this guarantee cover?
The guarantee covers faults of the appliance, which have been caused by faulty construction or material faults from the date of purchase from IKEA. This guarantee applies to domestic use only. The exceptions are specified under the headline “What is not covered under this guarantee?” Within the guarantee period, the costs to remedy the fault e.g. repairs, parts, labour and travel will be covered, provided that the appliance is accessible for repair without special expenditure. On these conditions the EU guidelines (Nr. 99/44/EG) and the respective local regulations are applicable. Replaced parts become the property of IKEA. - What will IKEA do to correct the problem?
IKEA appointed service provider will examine the product and decide, at its sole discretion, if it is covered under this guarantee. If considered covered, IKEA service provider or its authorized service partner through its own service operations, will then, at its sole discretion, either repair the defective product or replace it with the same or a comparable product. - What is not covered under this guarantee?
- Normal wear and tear.
- Deliberate or negligent damage, damage caused by failure to observe operatinginstructions, incorrect installation or by connection to the wrong voltage, damage caused by chemical or electro-chemical reaction, rust, corrosion or water damage including but not limited to damage caused by excessive lime in the water supply, damage caused by abnormal environmental conditions.
- Consumable parts including batteries and lamps.
- Non-functional and decorative parts which do not affect normal use of the appliance, including any scratches and possible color differences.
- Accidental damage caused by foreign objects or substances and cleaning or unblocking of filters, drainage systems or soap drawers.
- Damage to the following parts: ceramic glass, accessories, crockery and cutlery baskets, feed and drainage pipes, seals, lamps and lamp covers, screens, knobs, casings and parts of casings. Unless such damages can be proved to have been caused by production faults.
- Cases where no fault could be found during a technician’s visit.
- Repairs not carried out by our appointed service providers and/or an authorized service contractual partner or where non-original parts have been used.
- Repairs caused by installation which is faulty or not according to specification.
- The use of the appliance in a non-domestic environment i.e. professional use.
- Transportation damages. If a customer transports the product to their home or other address, IKEA is not liable for any damage that may occur during transport. However, if IKEA delivers the product to the customer’s delivery address, then damage to the product that occurs during this delivery will be covered by this guarantee.
- Cost for carrying out the initial installation of the IKEA appliance. However, if an IKEA service provider or its authorized service partner repairs or replaces the appliance under the terms of this guarantee, the service provider or its authorized service partner will re-install the repaired appliance or install the replacement, if necessary.
This restriction do not apply to fault-free work carried out by a qualified specialist using our original parts in order to adapt the appliance to the technical safety specifications of another EU country.
How country law applies
The IKEA guarantee gives you specific legal rights, which covers or exceed local demands. However these conditions do not limit in any way consumer rights described in the local legislation.
Area of validity
For appliances which are purchased in one EU country and taken to another EU country, the services will be provided in the framework of the guarantee conditions normal in the new country. An obligation to carry out services in the framework of the guarantee exists only if the appliance complies and is installed in accordance with:
- the technical specifications of the country in which the guarantee claim is made;
- the Assembly Instructions and User Manual Safety Information;
The dedicated After Sales Service for IKEA appliances:
Please do not hesitate to contact IKEA After Sales Service to:
- make a service request under this guarantee;
- ask for clarification on installation of the IKEA appliance in the dedicated IKEA kitchen furniture. The service won’t provide clarifications related to:
- the overall IKEA kitchen installation;
- connections to electricity (if machine comes without plug and cable), to water and to gas since they have to be executed by an authorized service engineer.
- ask for clarification on user manual contents and specifications of the IKEA appliance.
To ensure that we provide you with the best assistance, please read carefully the Assembly Instructions and/or the User Manual section of this booklet before contacting us.
How to reach us if you need our service
Please refer to the last page of this manual for the full list of IKEA appointed contacts and relative national phone numbers.
In order to provide you with a quicker service, we recommend that you use the specific phone numbers listed at the end of this manual. Always refer to the numbers listed in the booklet of the specific appliance you need an assistance for. Before calling us, assure that you have to hand the IKEA article number (8 digit code) and the Serial Number (8 digit code that can be found on the rating plate) for the appliance of which you need our assistance.
SAVE THE SALES RECEIPT! It is your proof of purchase and required for the guarantee to apply. Note that the receipt reports also the IKEA article name and number (8 digit code) for each of the appliances you have purchased.
Do you need extra help?
For any additional questions not related to After Sales of your appliances, please contact our nearest IKEA store call centre. We recommend you read the appliance documentation carefully before contacting us.
To download the full version visit www.ikea.com
United Kingdom
- Phone number: 020 3347 0044
- Call Fee: National call rate
- Opening time: 9 till 21. Weekdays
Per scaricare la versione completa, visita il sito www.ikea.com




























