
IST-nDrive
User Manual
IST-nDrive
This user manual will show you how to prepare your probe and nDrive for implantation.
Step 1
Prepare the nDrive, nDrive base, and IST-nDrive. Do not attach the probe or probe mount yet.
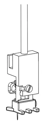
Step 2
Loosen the back screw on the nDrive. Slide the nDrive assembly onto the IST-nDrive.
Step 3
Tighten the screw to lock the nDrive onto the IST-nDrive.
Step 4
Align the probe mount with the front screw.
Step 5
Push the front screw through the larger probe mount screwhead opening.
Step 6
Slide the probe mount to the right and tighten the screw to lock it in place.
Step 7
Place the probe connector into the connector bracket.
Step 8
Mount the IST drive on a stereotaxic frame.
Perform insertion at target location. Cement the drive base once initial insertion has been performed.
NOTE: Apply cement to only the nDrive base, leaving room to access the screw to release the nDrive unit after the experiment.
Step 9
Once the nDrive base has been cemented, loosen the back screw and carefully slide the IST-nDrive away.
NeuroNexus Technologies, Inc. ©2021 | 5200 S. State Street, Suite 200, Ann Arbor, Michigan USA
Telephone: +1.734.913.8858 | Fax: +1.734.786.0069 | [email protected]



















