KTC ATG92, AG901, AG903 Side Slip Board Set Instruction Manual
Thank you very much for purchasing Side slip board Set (No.ATG92), Side slip board (No.AG901) and Step board (No.AG902).Please read this instruction manual in order to use this product safely and properly, and use the product properly after fully understanding the precautions and usage of the instruction manual and on the label. Please keep this instruction manual in a safe place for future reference.
This product is a special tool for displaying the amount of side slip and checking the toe-in angle balance of the front wheels of a vehicle.
Cautions for use
| Indicates the content that may cause injury and the content that may cause property damage if handled improperly. |
![]() | It represents an action that must be done. |
| Indicates a prohibited action. |
CAUTION | Indicates an action that must be confirmed. |
Please read before use.
- This product is not an automobile inspection device. Please use it for checking.
- This product should be used by qualified personnel (auto mechanics or equivalent qualified personnel).
- Do not use the product on the applicable object or on a part outside the specification range, as it may cause damage or malfunction.
- Please read and fully understand the instruction and precautions of the product before
use. - When performing maintenance on the product, please observe the product specifications, replace each part, and perform other related maintenance after thoroughly checking the product.
- Do not allow chemicals, seawater, moisture, etc. to adhere to this product.
- Maintenance and inspections should be performed in accordance with the procedures in the instruction manual. Improper handling may cause damage to the product or vehicle, or malfunction.
Do not use if any abnormality such as cracks or deformation is found in the product or the work target part.- Make sure that there is no looseness in the mounting bolt and nuts of each part before use.
- If too much load is applied, it may be damaged. Please use within the specifications.
- Do not apply external pressure such as shock to the product as this may cause malfunction.
- Use indoors so that it will not be exposed to rainwater, etc., as it may cause a malfunction.
- Do not disassemble or modify the product.
Please read before working.
- For the work procedure of disassembling and assembling each part and the handling of new parts, please perform the work correctly based on the maintenance instructions of each automobile manufacturer.
- Use this product on a flat and level surface.
- Before use, move the upper slider (Side slip board) by hand to make sure it moves smoothly.
- Before using the gauge, move it by hand to make sure that the upper slider (Side slip board) moves smoothly.
- Slope must be securely installed.
Do not perform maintenance work on the product.- Do not walk on the upper slider (Side slip board).
- Do not allow vehicles exceeding the allowable wheel load to pass through.
- Please do not get into the scale part.
Purpose
This product is used to display the amount of side slip caused by driving a vehicle and to check the balance between toe-in and camber of the front wheels.
Packaged contents
| No. | Item | Contents | Quantity | ATG92 | AG901 | AG902 |
| 1 | Side slip board | main body | 1 unit |
|
| |
| Slope for side slip board | 2 units |
|
| |||
| 2 | Step board | main body | 1 unit |
|
| |
| Slope for step Board | 2 units |
|
| |||
| Hexagon socket head cap screw (with 2 spares) | 4 pcs. |
|
| |||
| 3 | Instruction manual![]() | 1 copy |
|
|
| |
CAUTION
Side slip board Set (No.ATG92) comes in two packages : Side slip board (No.AG901) and Step board (No.AG902).
Specifications
| Allowable wheel load (axle load) | 750kg (1500kg) | |
| Shape | Separate left and right type | |
| Weight | Side slip board | 16.5kg |
| Ramp for side slip board | 2.5kg (per unit) | |
| Step Board | 10.0kg (including slope) | |
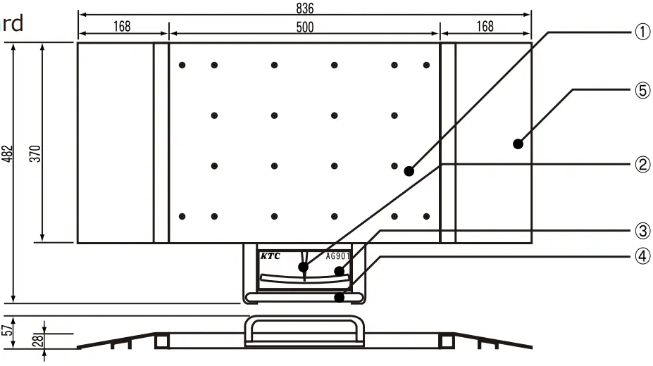
| Dimensions | Side slip board | 500 x 370 x 28 mm |
| Slope for side slip board | 168 x 370 x 28 mm | |
| Step board | 836 x 370 x 28 (including slope) | |
| Display | Display method | Analog, 1 needle |
| Display range | 0~20 mm/m for both IN and OUT | |
| Minimum scale | 1mm /m | |
| Scale | 0~3mm/m | green |
| 3~5 mm/m | yellow | |
| 5~20 mm/m | red | |
Names and functions of each part
Side slip board
Step board
| Name | Function | |
1 | Upper slider (Side slip board) | Moves to the toe-in side or toe-out side according to the amount of side slip of the vehicle. |
2 | Gauge bar | Upper slider (Side slip board) It moves in conjunction with the movement of the slider. |
3 | Scale plate | Side slip amount (mm / m) is displayed. Both IN and OUT are displayed up to 20mm / m. |
| 4 | Handle | Use when moving. |
5 | Slope | For smooth entry and exit of vehicles. Must be used. |
6 | Step board | Keep the height of wheels on both sides of the vehicle level. Must be used. |
Characteristics
- No construction work is required.
- Compact, lightweight, and easy to move.
- The total length is short and can be left in a small space.
- The height of the main body is low (28 mm), and the slope makes it easy to get in.
- Needle placement method that leaves the maximum value.
- Wide display range (20mm/m for both IN and OUT), suitable for imported cars.
- Easy 0-point adjustment.
- Separate type for various vehicle widths.
Application
- Suitable for light cars to 2t class freight cars.
- Allowable registered load 750Kg (axial weight 1500Kg)
- Allowable side-slip amount is 20mm/m or less for both IN and OUT.
- Wheel size (width): 280 mm or less.
Assembly of Side slip board (No.AG901)
- Attach the Side slip board slope to the main body. (both sides)
- Insert the pin of the slope into the mounting hole of the main body and fix it.

- Insert the pin of the slope into the mounting hole of the main body and fix it.
- Attach the step board slope to the main body. (both sides)
- Please put the slope.
- Use a hexagon wrench (3 mm) and fix the main body and slope with the attached hexagon socket head cap screw.

Start-up inspection
Please be sure to do it before work.
Please do the inspection without getting in the vehicle.
If any abnormality is detected, stop to use. If the product is used as it is, there is a possibility of damage to the main unit or vehicle, or a serious accident.
Side slip board (No. AG901) starting inspection
- To prevent slipping, check that there is no oil, grease, water, etc. on the upper slider
(Side slip board). If it adheres, wipe it off with a waste cloth. - Check that the upper slider (Side slip board) moves smoothly from side to side.
- Check that the gauge bar (indicator) moves smoothly on the scale plate.
(The gauge bar does not interfere with the scale plate.) - Check that the slope is certainly installed
Do not walk on the upper slider. The upper slider (Side slip board) may move suddenly, causing you to fall and possibly cause an accident.
Start-up Inspection of Step board (No. AG902)
- Check for oil, grease, water, etc. on the step board to prevent slipping. If they are attached, wipe it off with a waste rag.
- Check that the slope is securely installed.
Moving of Side slip board (No.AG901)
When moving the side slip board, do not lift it with the slope attached to the body. The slope may come off and you may be damaged or injured by dropping.
How to use
- Install the Side slip board (No.AG901) on the side to be checked and the Step board
(No.AG902) on the other side according to the tread width (installation must be squarely
against the vehicle). - Adjust the gauge bar (pointer) to “0” value by hand.
- Stop the vehicle at the position where it passes through the center of both boards.
- Move the vehicle forward slowly (3 km/h or less) and enter the vehicle along the white line.
- Please go through without operating the steering wheel.
- Check the displayed value of the gauge bar(indicator) when the vehicle passes
(the indicator remains at the maximum value). - After checking the displayed value, manually return the gauge bar (indicator) to the value of “0”.

- Repeat steps ③ to ⑦ and check the other wheel.
Do not allow vehicles to pass over the allowable wheel load.- Please stop parking on the side slip board. It will lead to the cause of failure.
- When moving the side slip board, be sure to remove the slope before moving.
Do not carry anyone other than the driver or luggage on the vehicle.- Remove water, oil, pebbles, mud, etc. What is attached to the wheels.
- Adjust to the air pressure specified by the vehicle. The amount of side slip may not be confirmed correctly.
- Accurate confirmation cannot be performed with the Side slip board (No.
- AG901) set on only one side. Be sure to use the step board and keep the height of the left and right wheels of the vehicle horizontal.
Example of use in a basic set.
Side slip board + Side slip board can also be used
Installation must be squarely against the vehicle.- The center of the wheel must pass through the center of each board.
Judgment
General guidelines
| Displayed value | Judgment (approximate) | |
| IN・OUT 0~3mm/m | Green | Good |
| IN・OUT 3~5mm/m | Yellow | Should be adjusted |
| IN・OUT 5~20mm/m | Red | Bad, needs to be adjusted |
CAUTION
Judgment and adjustment should be carried out based on the maintenance instructions of each automobile manufacturer.
Maintenance
| Inspection point | Inspection method |
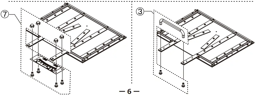
| Side slip board (No.AG901) Clean and lubricate the moving parts of the upper slider (Side slip board) | Loosen the hexagonal head bolt of the side slip board (part⑧), remove the upper slider (Side slip board), and check that there is no foreign substances on the lower base shaft (part④) and the rail part. If adhesion is found, clean it with a waste rag or the like. Apply lithium grease to the rail section (see p. 6: illustrated parts breakdown). |
Supply part
| Item | Contents | Quantity | |
1 | Upper slider | AG901-1 | |
2 | Lower base | AG901-2 | |
3 | Handle | AG901-2-A | |
4 | Shaft | AG901-3 | |
5 | Retainer | AG901-4 | |
6 | Gauge bar | AG901-5 | |
7 | Scale plate | AG901-6 | |
8 | Hexagon socket head cap screw M4x8 | AG901-7 | |
9 | Side slip board slope | AG901-8 | |
10 | Step board | AG902-1 | |
11 | Step board slope | AG902-2 | |
12 | Hexagon socket head cap screw M5x10 (with 2 spares) | AG902-3 |
There is no line tape parts setting. Please use a commercially available product.
Illustrated parts breakdown



Support
KTC KYOTO TOOL CO. LTD
128,Sayama-Shinkaichi, Kumiyama-cho, Kuse-gun, Kyoto, 613-0034, Japan
country of origin: JAPAN
Global Sales Department
+81 774 46 3717
[email protected]


























