FB 2200-90 L/FB 1290-90 L-Chest Freezer
Instruction Manual
FB 2200-90 L Chest Freezer

Adjustable feet and wheels exist according to the model.
![]() | ![]() |
![]() | ![]() |
THANK YOU FOR PURCHASING AN GRAM APPLIANCE
DEAR CUSTOMER!
Your appliance is exceptionally easy to use and extremely efficient. Before being packaged and leaving the manufacturer, the appliance was thoroughly checked with regard to safety and functionality.
Before using the appliance, please carefully read these Operating Instructions
Figures in this user manual are for illustrative purposes only. Full appliance fittings are listed in a relevant section.
The appliance is intended for household use only.
The manufacturer reserves the right to introduce changes which do not affect the operation of the appliance.
GUIDELINES CONCERNING THE SAFETY OF USE
Some provisions in this user manual are unified for refrigerating products of different types (for a refrigerator, refrigerator-freezer or freezer).- The Manufacturer shall not be held liable for damage arising from the failure to observe the instructions contained in this manual.
- Keep this manual for future reference, or to pass it over to the next user.
- This appliance is not intended for use by persons (including children) with limited physical or mental capabilities and persons who lack experience or familiarity with the appliance.
- Do not allow children to use the appliance. Do not allow them to play with the appliance. They must not climb inside the drawers and swing on the doors.
- When placing, moving, lifting the appliance, do not hold the door handles, do not pull the condenser at the rear part of the refrigerator and do not touch the compressor unit.
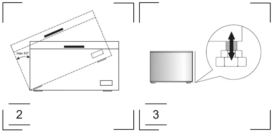
- When transporting, moving or positioning the fridge-freezer do not tilt it by more than 40° from the vertical position. Should such a situation occur, the appliance should be switched on after minimum 2 hours from its replacement in the right position (fig.2).
- Pull the plug out from the mains socket before each maintenance activity. Do not pull on the cord, but hold the body of the plug instead.
- The “cracking” sound, which the appliance may emit is caused by the expansion and contraction of parts as a result of temperature variations.
- For safety reasons do not repair the appliance yourself. Repairs carried out by persons who do not have the required qualifications may result in serious danger for the user of the appliance.
- Air the room in which the appliance is placed for a few minutes (the size of the room for a product containing isobuthane/R600a must be at least 4m 3 ) to avoid damage to the cooling system.
- Do not refreeze partly thawed products.
- Do not store beverages in bottles and cans, especially carbonated beverages, in the freezer chamber. The cans and the bottles may explode.
- Do not put frozen products, taken out directly from the freezer (lollies, ice cubes, etc.) into your mouth, their low temperature may cause severe frost-bite.
- Make sure you do not damage the cooling system, by puncturing the refrigerant pipes in the evaporator or breaking the pipes. The refrigerant is flammable. If the refrigerant makes contact with the eyes, rinse them with clean water and call for medical assistance immediately.
- If the power wire gets broken, it should be replaced with a new one in a specialist repair shop.
- This appliance is intended for food storage, do not use it for other purposes.
- When performing activities, such as cleaning, maintenance or moving, the appliance must be completely disconnected from power supply (by pulling the plug out from the socket)
- This appliance can be used by children aged 8 years and older or by persons with physical, mental or sensory handicaps, or by those who are inexperienced or unfamiliar with the appliance, provided they are supervised or have been instructed how to safely use the appliance and are familiar with risks associated with the use of the appliance. Ensure that children do not play with the appliance. Cleaning and maintenance of the appliance should not be performed by children unless they are 8 years or older and are supervised by a competent person.
- In order to obtain more space in the freezer, you can remove the drawers and place the food directly on the shelves. This has no effect on the product mechanical properties and cooling performance. Declared freezer capacity was calculated with the drawers removed.*
* Applicable to appliances with a freezer compartment at the bottom of the appliance./Does not apply to chest freezers
INSTALLATION AND OPERATING CONDITIONS OF THE APPLIANCE
Installation before using the apliance for the first time
- Take the product out of the package, remove the scotch tape protecting the door and the equipment. Any remaining adhesive stains may be removed with a mild washing agent.
- Do not throw away the polystyrene elements of the packaging. If it is necessary to transport the fridge-freezer, pack it in the polystyrene elements and film as well as protect ing it with scotch tape
- Clean the interior surface of the fridge- freezer and the elements of the equipment with a washing agent dissolved in lukewarm water, then wipe it dry.
- Place the fridge-freezer on an even, flat and stable surface, in dry, aired and shaded room, far from the heat sources such as: oven, hob, central heating radiators, central heating pipes, hot water installation, etc.
- On the exterior surface of the product may be a protective foil, this foils should be removed.
- Make sure the appliance is placed in a horizontal position by screwing in the 2 adjustable front legs (fig. 3)
Minimum distances from the heat sources
– from the electric gas and other ovens – 30 mm,
– from oil or coal fired ovens – 300 mm,
– from built-in ovens – 50 mm
If there is no possibility of ensuring the above- mentioned distances, provide an appropriate insulation board.
- The rear wall of the refrigerator, in particular, the condenser and other elements of the cooling system must not contact other elements, which may damage them, (e.g. central heating pipes and the water supply pipes).
- It is forbidden to readjust or modify any parts of the unit. It is crucial not to damage the capillary tube visible in the compressor recess. The tube may not be bent, straightened or wound.
- If the capillary tube is damaged by the user the guarantee will be void (fig. 8).
- In some models the handle is put into the appliance, You should screw it with Your own screwdriver,
Mains connection
- Prior to connection, it is recommended to set the temperature control knob to an „OFF” or other position that disconnects the appliance from the power supply (See page with the control description).
- This appliance should be connected to AC 220-240V 50Hz supply socket. The socket must be fitted properly, and must be supplied with an earthing conduit and a 10A fuse.
- It is a legal requirement that the appliance is properly earthed. The manufacturer will not be held liable for any damage or injury which may result from the failure to fulfil this requirement.
- Do not use adapters, multiple sockets and two-wire extension leads. If it is necessary to use the extension lead, it must be equipped with a protection ring and a single socket and must have a VDE/GS safety certificate.
- If an extension lead is used (with a protection ring and safety certificate), its socket must be located at a safe distance, away from the sinks, and must not be in a place where it could be flooded by water or waste water.
- See the type plate at the lower part of the internal wall of the appliance for detailed specifications**.
Disconnecting the mains
- Make sure the appliance can be easily disconnected from the mains, either by pulling the plug out of the mains socket, or by switching the two-pole switch off (fig. 9).
Installing the freezer in a cooled room.
- The freezer can be installed indoors, at temperatures up to -15 ° C. This gives you the option to install a freezer such as a holiday home, garage or utility room.
* Only free- standing appliances
** According to the model
OPERATION AND FUNCTIONS
Control Panel (Abb. 10)
- Temperature knob (thermostat)
- The green Running LED indicates that compressor operates
- The yellow Power LED indicated that the appliance is connected to power.
- The red Alarm LED indicates too high temperature in the freezer.
Temperature adjustment
Turning the knob to a different setting changes the temperature in the fridge-freezer.
Available knob settings:
- appliance switched off – OFF setting
- maximum temperature – 1 setting
- optimal temperature- 2-5 setting
- minimum temperature – 6 setting
Do not put food into the fridge freezer before it has reached its operating temperature, which takes minimum 4 hours.
Temperature inside the fridge/freezer chamber
Do not change the temperature settings due to the change in the season of the year. The ambient temperature increase will be detected by the sensor and the compressor will be switched on automatically for a longer period of time in order to maintain the temperature set inside the chambers.
Minor changes in temperature
The slight changes in temperature are perfectly normal and may occur, for instance during the storage of great quantities of fresh products in the fridge, or when the door is open for a longer period of time. This will not affect the condition of the stored foodstuff, and the temperature will quickly return to its set value.
In order to defrost the freezer chamber, you must take the following steps (Fig. 20):
- Set the knob at ”OFF” / „0“ position, take out the plug from the mains socket.
- Open the lid and remove the food from the freezer.
- After about 0.5h, it is possible to remove the white frost or water from the smooth wall surfaces.
- There is a water conduit at the bottom of the freezer, when defrosting, extract the rubber cover, de frosted water will drip into the hole and flow out.
(NOTES: PLEASE KEEP THE RUBBER COVER WELL DURING THE DEFROSTING AND PUT IT BACK AFTER DEFROSTING IS DONE ) - Extract the water conduit by 20-25mm until the water hole can be seen.
- Twist the water conduit until the arrow points downward.
- After defrosting is done, make sure there is no more water coming out before out the water conduit in place and make the arrow point upward.
- Wash the interior of the freezer and wipe it dry.
- Switch on the appliance as per the relevant point in the manual.
Storage of food in the fridge-freezer
Observe the following recommendations to ensure the food remains fresh.
- The products should be placed on plates, in containers or packed in food wrap. Distribute them evenly l over the shelves.
- If the food contacts the rear wall, it may cause frosting or wetting of the products.
- Do not put dishes with hot food t into the fridge
- Products which absorb flavours easily such as butter, milk, white cheese and products with intense flavour, such as fish, smoked meat, hard cheese must be placed on shelves, packed in food wrap or in tightly sealed containers.
- The storage of vegetables containing significant quantities of water will cause the deposition of condensation on the vegetable containers, it does not impact on the proper functioning of the fridge.
- Before putting the vegetables into the fridge, dry them well.
- Excessive moisture shortens the shelf life of vegetables, especially the leafed vegetables.
- Do not wash the vegetables before storing in the refrigerator. Washing removes the natural protection, therefore it is better to wash the vegetables directly before consumption.
- It is recommended to place the products in freezer drawers 1, 2, 3* up to natural loading capacity (Fig. 11a / 11b).**
1. Packed products
2. Shelf
3. Natural loading capacity
4.
- Stacking of products on the freezer shelves is acceptable.*
- It is acceptable to place products beyond the natural loading capacity by 20-30 mm.**
- In order to increase the loading capacity of the freezer chamber and allow the stacking of products on the freezer evaporator wire shelves up to maximum height it is possible to remove drawers 1 and 2.*
Freezing food**
- Practically all the food products, except for vegetables consumed raw, such as lettuce can be frozen.
- Only food products of the highest quality, divided into small portions for single use, should be fro- zen.
- Products should be packed in materials that are odourless, resistant to air and moisture penetration, and not susceptible to fat. Plastic bags, polyethylene and aluminium sheets are the best wrapping materials.
- The packaging should be tight and should stick to the frozen products. Do not use glass containers.
- Keep fresh and warm foodstuff at ambient temperature away from the products, which have already been frozen.
- We advise you not to place more of fresh food at a time to the freezer per day (see table witch technical specification).
- In order to maintain optimum quality of the frozen food, reorganise the food that is in the middle of the freezer, so that it does not touch the products that are not yet frozen.
- It is recommended that you move the already frozen products to one side and place the fresh products that are to be frozen on the opposite side, as close to the rear and side walls as possible.
- To freezing products, use space marked
. - Bear in mind that the temperature in the freezer is affected by several factors, including the ambient temperature and the quantity of food products in the chamber, the frequency of opening the door, the amount of frost in the freezer, and the thermostat setting.
- If you cannot open the freezer door immediately after closing it, allow 1-2 minutes for the negative pressure to compensate, and try again to open the door.
The storage time for frozen products depends on their quality before freezing when fresh, and on the storage temperature. The following storage periods are recommended when the temperature of -18°C or lower is maintained:
| Products | Months |
| Beef | 8-Jun |
| Veal | 6-Mar |
| Giblets | 2-Jan |
| Pork | 6-Mar |
| Poultry | 8-Jun |
| Eggs | 6-Mar |
| Fish | 6-Mar |
| Vegetables | 12-Oct |
| Fruit | 12-Oct |
Do not store frozen food in rapid cooling chamber. Ice cubes can be prepared and stored in this chamber.***
* Applicable to appliances with a freezer compartment at the bottom of the appliance.
** Applicable to appliances with a freezer compartment ![]()
*** Not applicable to appliances with a freezer compartment marked ![]()
USING THE REFRIGERATOR EFFICIENTLY
Practical everyday tips
- Do not place fridges or freezers next to radiators, heaters, stoves or in direct sunlight.
- Make sure that air vents are not covered up and clean the dust off them once or twice a year.
- Select the right temperature: 6 to 8°C in your refrigerator and -18°C in your freezer is sufficient.
- When on holiday, turn up the temperature in your fridge.
- Only open your fridge or freezer when necessary. It helps if you know what food each contains and where it is located. Return food to the fridge or freezer as soon as possible after you have used it so that it does not warm up too much.
- Wipe the inside of your fridge regularly with a cloth soaked in a mild detergent. Appliances which are not self-defrosting will require regular defrosting. Do not allow frost layers thicker than 10 mm to form.
- Keep the seal around the door clean, otherwise it will not shut properly. Always replace broken seals.
Understanding the stars
Temperature is at least -6°C; sufficient to store frozen food for about a week. Drawers or compartments marked with one star used to be a feature of (mostly) cheaper fridges.
Food can be stored at -12°C or below for 1-2 weeks without losing its taste. Not suitable for freezing food.
This rating is mainly used to store foods at -18°C or below. Can also be used to freeze up to 1 kilogram of fresh food.
This appliance is suitable for storing foods at -18°C or below and freezing larger quantities of fresh foods.
Storage zones in the refrigerator
- Due to the natural circulation of the air in the appliance, there are different temperature zones in the refrigerator chamber.
- The coldest area is directly above the vegetables drawers. Use this area for all delicate and highly perishable food e.g.
– Fish, meat, poultry
– Sausage products, ready meals
– Dishes or baked goods containing eggs or cream
– Fresh dough, cake mixtures
– Pre-packed vegetable and other fresh food with a label stating it should be kept at a temperature of approx 4 o C. - The warmest area is in the top section of the door. Use this for storing butter and cheese.
Food that should not be stored in a refrigerator
- Not all food is suitable for storing in the refrigerator, particularly:
– Fruit and vegetables which are sensitive to cold, such as bananas, avocado, papaya, passion fruit, aubergines, peppers, tomatoes and cucumbers.
– Fruit which is not yet ripe
DEFROSTING, CLEANING AND MAINTENANCE
Never clean the product’s casing or plastic parts using solvents or strong, abrasive detergents (e.g. washing powders or creams)! Use mild liquid detergents and soft cloths only. Do not use sponges.
Defrosting the fridge***
- Frost settles on the rear wall of the fridge chamber. It is removed automatically. During the defrosting, the condensate, which contains contaminants may clog the opening in the through. Should it occur, carefully unclog the opening with the cleaning plug (fig. 13).
- The appliance operates in cycles: it refrigerates (then the frost settles on the rear wall), and defrosts (water flows down the rear wall)
Disconnect the appliance from the mains before cleaning by removing the plug from the mains socket or switching off the fuse. Prevent water from penetrating the control panel or the light. - Do not use defrosting aerosols. They may cause the formation of an explosive mixture, or contain solvents which may damage the plastic components of the appliance and even be harmful to health.
- Make sure the water used for cleaning does not flow into the evaporation container through the discharge opening.
- The whole appliance, except for the door gasket must be cleaned with a mild cleaning detergent. The door gasket should be cleaned with water and wiped dry.
- Wash all the accessories (vegetable containers, door shelves, glass shelves, etc.).
Defrosting the freezer**
- It is recommended to combine defrosting the appliance with washing it.
- Excessive accumulation of ice on the freezing areas impairs the appliance’s freezing capacity and increases the energy consumption.
- Defrost the appliance at least once or twice a year. In case of a higher ice build-up, defrosting must be carried out more frequently.
- If there is food in the freezer, set the knob to the max. position about 4 hours before the planned defrosting. This will ensure the possibility of storing the food at the ambient temperature for a longer time.
- After taking the food out of the freezer, put it in a container, wrap it with several layers of paper, a blanket and store it at a cool place.
- The defrosting operation should last as short as possible. Long storage of food at the ambient temperature shortens their shelf life.
In order to defrost the freezer chamber, you must take the following steps:**
- Switch of the appliance using the control panel and pull the plug out from the socket..
- Open the door and remove the food from the freezer.
- Depending on the model, pull out the drainage tube located in the bottom of the freezer compartment and place a suitable vessel underneath.
- Leave the door open, this will speed up the defrost process. Additionally, a pot with hot water (not boiling) may be placed inside the freezer compartment.
- Wash the interior of the freezer and wipe it dry.
- Switch on the appliance as per the relevant point in the manual.
Automatic fridge defrosting****
The fridge chamber has been equipped with an automatic defrosting function. However, frost may settle on the rear wall of the fridge chamber. This happens usually, when large quantities of fresh food products are stored in the fridge.
Automatic freezer defrosting****
The freezer chamber has been equipped with an automatic defrosting function (no-frost). The food is frozen in the cooled circulation air, and the moisture from the freezer chamber is discharged outside. As a result, no ice and frost is produced in the freezer and the products do not freeze on each other.
Washing the fridge and freezer chambers manually****
It is recommended to wash the fridge and freezer chambers at least once a year. This prevents the formation of bacteria and bad odours. Switch off the appliance, using button (1), remove the food from the chambers and wash them using water with a mild detergent. Then, wipe the chambers dry with a cloth.
You must not put an electric heater, a heating fan or a hair dryer into the freezer by any means.
** Applicable to appliances with a freezer compartment
Not applicable to appliances with a Frost-free System.
*** Applicable to appliances with a refrigerator compartment Not applicable to appliances with a Frost-free System.
**** Applicable to appliances with a Frost-free System.
***** Does not apply to chest freezers
TROUBLE-SHOOTING
| Problems | Possible causes | Remedies |
| The appliance does not work | The electric circuit is disrupted | – check whether the plug is properly inserted into the socket – check whether the power cable of the appliance is not damaged – check whether there is voltage in the socket, by plugging another appliance, e.g. a night lamp – check whether the appliance is switched on by setting the thermostat to a position above 0. |
| The lighting inside the chamber does not work | The bulb is loose or fused (only appliances with bulb lightning type) | – fit the bulb correctly or replace it (see section above “Replacing the intenor light bulb) |
| Temperature inside the appliance is not low enough or too high | Incorrect setting of the adjustment knob | – reset the knob to a higher position |
| The ambient temperature is higher or lower than the climate range from table with technical specification | – the appliance is adapted to operation in the climato range from table with technical specification. | |
| The appliance is located in a sunlit place or near heat sources | – move the appliance to another place. Observe the guidelines contained in the manual | |
| Too much warm food loaded at a time | – wait 72 hours until the food becomes cool (freezes) and the required temperature is reached inside the chamber | |
| Internal air circulation obstructed | – place the food and containers in such a way that they do not touch the rear wall of the fridge | |
| The air circulation at the back of the ap- pliance is obstructed | – move the appliance min. 30 mm away from the wall | |
| The door of the fridge/freezer is opened too often and/or remains open for too long | – reduce the frequency of opening the door and/or shorten the time when door remains open | |
| The door does not close completely | – place the food and containers so that they would not interfere with door closed | |
| The compressor is switched on too rarely | – check whether the ambient temperature is not lower than climate class | |
| Door gasket inserted incorrectly | – press the gasket in | |
| The appliance works continuously | Incorrect selling of the adjustment knob | – reset the knob to a lower position |
| See. “Temperature inside the appliance is not low enough for description of other possible causes | See. “Temperature inside the appliance is not low enough for description of other possible remedies | |
| Water collects in the lower part of the appliance | The water discharge opening is clogged (depending on the model) | – clean the discharge opening (see the operating manual — chapter entitled “Defrosting the fridge”) |
| Internal air circulation obstructed | – place the food and containers in such a way as that they do not touch the rear wall of the fridge | |
| The appliance generates unusual noise | Incorrect levelling of the appliance | – level the appliance properly |
| The appliance is touching furniture and/or other objects | – place the appliance at a location that ensures proper clearances around it |
Certain sounds can be heard during normal use of the refrigerator, which do not affect its correct operation.
Sounds, which can be easily prevented:
- noise caused by the appliance which is not level – adjust the position with the adjustable turn-in front feet. Alternatively, place pads made of soft material under the rear rollers, especially when the appliance is placed on
- tiles.touching the adjacent piece of furniture – move the refrigerator away.
- creaking of the drawers or shelves – take out and put back the drawer or shelf.
- sounds of clinking bottles – move bottles apart.
Sounds heard during normal use are mainly due to operation of the thermostat, compressor (switching on) and cooling system (thermal expansion and contraction of the radiator caused by flow of the cooling agent).
ENVIRONMENTAL PROTECTION
Ozone layer protection
The refrigerants and foaming agents, which are 100% free of FCKW and FKW have been used for manufacturing our product. Therefore we are helping to protect the ozone layer and prevent the increase of greenhouse effects. Also, the innovative technology and environmentally friendly insulation help in reducing energy consumption.
Recycling of the packaging
Our packaging are made of environmentally friendly materials, which can be reused:
- The external packaging is made of cardboard/foil
- The FCKW free shape of foamed polystyrene (PS)
- Polyethylene (PE) foils and bags
ELIMINATION/DISPOSAL OF THE EQUIPMENT
If the appliance is no longer in use, cut the connecting cable off the used equipment before its scrapping. Also, remove the appliance lock or render it useless so that the appliance presents no danger to children while being stored for disposal. This appliance is marked with a symbol of the crossed out waste container in conformance with the European Directive 2002/96/EC. Such marking informs that the equipment may not be kept together with other waste coming from the household after the period of its use. The user is obliged to dispose of the appliance at the waste collection point. The local waste collection points, shops and communal units form an appropriate system enabling the disposal of the equipment.
Handling the used electrical and electronic equipment properly contributes to the avoidance of consequences harmful to the human health and natural environment, resulting from the presence of hazardous substances and improper storage and processing of such equipment.
CLIMATE RANGE
The information about the climate range of the appliance is provided on the rated plate. It indicates at which ambient temperature (that is, room temperature, in which the appliance is working) the operation of the appliance is optimal (proper).
The ambient temperature during use of the freezer shall not fall below -15º C.
| Climate range | Permissible ambient temperature |
| SN | from +10°C to +32°C |
| N | from +16°C to +32°C |
| ST | from +16°C to +38°C |
| T | from +16°C to +43°C |
WARRANTY AND AFTER-SALE SERVICES
Warranty
Warranty service as stated on the warranty card
The manufacturer shall not be held liable for any damage caused by improper use of the product.
Manufacturer’s Declaration
The manufacturer hereby declares that this product meets the requirements of the following European directives:
- Low Voltage Directive 2014/35/EC
- Electromagnetic Compatibility (EMC) Directive 2014/30/EC
- ErP Directive 2009/125/EC
- Directive RoHS 2011/65/EC
and has thus been marked with the symbol and been issued with a declaration of compliance made available to market regulators.
ITEMS OF EQUIPMENT
- Handle
- Basket
- Control panel
- Drain
NO: Gram A/S
Tel.: 22 07 26 30
www.gram.no
SE: Gram A/S
Tel.: 040 38 08 40
www.gram.se
FI Gram A/S
Tel.: 020 7756 350
www.gram.fi
Gram A/S
Gejlhavegård 2B
DK-6000 Kolding
+45 73 20 10 00
www.gram.dk
IO-REF-0895/3
(08.2021)






















