FR-CN-0105 60-inches Chest Freezer
Instruction Manual
Display Freezer
Model FR-CN-0105, 0105B, 0098NB, 0098
Items 47241, 47242, 47239, 44526
Instruction Manual
STOP
DO NOT RETURN THIS PRODUCT TO THE STORE
For questions or assistance with this product call OMCAN Toll Free:
1 800 465 0234 Customer Service or visit the Support section of www.omcan.com
Revised – 11/18/2021![]()
Disclaimer
OMCAN IS NOT RESPONSIBLE FOR DIMINISHED COOLING OR ANY DAMAGES DUE TO WATER LEAKS. WARRANTY IS VOID IF THE AMBIENT ROOM TEMPERATURE EXCEEDS 75°F AND 55% RELATIVE HUMIDITY, AND THE APPLIANCE DRAIN IS NOT CONNECTED DIRECTLY TO A FLOOR DRAIN.
General Information
Omcan Manufacturing and Distributing Company Inc., Food Machinery of America, Inc. dba Omcan and Omcan Inc. are not responsible for any harm or injury caused due to any person’s improper or negligent use of this equipment. The product shall only be operated by someone over the age of 18, of sound mind, and not under the influence of any drugs or alcohol, who has been trained in the correct operation of this machine, and is wearing authorized, proper safety clothing. Any modification to the machine voids any warranty, and may cause harm to individuals using the machine or in the vicinity of the machine while in operation.
CHECK PACKAGE UPON ARRIVAL
Upon receipt of an Omcan shipment please inspect for external damage. If no damage is evident on the external packaging, open carton to ensure all ordered items are within the box, and there is no concealed damage to the machine. If the package has suffered rough handling, bumps or damage (visible or concealed), please note it on the bill of lading before accepting the delivery and contact Omcan within 24 hours, so we may initiate a claim with the carrier. A detailed report on the extent of the damage caused to the machine must be filled out within three days, from the delivery date shown in the shipping documents. Omcan has no recourse for damaged products that were shipped collect or third party.
Before operating any equipment, always read and familiarize yourself with all operation and safety instructions.
Omcan would like to thank you for purchasing this machine. It’s of the utmost importance to save these instructions for future reference. Also save the original box and packaging for shipping the equipment if servicing or returning of the machine is required.
Safety and Warranty
SAFETY CAUTIONS
- This unit uses AC110V/60Hz power, there should be a 500VA stabilizer if the voltage fluctuation exceed AC198V~242V.
- The user should hold the plug when the power is on/off, dragging or pulling the power cord is prohibited.
- Do not remove the power cord or plug.
- Must use dependent socket and reliable ground wire. Ground wire must not connect with the null line of the gas pipe, warm gas pipe, water pipe and must be single power.
- Never splash water on the unit directly.
- Keep away from explosive, hazardous goods such as ether, gas, alcohol, bonding agents, gunpowder etc.
- Keep away from spray of inflammables such as paints, coating materials etc.
- After the unit is switched off, it should not be restarted within 5 minutes.
- Do not leave the power cord under any heavy objects including the unit itself.
- Do not drill holes or install other objects on the casing.
- This cooler is not suitable for storage pharmaceutical products.
CAUTION
- The unit is not suitable for storage of blood, pharmaceutical products and biological products
- Do not place heavy articles on the top of the unit.
- In case of trouble, please ask professional person for service, do not dismantle the unit without prior authority to avoid hazard.
RESIDENTIAL USERS: Vendor assumes no liability for parts or labor coverage for component failure or other damages resulting from installation in non-commercial or residential applications. The right is reserved to deny shipment for residential usage; if this occurs, you will be notified as soon as possible.
1 YEAR PARTS AND LABOUR WARRANTY
Within the warranty period, contact Omcan Inc. at 1-800-465-0234 to schedule an Omcan authorized service technician to repair the equipment locally.
Unauthorized maintenance will void the warranty. Warranty covers electrical and part failures, not improper use.
Please see https://omcan.com/disclaimer for complete info.
WARNING:
The packaging components are classified as normal solid urban waste and can therefore be disposed of without difficulty.
In any case, for suitable recycling, we suggest disposing of the products separately (differentiated waste) according to the current norms.
DO NOT DISCARD ANY PACKAGING MATERIALS IN THE ENVIRONMENT!
Technical Specifications
| Model | FR-CN-0105 | I FR-CN-0105B | FR-CN-0098NB | I FR-CN-0098 | |
| Capacity | 105 L / 3.7 cu.ft. | 98 L / 3.46 cu. ft. | |||
| Power | 180 W | 158 W | |||
| Power Consumption | 2.3 kW/h | 3.3 kW/h | |||
| Temperature Range | -18 to -20°C / -0.4 to -4°F | ||||
| Refrigerant | R290 | ||||
| Maximum Ambient Temperature | 32°C / 90°F | ||||
| Defrosting | Manual | ||||
| Temperature Controller | Digital Controller | ||||
| Number of Shelves | 6 | 3 | |||
| Shelf Material | Metal | I ABS | |||
| Shelf Capacity | 33.1 lbs. / 15 kgs. | ||||
| Shelf Dimensions | 10.2″ x 10.2″ 260 x 260mm | 17.4″ x 15″ 442 x 380mm | 17.8″ x 14.2″ 453 x 360mm | ||
| 17.8″ x 6.7″ 453 x 170mm | |||||
| Electrical | 110V / 60Hz | ||||
| Interior Dimensions | 11″ x 12.2″ x 49.8″ 280 x 310 x 1265mm | 17.9″ x 15.4″ x 26.8″ 455 x 390 x 680mm | 17.8″ x 14.2″ x 25.6″ 453 x 360 x 650mm | ||
| Exterior Dimensions | 16.5″ x 16.9″ x 69.1″ 420 x 430 x 1755mm | 16.5″ x 16.9″ x 74.2″ 420 x 430 x 1885mm | 23.4″ x 20.1″ x 33.8″ 595 x 510 x 859mm | 23.4″ x 21.5″ x 34.3″ 595 x 545 x 870mm | |
| Weight | 121.3 lbs. / 55 kgs. | 143.3 lbs. / 65 kgs. | 110.2 lbs / 50 kgs. | ||
| Item Number | 47241 | 47242 | 47239 | I 44526 | |
Installation
INSTALLATION AND STORAGE
- Keep the unit vertical when carrying the unit, the angle to the horizontal line should not be over 50°, otherwise it will damage the compressor and affect normal operation of the unit.
- The unit should be place on a solid and firm ground, take away the bottom pack to lower the shock and noise.
- Leave at least 20 cm of distance between the back of the unit and the wall for ventilation and leave a space with an open angle of 160° for the door.
- Keep the unit away from heat sources and avoiding direct sunlight.
- Never place the unit on a location where water can reach or with high moisture. Splashed water and dirt should be wiped off in time by using a soft cloth.
- Do not place the unit in the environment cold enough to be iced.
BEFORE USE
- Remove the carton and packing foam (including the bottom foam) before using.
- Clean the unit before using.
- Adjust the foot to make the unit steady according to the ground condition to lower the shock and noise.
- After moving the unit, place the unit for 30 minutes before switching it on.
Running: close the door and connect the power, turn on the lamp switch on the control panel, the lamp is on.
Half an hour later, the temperature inside the case lower apparently, it indicates the unit on be normally used. - After connecting the power, the unit should be kept empty for one hour.
Operation
SETTING AND ADJUSTING THE TEMPERATURE
- Adjust the storage temperature through the temperature controller located on the back of the case, adjust the temperature according to the ambient temperature and the foodstuff.
- See the following picture about the knob scale. The temperature adjustable capacity is from “1”-“5”, adjust the storage temperature by turning the temperature controller clockwise. The higher of the number shows the lower of the storage temperature. The knob can turn freely but can’t turn clockwise from “5” to “1”. Factory setting position is on “3”.
- Check if the scale is on an appropriate position before using, frequent adjustment is not appropriate when using. Normally in summer, the ambient temperature is high, anti clockwise turn the knob to “2”, while in winter, the ambient temperature is low, clockwise turn the knob to “4”.
- Position “0” represent stop running.

STORAGE OF PRODUCT
- Do not put large amount of product into the unit at one time, you should leave some space around the foodstuff to let cold air inside the cabinet counter to flow. Keep bottled articles away from the walls of interior cabinet so as not to freeze it until broken.
- Do not put warm food into the unit directly until they are cooled under normal temperature, it will facilitate to lower its energy consumption and prolong service life of the compressor.
Maintenance
DISCONNECT THE POWER SUPPLY BEFORE MAINTENANCE FOR THE MACHINE!
- Keep the door gasket clean, remove it from the door and wash it. Dry and seal it as before. Putting some talcum powder on the magnetic surface would prolong its service life.
- Bulb replacement: remove the lamp shade, take out the bulb, replace with a new bulb, then mount it again.
- If there is heavy frost on the evaporator after long usage, take out the stuff inside the case, disconnect the power, the frost will melt automatically, clean up the water and connect the power again.
- Use a soft cloth and dip some water or soap (Non-caustic, neutral detergent is also available) to clean the unit. Dry the unit after cleaning to avoid rust.
- Do not use organic liquid, boiled water, washing powder or acid stuff to clean the unit. Rinsing the case by water is not allowed, don’t use hard brush, steel brush to clean the case.
- If the unit will not be used for a long time, disconnect the power, clean it by following the above steps, wipe off the water inside the case with a soft cloth.
Troubleshooting
| Problems | Possible Causes | Solutions |
| The units does not work. | Bad connection of plug. | Re-connect the plug to power supply |
| Abnormal operation of the compressor or has buzz sound. | The power voltage is out of the rated range. | Disconnect the power supply immediately and reconnect with it after normal voltage. It is necessary to have a voltage stabilizer in case of poor power supply. |
| Compressor operates too long time and no frost on the surface of inner cabinet. | Refrigeration system is at fault (leakage or blocked). | Send the unit to service department for repair. |
| There is frost or ice on the walls of the inner cabinet and too low internal temperature, the compressor operates never stop. | Thermostat does not work. | Ask service department for repair. |
| The internal temperature is too high and the compressor operates never stop. | Bad heat dissipation and ventilation of casing, the ambient temperature is too high. | Improve ventilation and lower the ambient temperature. |
| Too much warm food was put in at one time. | Take out some food. | |
| Door open frequently and long time door opening. | Decrease number and time of door opening. | |
| Too high noise. | The unit is not level. | Adjust the adjustable legs. |
| The fastener of the unit is loose. | Fasten the loose fastener. | |
| Pipes are touching the compressor. | Careful separate the touched pipes. | |
| Light is not on. | The light is burned out. | Replace the light. |
NORMAL PHENOMENA
- Sometime hear light sound of water flowing in the unit, this is the sound of refrigerant flowing inside the pipe.
- The top, and the two sides of the casing will be warm, even too hot.
- In a humidity place, there is dew on the casing or the door, it can dry by dry cloth.
Parts Breakdown
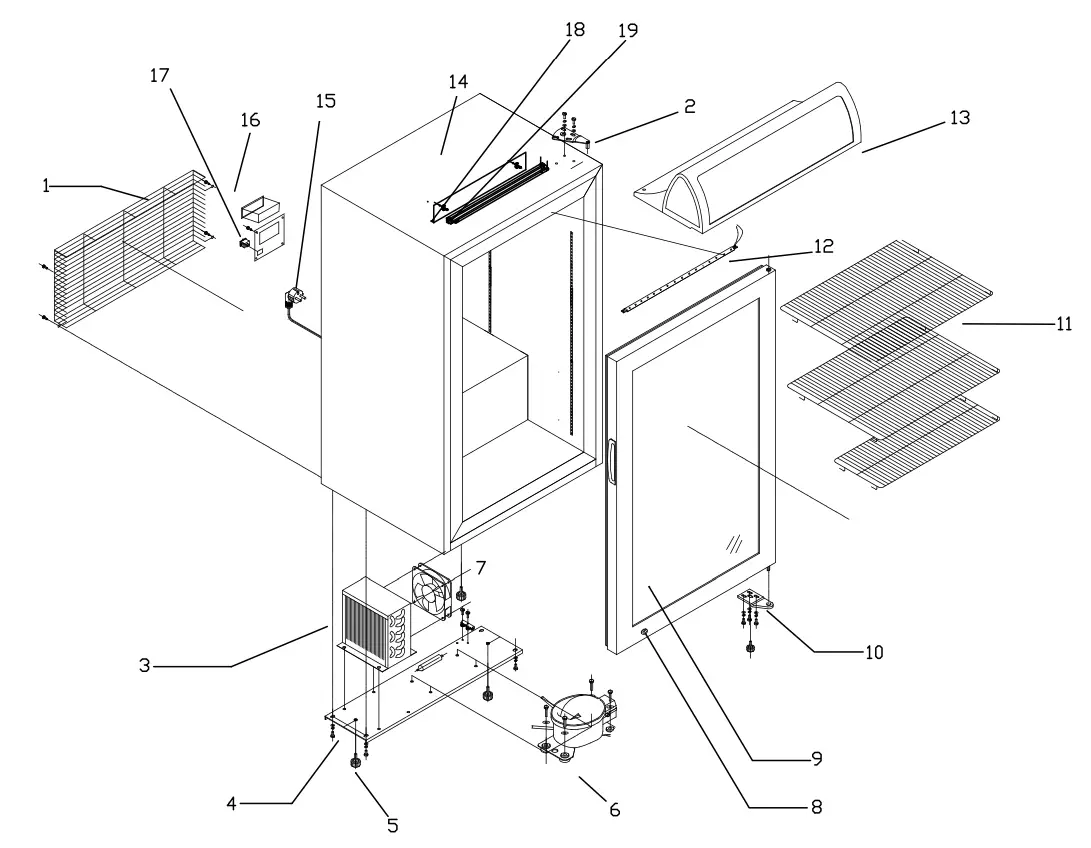
Model FR-CN-0105 47241
Model FR-CN-0105B 47242

Model FR-CN-0105 47241
| Item No. | Description | Position |
| AH263 | Top Panel for 47241 | 1 |
| AH264 | Digital Temperature Controller for 47241 | 2 |
| AH265 | On/Off Button for 47241 | 3 |
| AH266 | Back Panel for 47241 | 4 |
| AH267 | Transformer for LED for 47241 | 5 |
| AH268 | Lamp Holder for 47241 | 6 |
| AH269 | LED Tube for 47241 | 7 |
| AH270 | Case for 47241 | 8 |
| AH271 | Condenser for 47241 | 9 |
| AH272 | Inner LED Lamp for 47241 | 10 |
| AH273 | Lampshade for 47241 | 11 |
| AH274 | Evaporation Fan for 47241 | 12 |
| AH275 | Power Line for 47241 | 13 |
| AH276 | Seal Plate for Compressor Room for 47241 | 14 |
| AH277 | Base Foot for 47241 | 15 |
| AH278 | Compressor for 47241 | 16 |
| AH279 | Bottom Plate for Compressor for 47241 | 17 |
| AH280 | Filter Drier for 47241 | 18 |
| AH281 | Heat Elimination Fan for 47241 | 19 |
| AH282 | Front Bottom Panel for 47241 | 20 |
| AH283 | Connector for Front Bottom Panel for 47241 | 21 |
| AH284 | Hinge Down for 47241 | 22 |
| AH285 | Glass Door for 47241 | 23 |
| AH286 | Shelf Holder for 47241 | 24 |
| AH287 | Stand Column for 47241 | 25 |
| AH288 | Hinge Upper for 47241 | 26 |
| AH289 | Top Frame for Light Box for 47241 | 27 |
| AH290 | Lamp Plate for 47241 | 28 |
| AH291 | Shelf for 47241 | 29 |
Model FR-CN-0105B 47242
| Item No. | Description | Position |
| AH311 | Top Panel for 47242 | 1 |
| AH312 | Digital Temperature Controller for 47242 | 2 |
| AH313 | On/Off Button for 47242 | 3 |
| AH314 | Back Panel for 47242 | 4 |
| AH315 | Transformer for LED for 47242 | 5 |
| AH316 | Lamp Holder for 47242 | 6 |
| AH317 | LED Tube for 47242 | 7 |
| AH318 | Case for 47242 | 8 |
| AH319 | Condenser for 47242 | 9 |
| AH320 | Inner LED Lamp for 47242 | 10 |
| AH321 | Lampshade for 47242 | 11 |
| AH322 | Evaporation Fan for 47242 | 12 |
| AH323 | Power Line for 47242 | 13 |
| AH324 | Seal Plate for Compressor Room for 47242 | 14 |
| AH325 | Base Foot for 47242 | 15 |
| AH278 | Compressor for 47242 | 16 |
| AH327 | Bottom Plate for Compressor for 47242 | 17 |
| AH328 | Filter Drier for 47242 | 18 |
| AH329 | Heat Elimination Fan for 47242 | 19 |
| AH330 | Front Bottom Panel for 47242 | 20 |
| AH331 | Connector for Front Bottom Panel for 47242 | 21 |
| AH332 | Hinge Down for 47242 | 22 |
| AH333 | Glass Door for 47242 | 23 |
| AH334 | Shelf Holder for 47242 | 24 |
| AH335 | Stand Column for 47242 | 25 |
| AH336 | Hinge Upper for 47242 | 26 |
| AH337 | Top Frame for Light Box for 47242 | 27 |
| AH338 | Lamp Plate for 47242 | 28 |
| AH339 | Shelf for 47242 | 29 |
Model FR-CN-0098NB 47239

Model FR-CN-0098NB 47239
| Item No. | Description | Position |
| AD668 | Mesh Enclosure for 47239 | 1 |
| AC789 | Screw for 47239 | 2 |
| AC790 | Temperature Control Knob for 47239 | 3 |
| AC791 | Lamp Switch for 47239 | 4 |
| AC792 | Temperature Controller Holder for 47239 | 5 |
| AC793 | Temperature Controller for 47239 | 6 |
| AC794 | Power Line for 47239 | 7 |
| AC795 | Body for 47239 | 8 |
| AC796 | Top Hinge Box Buckle for 47239 | 9 |
| AC797 | M4 Nut for 47239 | 10 |
| AC798 | Top Hinge Box for 47239 | 11 |
| AC799 | M5 Nut for 47239 | 12 |
| AC800 | Gasket for 47239 | 13 |
| AC801 | Lock Washer for 47239 | 14 |
| AC802 | Top Hinge for 47239 | 15 |
| AC803 | Big Shelf for 47239 | 16 |
| AC804 | Small Shelf for 47239 | 17 |
| AC805 | Door Gasket for 47239 | 18 |
| AC806 | Glass Door for 47239 | 19 |
| AC807 | Hinge for 47239 | 20 |
| AC808 | Base Angle for 47239 | 21 |
| AC809 | M6 Nut for 47239 | 22 |
| AH278 | Compressor for 47239 | 23 |
| AC811 | M6 Nut for 47239 | 24 |
| AC812 | Floor Presser for 47239 | 25 |
| AC813 | M6 Nut for 47239 | 26 |
| AC814 | Lock Washers for 47239 | 27 |
| AC815 | N6 Nut for 47239 | 28 |
| AC816 | Base Angle for 47239 | 29 |
| AC817 | Condenser for 47239 | 30 |
| AC818 | Draught Fan for 47239 | 31 |
Model FR-CN-0098 44526

Model FR-CN-0098 44526
| Item No. | Description | Position |
| AH292 | Ventilation Grill for 44526 | 1 |
| AH293 | Upper Hinge for 44526 | 2 |
| AH294 | Condenser for 44526 | 3 |
| AH295 | Bottom Panel for 44526 | 4 |
| AH296 | Feet for 44526 | 5 |
| AH278 | Compressor for 44526 | 6 |
| AH298 | Fan Motor for 44526 | 7 |
| AH299 | Lock for 44526 | 8 |
| AH300 | Door for 44526 | 9 |
| AH301 | Bottom Hinge for 44526 | 10 |
| AH302 | Shelf for 44526 | 11 |
| AH303 | Light for 44526 | 12 |
| AH304 | Light Box for 44526 | 13 |
| AH305 | Cabinet for 44526 | 14 |
| AH306 | Plug for 44526 | 15 |
| AH307 | Temperature Control for 44526 | 16 |
| AH308 | On/Off Switch for 44526 | 17 |
| AH309 | Bracket for Light for 44526 | 18 |
| AH310 | Top Light for 44526 | 19 |
Electrical Schematics
Model FR-CN-0105 47241

Model FR-CN-0105B 47242

Model FR-CN-0098NB 47239

Model FR-CN-0098 44526

Warranty Registration
Thank you for purchasing an Omcan product. To register your warranty for this product, complete the information below, tear off the card at the perforation and then send to the address specified below. You can also register online by visiting:
https://omcan.com/warranty-registration/
| For mailing in Canada OMCAN PRODUCT WARRANTY REGISTRATION 3115 Pepper Mill Court, Mississauga, Ontario Canada, L5L 4X5 | For mailing in the US OMCAN PRODUCT WARRANTY REGISTRATION 4450 Witmer Industrial Estates, Unit 4, Niagara Falls, New York USA, 14305 |
or email to: [email protected]
Purchaser’s Information
Name:………….
Address:………………………..
City:………………. Province or State:………… Postal or Zip:
Country:…………..
Dealer from which Purchased:………………………
Dealer City:……………………………. Dealer Province or State:…………………..
Invoice:…………….
Model Name:…………………….. Model Number:……………….
Machine Description:……………..
Date of Purchase (MM/DD/YYYY):……………..
Would you like to extend the warranty? □Yes □ No
Company Name:………..
Telephone:…………..
Email Address:………………….
Type of Company:………………..
□ Restaurant □ Bakery □ Deli
□ Butcher □ Supermarket □ Caterer
□ Institution (specify):……………..
□ Other (specify):…………….
Serial Number:…………….
Date of Installation (MM/DD/YYYY):……………….
Thank you for choosing Omcan
Since 1951 Omcan has grown to become a leading distributor of equipment and supplies to the North American food service industry. Our success over these many years can be attributed to our commitment to strengthen and develop new and existing relationships with our valued customers and manufacturers. Today with partners in North America, Europe, Asia and South America, we continually work to improve and grow the company. We strive to offer customers exceptional value through our qualified local sales and service representatives who provide convenient access to over 6,500 globally sourced products.

Toll Free: 1-800-465-0234
Fax: 905-607-0234
Email: [email protected]
www.omcan.com
![]()
![]()
![]()


















