TUSCANY T-CF316WH.2 Chest Freezer Instruction Manual

Safety information
In the interest of your safety and to ensure the correct use, before installing and first using the appliance , read this user manual carefully, including its hints and warnings . To avoid unnecessary mistakes and accidents , it is important to ensure that all people using the appliance are thoroughly familiar with its operation and safety features. Save these instructions and make sure that they remain with the appliance if it is moved or sold, so that everyone using it through its life will be properly informed on appliance use and safety.
For the safety of life and property keep the precautions of these user’s instructions as the manufacturer is not responsible for damages caused by omission.
Children and vulnerable people safety
This appliance can be used by children aged from 8 years and above and persons with reduced physical , sensory or mental capabilities or lack of experience and knowledge if they have been given super
vision or instruction concerning use of the appliance in a cafe and understand the hazards involved.
Children should be supervised to ensure that they do not play with the appliance.
Cleaning and user maintenance shall not be made by children unless they are aged from 8 years and above and supervised.
Keep all packaging well away from children . There is risk of suffocation .
If you are discarding the appliance pull the plug out of the socket, cut the connection cable (as close to the appliance as you can) and remove the door to prevent playing children to suffer electric shock or to close themselves into it.
If this appliance featuring magnetic door seals is to replace an older appliance having a spring lock (latch) on the door or lid , be sure to make that spring lack unusable before you discard the old appliance.
This will prevent it from becoming a death trap for a child.
General safety
& WARNING! Keep ventilation openings , in the appliance enclosure or in the built-in structure, clear of obstruction.
ft WARN I NG! Do not use mechanical devices or other means to accelerate the defrosting process , other than those recommended by the manufacturer.
& WARNING! Do not damage the refrigerant circuit.
Safety information
& WARNING! Do not use other electrical appliances (such as icecream makers) inside of refrigerating appliances , unless they areapproved for this purpose by the manufacture.
Do not store explosive substances such as aerosol cans with aflammable propellant in this appliance .
The refrigerant isobutane (R600a) is contained within the refrigerantcircuit of the appliance , a natural gas with a high level ofenvironmental compatibility, which is nevertheless flammable.
During transportation and installation of the appliance, be certainthat none of the components of the refrigerant circuit become
damaged .
– avoid open flames and sources of ignition
– thoroughly ventilate the room in which the appliance is situated
It is dangerous to alter the specifications or modify this product in any way. Any damage to the cord may cause a short circuit, fire and/or electric shock.
This appliance is intended to be used in household and similar applications such as
– staff kitchen areas in shops, offices and other working environments;
– farm houses and by clients in hotels, motels and other residential type environments ;
– bed and breakfast type environments;
– catering and similar non-retail applications.
WARNING! Any electrical components(plug, power cord , compressor and etc.) must be replaced by a certified service agent or qualified service personnel.
Power cord must not be lengthened .
Make sure that the power plug is not squashed or damaged by the back of the appliance . A squashed or damaged power plug may overheat and cause a fire .
Make sure that you can come to the mains plug of the appliance.
Do not pull the mains cable.
If the power plug socket is loose , do not insert the power plug. There is a risk of electric shock or fire .
This appliance is heavy. Care should be taken when moving it.
Do not remove nor touch items from the freezer compartment if you hands are damp/wet, as this could cause skin abrasions or frost/freezer burns.
Avoid prolonged exposure of the appliance to direct sunlight.
Safety information
Daily use
Do not put hot on the plastic parts in the appliance.
Frozen food must not be re-frozen once it has been thawed out.
Store pre-packed frozen food in accordance with the frozen food manufacture-s instructions.
Appliance-s manufactures storage recommendations should be strictly adhered to. Refer to relevant instructions.
Do not place carbonated of fizzy drinks in the freezer compartment as it creates pressure on the container, which may cause it to explode, resulting in damage to the appliance. Ice lollies can cause frost burns if consumed straight from the
Overview
- External handle
- Recessed handle
- Basket
- Indicator light
- Thermostat
- Drain hole
Installation
Install door external handle (if external handle is present)
Stepl
Take out 4 screws (D and handle base@ from accessory bag.
Then fix the handle base @ with door by 4 screws (D
Step2
Step2
Insert handle cover® in the handle base @ until a click.
Step3
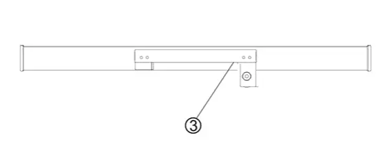
Screw lock catch @ on the freezer cabinet by anther 2 screws (D .
Note
the lock ring failed to hold the lock when installing handle, please unscrew the round head screws@on the back of door and adjust the
position of door upper and lower. Then drive the screw to fix the handl
Installation
location
The appliance should be installed well away from sources of heat such as radiators, boilers , direct sunlight etc. Ensure that air can circulate freely around the back of the cabinet. To ensure best performance, if the appliance is positioned below an overhanging wall unit, the minimum distance between the top of the cabinet and the wall unit must be at least 100 mm. Ideally, however, the appliance should not be positioned below overhanging wall units. Accurate leveling is ensured by one or more adjust-able feet at the base of the cabinet.
Warning!
It must be possible to disconnect the appliance from the mains power supp-ly; the plug must
Wtherefore be easily accessible after installation .
Electrical connection
Before plugging in , ensure that the voltage and frequency shown on the rating plate correspond to your domestic power supply. The appliance must be earthed . The power supply cable plug is provided with a contact for this purpose. If the domestic power supply socket is not earthed , connect the appliance to a separate earth in compliance with current regulations, consulting a qualified electrician .
The manufacturer declines all responsibility if the above safety precautions are not observed.
This appliance complies with the E.E.C. Directives.
Space Requirement
The folowing are recommend .
Clearances around the chest freezer
Sides·······”·”10cm
Back ··· ··· ··· ···10cm
Top ··· ……… 70cm
Positioning
Install this appliance at a location where the ambient temperature corresponds to the climate class
indicated on the rating plate of the appliance
First use
Cleaning the interior
Before using the appliance for the first time, wash the interior and all internal accessories with lukewarmwater and some neutral soap so as to remove the typical smell of a brand new product, then dry thoroughly. Important! Do not use detergents or abrasive powders , as these will damage the finish.
Temperature Setting
- The thermostat control situated on the appliance regulates the temperature.

- Position Fridge means temperature between this period is above o•c. Position Freezer means temperature between this period under 0°C.
If there is power light with your product, the POWER light on show the appliance is turned ON, light off show turned off The RUNNING light on show the compressor is operate. - Regulate the thermostat to middle of the freezer level to check on the operation before switching to higher cooling level.
NOTE: Do not turn to maximum level for a long period as this will damage the compressor and reduce the lifespan of this appliance. - Check the temperature after 4 hours. If the cooling has reached to acceptable level, you may start using the appliance.
- The temperature will be affected by:
– Room temperature;
– How often the door is opened; and
– How much food is stored - In determining the correct temperature control setting, all the above factors have to be considered and some experimentation may be required.
- Always store the hot food after it has completely cold. Never store hot items into the appliance.
- Always pack the food completely before putting into the appliance to avoid taste mixing and frosting together.
- If there is an electricity cut-off, please wait 1 O minutes before operating the appliance again to avoid damage to the compressor.
Daily use
Freezing fresh food
- The freezer compartment is suitable for freezing fresh food and storing frozen and deep-frozen food for a long time.
- Place the fresh food to be frozen in the bottom compartment.
- The maximum amount of food that can be frozen in 24 hours is specified on the rating plate.
- The freezing process lasts 24 hours: during this period do not add other food to be frozen.
Storing frozen food
When first starting-up or after a period out of use. Before putting the product in the compartment let theappliance run at least 2 hours on the higher settings.
Important! In the event of accidental defrosting, for example the power has been off for longer than the value shown in the technical characteristics chart under “rising time”, the defrosted food must be
consumed quickly or cooked immediately and then re-frozen (after cooked).
Thawing
Deep-f rozen or frozen food , prior to be used, can be thawed in a fridge compartment or at room temperatu re, depending on the time available for this operation .
Small pieces may even be cooked still frozen , directly from the freezer. In this case, cooking wil l takelonger
Helpful hints and tips
Hints for freezing
To help you make the most of the freez ing process , here are some important hints: the maximum quantity of food which can be frozen in 24 hrs. is shown on the rating plate;
the freezing process takes 24 hours. No fu rther food to be frozen shou ld be added during this period ; only freeze top quality, fresh and thoroughly cleaned , foodstuffs ; prepare food in small portions to enable it to be rapidly and completely frozen and to make it possible subsequently to thaw only the quantity requ ired; wrap up the food in aluminium foil or polythene and make sure that the packages are airtight; do not allow fresh , unfrozen food to touch food which is already frozen, thus avoiding a rise in temperatu re of the latter; lean foods store better and longer than fatty ones; salt reduces the storage life of food ; water ices, if consumed immediately after removal from the freezer compartmen t , can possibly cause the skin to be freeze burnt; it is advisable to show the freezi ng in date on each individual pack to enable you removal from the freezer compartment, can possibly cause the skin to be freeze burnt; it is advisable to show the freezing in date on each individual pack to enable you to keep tab of the storage time.
Hints for storage of frozen food
To obtain the best performance from this appliance, you should: make sure that the commercially frozen foodstuffs were adequately stored by the retailer; be sure that frozen foodstuffs are transferred from the food store to the freezer in the shortest possible time; not open the door frequently or leave it open longer than absolutely necessary.
Once defrosted, food deteriorates rapidly and cannot be refrozen .
Do not exceed the storage period indicated by the food manufacture.
Cleaning
For hygienic reasons the appliance interior, including interior accessories , should be cleaned regularly. /4\ Caution!
The appliance may not be connected to the mains during cleaning . Danger of electrical
L.D shock! Before cleaning switch the appliance off and remove the plug from the mains, or switch off or turn out the circuit breaker or fuse. Never clean the appliance with a steam cleaner. Moisture could accumulate in electrical components, danger of electrical shock! Hot vapors can lead to the damage of plastic parts. The appliance must be dry before it is placed back into service. Important! Ethereal oils and organic solvents can attack plastic parts, e.g. lemon juice or the juice form orange peel , butyric acid , cleanser that contain acetic acid.
Do not allow such substances to come into contact the appliance parts.
Do not use any abrasive cleaners
Remove the food from the freezer. Store them in a cool place, well covered.
Switch the appliance off and remove the plug from the mains, or switch off or turn out the circuit breaker of fuse.
Clean the appliance and the interior accessories with a cloth and lukewarm water. After cleaning wipe with fresh water and rub dry.
Accumulation of dust at the condenser increases energy consumption. For this reason carefully clean the condenser at the back of the appliance once a year with a soft brush or a vacuum cleaner. ‘)
After everything is dry place appliance back into service.
Defrosting of the freezer
- The freezer, however, will become progressively covered with frost. This should be removed .
Never use sharp metal tools to scrape off frost from the evaporator as you could damage it.
However, when the ice becomes very thick on the inner liner, complete defrosting should be carried out as fellows:
Unplug the unit. Remove the drain plug from the inside of the freezer. Defrosting usually takes a few hours. To defrost faster keep the freezer door open. - For draining , place a tray beneath the outer drain plug . Pull out the drain dial.

- Rotate the drain dial 180 degree. This will let the water flow out in the tray. When done, push the drain dial in. Replug the drain plug inside the freezer compartment. Note: monitor the container under the drain to avoid overflow.
- Wipe the interior of the freezer and replace the electrical plug in the electrical outlet.
Reset the temperature control to the desired setting.
Troubleshooting
Caution! Before troubleshooting, disconnect the power supply. Only a qualified electrician of
L.D competent person must do the troubleshooting that is not in this manual.
Important! There are some sounds during normal use (compressor, refrigerant circulation).
If the malfunction shows again, contact the Service Center.
These data are necessary to help you quickly and correctly. Write the necessary data here , refer to the rating plate.





























