PQL 94020 LED Tone-Select Security Lights Instruction Manual
Safety Instruction
IMPORTANT: READ CAREFULLY BEFORE INSTALLING FIXTURE. RETAIN FOR FUTURE REFERENCE.
- To reduce the risk of death, personal injury or property damage from fire, electric shock, falling parts, cuts/abrasions, and other hazards read all warnings and instructions included with and on the fixture box and all fixture labels.
- Commercial installation, service and maintenance of luminaires should be performed by a qualified licensed electrician.
- For the installation: If you are unsure about the installation or maintenance of the luminaires, consult a qualified licensed electrician and check your local electrical code.
- To prevent wiring damage or abrasion, do not expose wiring to edges of sheet metal or other sharp objects.
- Do not make or alter any open holes in an enclosure of wiring or electrical components during kit installation.
WARNING: RISK OF FIRE OR ELECTRICAL SHOCK
- This fixture must be wired in accordance with the National Electrical Code (NEC), and applicable local codes and ordinances.
- Proper grounding is required to insure personal safety. Carefully observe the correct grounding procedure under installation section.
- Make sure power off before installing or maintaining fixture.
- Check that voltage is compatible with fixture driver, use approved connectors for all electrical connections.
MAINTENANCE CAUTIONS
- Review the diagrams before beginning, and make sure the fixture is grounded properly.
- Turn the power off and wait for fixture to cool before servicing.
WARNING DISCONNECT POWER BEFORE INSTALLING OR SERVICING.
FIXTURE INSTALLATION
Installation height should not be lower than 6ft and not higher than 15ft for motion sensor to detect and work most effectively.
- Take out the lamp, remove center

- Connect the grounding wire using screw, then pull off the bottom the wire nuts. Feed the remaining cover. wires through the widest part of the slot of the circle bracket. Secure the circle to the junction box with screws.

- Pass the wires through the plastic cover. Secure the plastic cover to the circle bracket with screws. Note: Make sure both UP arrows are aligned in the same direction. To avoid wire damage do not rotate plastic cover.

- Connect AC wire correspondingly;
Black (L) = Switched
White (N) = Neutral
Green (G) =
Ground
- Choose preferred CCT using the slide switch.

- Loosen the screw on the swing arm, adjust the required light direction, then re-tighten the screw on the swing arm.

- Align the lamp body with the bottom cover, tighten the screw through the lamp body, then adjust the sensing center area.

- Apply weatherproof silicone sealant between wall and housing to ensure a weatherproof installation.

WARNING DISCONNECT POWER BEFORE INSTALLING OR SERVICING.
SENSOR SETTINGS
TIME SETTING (Fig. 1): Adjusting the time slider will set the duration of lighting time when the sensor detects movement, light will turn on and once the movement stops the light will turn off after; 10 Min., 3 Min. or 1 Min. TEST position, light will stay on for 5 Sec. (see Sensor Functions).
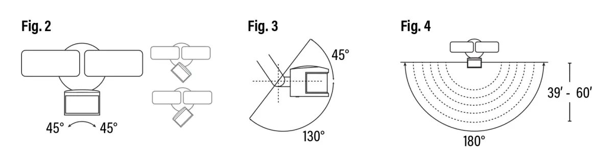
DETECTION SCOPE: Sensor can be adjusted horizontally 45° clockwise or counterclockwise (Fig. 2) and 45° up or 130° down (Fig. 3). Detection distance can change by adjusting the sensor to different angles and degrees. When set with a 5° depression angle the detection distance will be near it’s largest – 60 ft (Fig. 4). The detection distance and sensitivity will change based on the mounting height.
DISTANCE SETTING (Fig. 5): Adjusting the distance slider will set the sensitivity of the sensor to; (H) High, (M) Medium, or (L) Low. To determine detection of motion sensor walk in an arc in front of the motion sensor. Motion sensor is less sensitive directly to and from sensor and more sensitive in an arc left to right.
DUSK TO DAWN FUNCTION: Select the D2D setting on the distance slider. Lights will work when the natural daylight is less than 10 FC and auto turn off when the natural daylight is more than 30 FC. (Motion Sensor is disabled in D2D.)
MANUAL OVERRIDE: Select the TEST setting on the Time Slider (Fig./) and the D2D setting on the distance slider (Fig. 5).

SENSOR FUNCTIONS
- MOTION SENSOR MODE (DISTANCE = H/M/L & TIME = TEST) – in this setting, only the motion sensor is working, light is ON when activity or motion is detected during both day and night. This setting is usually for testing the fixture after installation.
- NORMAL LIGHT MODE (ON/OFF) (DISTANCE = D2D & TIME = TEST) – in this setting, the fixture works as a normal light fixture; without light or motion sensing.
- DUSK TO DAWN MODE (D2D) (DISTANCE = D2D & TIME = 1/3/10 Min.) – in this setting, the fixture is in D2D mode, only the light sensor is working. The lights will turn on at night (Natural daylight <10 FC) and the lights will auto shut off completely during the day (Natural daylight >30 FC), fixture will not be affected by activity or motion.
- LIGHT & MOTION SENSOR MODE (DISTANCE = H/M/L & TIME = 1/3/10 Min.) – in this setting, the light and motion sensor work together. Light sensor is prioritized, only when the natural daylight is <10 FC, the motion sensor is working. The lights turn on at night (Natural daylight <10 FC) when activity/motion is detected. After the time period expires and no motion has been sensed, the light shuts off completely (until it senses motion again, while it is still low natural daylight levels). The light auto shuts off completely at day (Natural daylight >30 FC).
MAINTENANCE
- Dampen a soft cloth with water to keep fixture and sensor area clean.
- Do not use paints, solvents or other harsh chemicals on the sensor.
- Do not spray the sensor with a hose or power washer.
TROUBLESHOOTING
Load does not work:
- Check power source, the load is correct and good.
- Check the settings of the working light corresponds to the Natural daylight
Sensitivity is poor:
- Check to make sure nothing is blocking the detector
- Check if the installation height corresponds to the height required in the instructions.
- D2D disables motion sensing.
- Check if ambient temperature is too high.
- Make the sure the signal source is in the detection field.
Sensor does not shut off automatically:
- Check if there is a continual signal in detection field.
- Is the time delay set to the maximum position.
- Check if the power corresponds to the instructions.
PREMIUM QUALITY LIGHTING® • www.PQLighting.com © P.Q.L., Inc. • 2285 Ward Avenue • Simi Valley, CA 93065 • 800-323-8107
Specifications subject to change without notice. Photos and line drawings may not be to scale and are for general reference only.



























