POWERPATCH Pro Jolt Technology Jump Starter

Read the user manual carefully and use the PowerPatch Pro Jolt Technology Jump Starter based on the manuals Instructions for safe, convenient use of this device.
GENERAL INFORMATION
This product is capable of starting most 12V gasoline engines up to 4.0L engine (diesel up to 2.0L). It can also be additional power pack for your electronic devices. It has 1 car battery clamp socket(12V), 1 USB output(5V/2.1A) and a flash light.
PRODUCT SPECIFICATIONS
- Output voltage: 12V
- Peak capacity: 7500mAh/27.75Wh
- Dimensions: 132(L)x76(W)x25.5(H)mm
- Input charging ports: 5V/9V-2A
- Output ports: USB 5V/2.1A
- Start Current: 200A
- Peak Current: 400A
- Cycle life: 1000 cycles © 80 depth of discharge
- Application temperature range: -20°C to +70°C. Cell performance may degrade at low temperature.
- Charging times- Wall Charger: 3.5h~4.5h
GENERAL INFORMATION
- Do not damage, drop or crush this item. Do not attempt to use this item or battery charger if it has been dropped, puncUired. run over or damaged In anyway.
- Do not charge tills item in wet conditions (rain, snowv damp). Do not use this product in explosive environments (dust, gaseous fumes, or flammable materials).
- Do not bum or incinerate this product. it may explode, causing personal Injury or damage. Tbxlc fumes and other potentially harmful materials are created when the battery is burned.
- Do not disassemble this product, It may result in risk of fire, electric shock or exposure to battery chemicals.
- Do not Insert foreign objects Into ANY Input or output ports. This Item may short circuit. Any metal that comes in contact with the jumper cable port may short circuit, Short circuiting this product will damage the battery and may cause personal injury or fire.
- This is a Lithium ion battery. In the unlikely event that this product leaks battery chemicals, do not allow contact with skin, eyes ar mouth as it may cause personal injury or bums. If skin is exposed to battery chemicals, wash with soap and water and rinse with vinegar. If your eyes come in contact with battery chemicals, immediately flush with water and then see a medical professional.
- When recharging this item, make sure the area is well ventilated. Do not smoke or allow open flames near a charging battery;
- Never jump start a frozen battery;
- Never reversely connect the red & black clamps when the original car batteiy has been removed, or the car might be compromised.
- Keep the product away from and out of reach of children.
- Store this unit in a coal dry location. Do not expose the product to temperatures over 70°C or below -20°C.
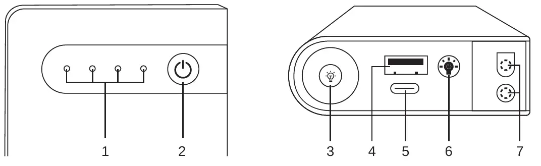
PRODUCT OVERVIEW

- Power lamp
- Power ON/OFF
- Flashlight
- USB Output 5V/2.1A
- Type-C Input 5/9V-2AJump
- Flashlight button
- Battery terminal socket for the car start
PACKAGE CONTENTS

SMART JUMPER CABLE SAFETY FEATURES
- Reverse polarity connection: Solid Red LED with 2 quick short beeps.
- Short-circuit protection: Solid Red LED with long beep (Beeping at a 3. 3Hz Frequency).
- Over-heat protection: Solid red LED with long beep (Beeping at a 2Hz Frequency).
- Over-charging protection: Solid red LED with 2 quick short beeps.
- Green/Red LED flashing: Searching for status of connection.
- Green Led: Correct connection after one beep
Please ensure the indicator light is green before attempting to start the vehicle. If it is not green and/or you hear a beeping sound, please refer to below possible issues

Tips & Tricks
If the indicator light flashes red and green, you can long press the button for 3 seconds until your hear a beep and the light on the other side turns green
Jump Starting Vehicles
Before attempting to jump start your vehicle, please read your vehicle’s owner manual to ensure there are no specific steps needed. DO NOT crank the engine for more than 4 continuous seconds while the unit is connected to the battery. If the engine fails to crank or start, there may be a problem other than a discharged battery.

ELECTRONIC DEVICE CHARGING
For mobile phones/tablets/other electronic devices
- 1st step: Choose USB data cable
- 2nd step: Plug in the USB charging cable to start In the USB interface of the power supply;
- 3rd step: Connect the charging cable to the mobile phone port to charge

INPUT
Charge product equipment
- 1st step: Choose a suitable power adapter;
- 2nd step: Plug one end of the data cable into the boot In the input interface of the power supply;
- 3rd step: Insert the plug into the household 220V/110V socket, and then charge

Charge product equipment

- To turn on the flashlight, press and hold
for 3 seconds. - Press
again to shift to SOS, flashlighing. - Press
again to turn off the flashlighing
TROUBLESHOOTING
| Problem | Cause | Solution |
| No response when pressing the push button. | Lowvottage protection actuated. | Charge the unit with AC Adapter or car charger fio deactivate the protection. |
| Jump start shuts down automatically when charging multiple electronics devices simultaneously. | Over current protection of jump start is activated. | Charge the electronic devices separately using other USB outlets, but keep the total output current within 3.5A |
WARRANTY
Limited Lifetime Warranty
Your PowerPatch product is backed by a limited lifetime manufacturer’s warranty. PowerPatch will repair or replace your device at any time should it fail due to a defect in material or workmanship, subject to the certain limitations. This limited warranty does not cover any damage that results from unauthorized or improper use, service, or repair. Further, it does not cover damage caused by accident, impact, negligence, or normal wear and tear. Should you discover your PowerPatch product is not functioning properly, please send your device to our repair center for evaluation. If your product cannot be repaired or serviced, we will reserve the right to change it for a similar or newer model.
Please note that a flat rate of $35.00 will be charged to cover a service evaluation fee and return shipping of your device. All warranty claims must be accompanied by a copy of your proof of purchase from an authorized retailer. Please send your device, proof of purchase, and a check or money order in the amount of $35.00 made out to PowerPatch to:
Address:
PowerPatch Service Center 3069 Taft Street Hollywood, FL 33021
Contact:
[email protected]




















