TACKLIFE T8 Pro Jump Starter
Thank you for choosing TACKLIFE T8 Pro smart car jump starter. Please read the user manual carefully before using and keep it for further reference.
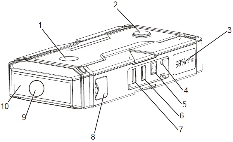
PARTS AND FUNCTIONAL DESCRIPTION

- Power Button
- Compass
- LCD Screen
- 15V/1A Input
- 12V/10A Output
- 5V/2.1A Output
- Quick Charge Output
- 12V Smart Jumper Socket
- LED Flashlight (Stable/Strobe/SOS)
- Emergency Light

LCD SCREEN DISPLAY
Press the power button, the LCD screen will show the remaining power of the T8 Pro. When it is fully recharged, it will show 100%,while XX %indicates there is XX% power left. The product is being charged when LCD screen shows “IN”. The LCD screen will show “OUT” when the 5V/9V quick charge or 12V output is being used.
Steps To Charge The T8 Pro
- Plug the wall charger into the universal socket.
- Plug the end of the wall charger into the 15V input port of T8 Pro.
OR
- Plug the car charger into the socket of cigarette lighter.
- Plug the end of the car charger into 15V input port of T8 Pro.

How To Jump Start 12V Vehicles
Firstly, plug the blue end of the jump clamps into the host of T8 Pro. Secondly, connect the jump clamps with the car battery, red to positive (+) battery terminal and black to negative (-). Then operate with the following instruction:
| Graphic | Green Light | Red Light | Reason/Solutions |
![]() | ON | OFF | The connection is correct, ready to start your car. |
![]() | Blinking | OFF | The power of the car battery is too low or the car battery is totally dead. Press “BOOST” button, the green light will turn on then start the engine in 30 seconds. |
| OFF | OFF | ||
![]() | OFF | ON | The internal battery is too hot, allow the unit to cool / The T8 pro is at low power capacity / Please connect tightly the unit and clamps again. |
![]() | OFF | Blinking | Overcurrent protection, wait for at least 30 seconds. |
| Blinking | Blinking | Temperature protection initiates, wait 10 mins resume automatically. | |
![]() | Red light on with Buzzing | Reverse the battery connections, please reconnect the poles correctly until the green light on. | |
- Make sure all of the connections right and then start the engine.
- Once you have started your engine, disconnect the clamps, and remove the T8 pro.
Use T8 Pro To Charge Your Cell Phone And Tablet.
- Plug the USB cable into the USB quick charge output of the device.
- Connect the Micro-USB end with your cell phone or tablet.
- Push the power button, the device will charge your cell phone or tablet.

Use T8 Pro To Power The Other Car Equipments.
- Plug the cigarette adapter into the 12V/10A output of the device.
- Connect the power cable of the other 12V car equipments with the cigarette adapter.
- Press the power button to power the other 12V vehicle equipments.
LED Flash Light Instructions
- Hold the power button for a few minutes to turn on the flash light. Press one more time to change the modes from Stable, Strobe, SOS to OFF.
- Press the power button twice quickly to turn on the red emergency light. Press one more time to turn it OFF.
PART LIST
| No. | Content name | Quantity | No. | Content name | Quantity |
| 1 | T8 Pro | 1 | 6 | Type-C Cable | 1 |
| 2 | Smart Jumper Cable | 1 | 7 | Cigarette Lighter Adapter | 1 |
| 3 | Wall Charger | 1 | 8 | EVA Storage Case | 1 |
| 4 | Car Charger | 1 | 9 | User Manual | 1 |
| 5 | USB Cable | 1 | 10 | Warranty Card | 1 |
TECHNICAL SPECIFICATION
- Model: T8 Pro
- Size: 185*87*40mm
- Weight: 550g
- Battery Capacity: 18000mAh (66.6Wh)
- Output: 5V/9V Quick Charge; 5V/2.1A; 12V/10A; 12V Jumper Socket
- Input: 15V/1A
- Full Charging Time: 4.5h
- Starting Current: 500A (3s), 300A (5s)
- Peak Current: 1200A
- Waterproof Level: IP65
- Working Temperature: -20℃~ 60℃
FAQ:
How to turn off the device?
This device is equipped with intelligent detection system and will shut down automatically in 30 seconds once there is no load or it is fully charged.
How long will it take before the device is fully charged?
It will take about 4.5 hours with the 15V/1A wall charger.
How many times can T8 Pro charge the cell phone?
It depends on the capacity of your cell phone. Taking iPhone 6 as an example, T8 Pro can charge it about 7 times.
How many times can this device jump start a vehicle when it is fully charged.
It can jump start the vehicle about 25 times.
What is the lifetime of T8 Pro?
About 3-5 years in general condition.
How long can T8 Pro hold a charge?
With scientific circuit design, can T8 Pro hold charge up to 12 months. But in order to extend the service life of the lithium battery, we suggest to charge it every three months.
F. TROUBLE SHOOTING
If the following operations can not solve your problems, please stop using the device and contact the manufacturer with E-mail: [email protected].
| Problem | Reason | Solution |
| Nothing happens | The voltage of T8 Pro is | Plug the wall |
| when press the | really low and trigger the | charger into the |
| power button. | low power protection to shut down the device. | T8 Pro to recharge it. |
G. COMPOSITIONS AND AMOUNT OF TOXIC AND HARMFUL SUBSTANCES IN T8 Pro
| TOXIC AND HARMFUL SUBSTANCES | |||||
| Pb | Hg | Cd | Cr(Vi) | PBB | PBDE |
| O | O | O | O | O | O |
| O:Indicate all homogeneous materials’hazardous substances content are below the MCV limit specified in the Standard 2002/95/EC(RoHs). | |||||
WARNING
- Read the instruction carefully before using the device.
- Leave the device far from children.
- Do not place the product in an environment where the tempera-ture exceeds 60℃.
- Do not shower dip the product in water.
- Do not place the product in an extremely hot environment or fire. Do not operate the product in an explosive environment, such as in the flammable liquids, gases or dust environment.
- Do not use the device as a toy.
- Do not use this device for charging a car.
- Do not drop the product. If the product is impacted or damaged, it must be repaired by a qualified technician.
- Do not use damaged or modified battery packs. Damage or modification of batteries may have unpredictable consequences, increasing the risk of fire, explosion, and injury.
- To reduce the risk, keep away from children when using the device.
- Make sure someone is nearby nearby when you are using the device.
- Please remove metal accessories such as rings, bracelets and necklaces before using the product to prevent the metal from falling into the hole and cause short circuit.
- Please make sure that the power is above 75% when you use it to start your car.
- The product is only suitable for starting 12V gasoline and diesel vehicles. It may be dangerous if used for other purposes. Do not use it on equipment such as airplanes and ships.
- This device can not power all 12V automotive products. Current-ly, it can only power some small automotive electronics, such as portable tire air pumps.
- Please ensure that the blue end of the smart jump clamps is fully inserted into the product 12V car start port when you use it to start your car, otherwise the blue end may melt.
- Please use the jump clamps which comes with the device only. When the battery clip or wire is damaged, please stop using it to avoid personal injury such as fire and electric shock.
- Do not use the clamps to power other equipment.
- Before starting, make sure there is no rust and foreign matter at the interface, and tightly connect the device with the jump clamps. Non-tight connection will affect the starting performance of the device.
- Do not use the device to start the car while it is being charging.
- Do not use the device to continuously start the car more than 3 times.It may cause the product to overheat and damage the product. Each starting should be separated by two minutes.
- After successfully starting, please remove the product from the car battery within 30s, otherwise it may cause damage.
- Do not charge the device immediately after use it to start the car successfully.
- Please charge it in the environment temperature between 0℃~45℃.
- Please use the comes with wall charger or the same specification charger to charge the device.
- In extreme cases, the battery may leak. Do not touch the liquid directly with your hands or skin. If you accidentally touch it, rinse it off immediately with soap and water.
- If you accidentally get into your eyes, rinse your eyes with cold water for at least 10 minutes and seek medical attention immediately.
- If the product battery leaks, please recycle it with the appropriate equipment immediately.
- Lithium battery based products should be disposed according to local regulationsat at the end of the product’s life.
WARRANTY
The Warranty of this product is covered by TACKLIFE. At TACKLIFE, we aim to manufacture the best products that inspire our consumers to live a more convenient, secure lifestyle.
We provide 2-year Warranty and lifetime technical support. If you need help, please contact us at any time, we will help you solve the problem within 24 hours.
Contact us: [email protected]
Website: www.tacklifetools.com
Facebook: www.facebook.com/AutoTacklife




























