AstroAI AHET118GY Multi-Function Jump Starter
Thank you for purchasing the AstroAI Multifunctional Car Jump Starter. This Jump Starter is designed to help you start your car in an emergency. This must-have tool provides an emergency power bank, flashlight, and other USB devices function, one of the must-have tools for outdoors. We hope you enjoy your new car jump starter! Questions or Concerns? You are welcome to contact us with your questions via [email protected].Please fully read and understand this manual before using this product and keep this manual for future reference.
SAFETY INSTRUCTIONS
- Please read the instructions carefully before using the product.
- This product is not a toy. Incorrect usage may cause injuries and accidents.
- This product cannot be used as a car battery.
- Do not use the red clamp to connect the black clamp.
- Keep out reach of children.
- Do not use the car jump starter to start your car while the car jump starter is charging.
- Do not place the product in a hot environment or direct flames.
- Please do not soak the product in water or expose it to the rain.
- Do not modify and disassemble the product. Product repair work requires professional technicians.
- Do not operate the product in a dangerous environment or around flammable liquid, gas, or dust.
- Use the attached jumper clamps only. Do not use the jumper clamps if the jumper clamps are damaged or if the cables are damaged.
- Compatible with 12V vehicles only. Inappropriate usage may cause accidents or injuries.
- lease do not use it on non-12V appliances, such as airplanes, 24V vehicles/yachts.
- Ensure the connectors are clean and the jumper clamps are undamaged before start your car. The performance may weaken if the battery socket is dirty.
- Ensure the blue plug is inserted into the socket entirely, or it may burn.• Ensure the battery life exceeds 60% before you start your car.
- Take off any metal accessories, such as rings, bracelets, necklaces, before you operate the product.
- Do not jump-start your car continuously; doing so may cause the jump starter to overheat and damage the product. Allow a 30-second interval between continuous operations to avoid overheating the product.
- Remove the product from the vehicle battery within 30 seconds of jump-starting your car. If not, this could lead to damage.
- Ensure someone is within range to hear your voice or close enough to come to your aid when working with batteries.
- Do not drop/toss the product. If the product is hit or damaged, it needs a qualified battery technician to test it.
- Do not place the product at the temperature above
- 0°C/158° F environments.
- Please charge this product at room temperature between 0°C/32° F and 45°C/113° F.
- Recycle the product immediately when the product’s liquid leaks.
- The battery may leak under extreme conditions. Do not touch the leaked liquid without protective gloves.
- f your skin contacts the liquid, use soap and water to wash it immediately.
- f your eyes contacted the liquid, please use water to wash it for at least 10 minutes and see a doctor immediately.
- You may dispose of the lithium battery when its service life has ended, according to local guidelines.
Diagram
- Flashlight button
- Jumpstart socket
- Power button
- LCD screen
- BOOST
- CHARGING
- Compass
- 12V 1 QA output port
- Quick charge output port
- SV 2.4A output port
- Charge input port
- LED flashlight

SIZE DESCRIPTION
FEATURES
- Big LCD screen: Clearly displays battery level, charging modes, flashlight status, and low battery warnings, etc.
- Large capacity: The product provides 2000 Amps peak current to start 12V cars, SUVs, vans, or trunks battery 30 times. The product can be used as a power bank (18000mAh capacity) to charge your phone (5V/9V).This product can also be used as a compact portable 12V/1 QA DC power source for 12V car accessories, e.g., car freezers, air compressors, and so on.
- Multi-functional:The product is equipped with a super bright LED, which also can be used as a flashlight in an emergency. The red light can be used to indicate danger, strobe, SOS signal and includes a built-in compass. Press the Flashlight button to choose illumination, strobe, SOS, red warning light. Multi-protection: Eight smart-protection functions are included, reverse polarity protection, reverse charge protection, overcharge protection, reverse connection protection, short circuit protection, over-discharge protection, over current protection, overheat protection. In cold boot testing, you can judge the polarity connection by connecting the product and car battery with the jumper clamps without turn on the product. If the jumper clamps are connected incorrectly, the product will beep, and the Reversed indicator lights will light up.
- Ultra-low self-consumption: Only micro-ampere level consumption of the product self-consuming(self-consuming refers without any output). The product retains the 9S% battery level for 12 months when not in use.
INSTRUCTIONS
- REGULAR MODE
- Insert jumper cables into the jumping socket, and connect the product with the car battery.
- JUMPSTART READY’ displays on the screen.
- Start the engine of your car.
- Remove the jumper cables after the car started successfully.

- BOOST MODE
If your car battery has a low battery level or is damaged, you can adapt the Boost mode to your needs.- Insert jumper cables into the jumping socket, connect the product with the car battery. Press and hold the Boost button for 2-3 seconds until a 30- second countdown appears on the screen.
- Start the engine of your car.
- Remove the jumper cables after the car has started successfully.

- Ensure the jumper cables are connected correctly, and the battery level is above 20%. Press and hold the Boost button for 2-3 seconds until a 30- second countdown appears on the screen.
- Please attempt to start the engine within the 30-second timeframe.
- USB-A Output
- Connect the load with the USB-A port.
- Press any button to turn on the jump starter.

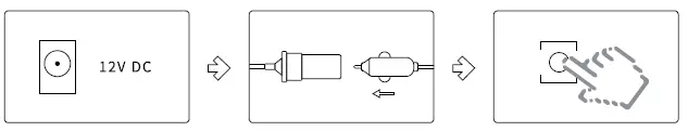
- 12V DC Output (MAX 12V/1 QA)
- Insert the 12V cigarette adapter into the 12V DC output port.
- Connect the 12V DC load to the cigarette adapter.
- Press any button to start the jump starter.

- LED flashlight
- Press the flashlight button to turn on the light when in power-on status.
- Short-press the flashlight button to switch the flashlight modes.Illumination-Strobe-SOS-Red warning light-Turn off
- Battery display & charging
- Press any button, and the screen will display the battery level.
- The screen will display ‘BATTERY LOW RECHARGE’ when the battery level is 20% or less; if so, please charge the product immediately.

- The screen will display the battery level in real-time. When the product is charged fully, ‘100%’ will be displayed on the screen.

SPECIFICATIONS
| Model | AHET118GY |
| Capacity | 18000mAh |
| Output | Quick charge(SV,..,..,3A,9V,..,..,2A); SV,..,..,2.4A;12V,..,..,10A;12V Jump starting |
| Input | Quick charge(SV,..,..,2A, gy,..,..,2A) |
| Fully charged time | Around 4 hours |
| Jumpstart current | 500 A (1s) 300 A (3s) |
| Peak current | 2000A(Peak) |
| Operation temperature | -20° C-60° C(-4° F-140° F) |
Q/A
Q: Can I use the product to jump-start a car with a low battery?
A: Yes. When you get a low-level battery or dead battery,please press the BOOST button to jump-start your car.
Q: How to turn on/off the product?
A: Press any button to turn on the product. The product will auto-shut when it detects no load connected for saving the battery.Press and hold the switch button for 2-3 seconds to turn off the product.
Q: How long will it take to charge the battery to total capacity?
A: Around 4 hours to charge the battery fully by the quick charge input.
Q: How many times can I charge my phone with this product?
A: It depends on your battery capacity. Take the iPhone 12 for an example; it can charge the iPhone 12 fully four times.
Q: How many times can I jump-start my car?
A: With a fully charged battery, and a 25°C±5°C/77° F±9° F operation environment, you can jump-start your car for 30 times approximately.
Q: How long does this product last?
A: 3-5 years for regular use.
Q: How long can the product be idle at fully charged?
A: The product adopts a low-consuming design. It is available to idle the product for 6-12 months.To extend the product’s service life, you may charge the product fully after use and charge it every three months.
TROUBLE-SHOOTING
| Problem | Reason | Solution |
| Reverse indicator lighting with beep sound | The polarity of the battery connected wrongly | Exchange the jumper cables, and ensure the Reverse indicator is light off |
| ‘Press boost button’ will be displayed on the screen | The car battery with low voltage or damaged | Press and hold the Boost button for 2-3 seconds to jump-start the car |
| No response when you press any button or ‘Battery low recharge’ displayed on the screen | Insufficient power of the product | Charge it as soon as possible |
PACKAGE INCLUDES
- Jump starter x 1
- Jumper cables x 1
- Cigarette adapter x 1
- USB-A to
- Type-C cable x 1
WARRANTY PERIOD
2-Year Warranty LimitedEach AstroAI Jumpstarter will be free from defects in material and craft. This warranty does not cover damage from neglect, misuse, contamination, alteration, accident, or abnormal conditions of operation or handling. This warranty covers the original purchaser only and is not transferable.
Questions or Concerns? You are welcome to contact us with your questions via [email protected]. AstroAI always wants to provide our customers with excellent products as well as customer service. To know more about us, please visit www. astroai.com.
AstroAI AHET118GY Multi-Function Jump Starter



























