1542A-SP Series Gas Engine Driven Self Priming Centrifugal Pump

Product Information
The Hypro Self-Priming Centrifugal Pumps are high-capacity pumps designed for liquid transfer jobs. They are suitable for transferring water, liquid fertilizers, and other compatible chemicals. The self-priming feature makes it ideal for de-watering applications. There are three models available: 1542A-SP, 1543A-SP, and 1543A-TSP. The pumps are gas engine-driven, self-priming centrifugal pumps with close-coupled design. The PowerProTM engine powers the pump, which can handle up to 1-inch solids. The max flow rates vary from 147 GPM to 272 GPM, max total head ranges from 100 FT to 115 FT, and the max suction lift is up to 28 FT.
General Safety Information
It is important to note that the pump should not be used for pumping flammable or explosive fluids such as gasoline or fuel oil.
The pump should only be used with liquids compatible with pump component materials. The pump must not be used in explosive atmospheres.
Product Usage Instructions
- Before using the pump, ensure that the liquid to be pumped is compatible with the pump component materials.
- Ensure that all connections are tight and secure before starting the pump.
- Secure the discharge lines before starting the pump to prevent unsecured lines from whipping and causing personal injury and/or property damage.
- Check hose for weak or worn condition before each use.
- Perform routine maintenance as required. Periodically inspect the pump and system components.
- Drain all liquids from the system and flush before servicing the pump or engine.
- Protect pump from freezing conditions by draining liquid and pumping a permanent-type automobile antifreeze containing a rust inhibitor through the system, coating the pump interior. A 50% mixture with water is recommended.
- Do not operate a gasoline engine in an enclosed area. Be sure the area is well ventilated.
- Never touch or fill a hot engine as gasoline is a highly combustible fuel.
Description
Hypro Self-Priming Centrifugal Pumps handle big, high-capacity, liquid transfer jobs with ease. Use them for transferring water, liquid fertilizers, and other chemicals compatible with pump materials. Make short work of other farm jobs: filling nurse tanks, watering seedbeds, and transferring liquids. This self-priming model makes it ideal for de-watering applications.
1542A-SP
Close-Coupled, Gas Engine-Driven Self-Priming Centrifugal Pump
- Max Flow Rate: ……………………….147 GPM
- Max. Pressure: …………………………..50 PSI
- Max. Total Head …………………………115 FT.
- Max. Suction Lift: …………………………28 FT.
- Ports: ………………………………….2″ BSP Inlet 2″ BSP Outlet
- Engine ……………………….PowerPro™ 5.5 HP
Close-Coupled, Gas Engine-Driven Self-Priming Centrifugal Pump
- Max Flow Rate: ……………………….259 GPM
- Max. Pressure: …………………………..43 PSI
- Max. Total Head …………………………100 FT.
- Max. Suction Lift: …………………………28 FT.
- Ports: ………………………………….3″ BSP Inlet 3″ BSP Outlet
- Engine ……………………….PowerPro™ 6.5 HP
1543A-TSP
Close-Coupled, Gas Engine-Driven Self-Priming Centrifugal Trash Pump
- Max Flow Rate: ……………………..272 GPM
- Max. Pressure: …………………………50 PSI,
- Max. Total Head …………………………115 FT.
- Max Suction Lift: …………………………28 FT.
- Ports:………………………………….3″ BSP Inlet 3″ BSP Outlet
- Engine……………………….PowerPro™ 6.5 HP
- Max dia. ………………………………….1” solids
Safety Information
WARNING: Do not pump flammable or explosive fluids such as gasoline, fuel oil, kerosene, etc. Do not use in explosive atmospheres. The pump should be used only with liquids that are compatible with the pump component materials. Failure to follow this warning can result in personal injury and/or property damage and will void the product warranty.
- DO NOT EXCEED recommended speed, pressure and temperature (140˚ F) for pump and equipment being used.
- BEFORE SERVICING, drain all liquids from the system and flush. Remove the spark plug wire from the spark plug before servicing the pump or engine.
- Secure the discharge lines before starting the pump. An unsecured line may whip, causing personal injury and/or property damage.
- Check hose for weak or worn condition before each use. Make certain that all connections are tight and secure.
- Periodically inspect the pump and the system components. Perform routine maintenance as required (see Maintenance section).
- Protect pump from freezing conditions by draining liquid and pumping a permanent-type automobile antifreeze containing a rust inhibitor through the system, coating the pump interior. A 50% mixture with water is recommended.
- Do not operate a gasoline engine in an enclosed area. Be sure the area is well ventilated.
WARNING: Gasoline is a highly combustible fuel. The improper use, handling, or storage of gasoline can be dangerous. Never touch or fill a hot engine. - Use only pipe, hose and fittings rated for the maximum psi rating of the pump.
- Do not use these pumps for pumping water or other liquids for human or animal consumption.
Hazardous Substance Alert
- Please Note: It is illegal to ship or transport any hazardous chemicals without United States Environmental Protection Agency Licensing.
- Always drain and flush pumps before servicing or disassembling for any reason.
- Before returning unit for repair, drain out all liquids and flush unit with neutralizing liquid. Then, drain the pump. Attach a tag or include a written notice certifying that this has been done.
- Never store pumps containing hazardous chemicals.
Plumbing Installation
Preliminary to Mounting
Before setting up the pump for operation, check to see that the motor and pump turn freely by hand. If it cannot be turned over by pulling on the recoil starter, open casing to check for obstructions lodged in pump.
Selecting the Suction Line
To get full capacity of the pump, the suction line should be the same size as the pump suction port. If suction hose is longer than approximately 6 feet, use next size larger hose. The suction line must be free of air leaks. All joints and connections of the suction line must be tightened securely so that no additional air may enter the suction side through a loose connection. Use a good grade of suction hose that will not collapse.
Basket Strainer
The basket strainer supplied with this pump is to be used when transferring solutions that may contain debris and solids which could become lodged in the pump or damage the impeller. Because of the high flow capacity of this pump, unknown debris could be siphoned off the bottom of the tank. Install the strainer on the suction side of the pump whenever possible to avoid pump damage.

Operation and Maintenance
Preparations before Starting the Engine
- Fuel: Check fuel level in tank. Do not over fill tank. Use fresh, clean automotive fuel. Note: DO NOT FILL FUEL TANK WHEN ENGINE IS RUNNING.
- Engine Oil: Before checking or refilling with engine oil, make sure the engine is stopped and placed on a stable, level surface. Use oil recommended for ambient air temperatures that the engine will be running at. See chart below. Change oil according to manufacturer’s recommendation. (Once after the first 20 hours and every 100 hours thereafter.)
Air Temperature Single-grade Oil 85° F #40W 60° F #30W 32° F #20W - Priming Water: IMPORTANT: PUMP MUST NOT BE RUN DRY. On self-priming pumps, only the chamber needs to be filled with liquid. The pump must not run unless the priming chamber is completely filled with liquid because there is a danger of damaging the mechanical seal, which depends on the liquid for its lubrication.
Self-priming models can be primed by removing the filler cap, located at the top of the pump where the discharge line is mounted to the pump, and filling the priming chamber with liquid. The priming chamber will fill to the level of the inlet port. After use, the priming chamber should be flushed and drained to avoid chemical corrosion and damage from freezing. Drain by removing the lower drain plug located at the bottom of the casing.
Starting the Pump
IMPORTANT: Before starting engine, be sure the priming chamber is filled with liquid and the discharge hose is secure.
- Turn engine switch located by recoil starter to ON position.
- Turn the fuel cock to ON.
- Push the throttle lever to a slightly open position.
- Operation of choke lever.
When engine is cold:
In cold weather, start engine with choke in fully closed position.
In warm weather, start engine with choke in half-closed position.
When engine is warm:
Start engine with choke in fully open position. - Start engine by pulling recoil starter out quickly and forcefully. Repeat pulling until the engine starts.
Operation of the Pump
- Idle the engine for 3 to 5 minutes to warm it up.
- Open the throttle lever to the upper zone after engine has warmed up.
- Once the pump has primed, you will note a load on the engine; adjust rpms to proper speed for your pumping application.
Stopping the Pump
- Stop pump for a short time:
Run engine throttled all the way down (fully to the right). Turn engine switch to OFF position. - Stopping pump for storage:
Turn fuel cock to OFF position instead of turning the engine switch off.
Let the engine idle for 2 to 3 minutes until fuel in carburetor is depleted and engine stops. If a valve is installed on the discharge hose, you may run pump with valve closed during this procedure.
Note: Pump must not be run dry. Make sure there is water in the priming chamber.
Storage
- Drain pump. Flush Pump after Use.
One of the most common causes for faulty pump performance is gumming or corrosion inside the pump. Flush the pump and entire system with a solution that will chemically neutralize the liquid pumped. Mix according to the manufacturer’s directions. This will dissolve most residues remaining in the pump, leaving the inside of the pump clean and ready for use.
To Prevent Corrosion:
After cleaning the pump as directed above, flush it with permanent-type automotive antifreeze (Prestone, Zerex, etc.) containing a rust inhibitor. Use a 50%solution; half antifreeze and half water, or fill the pump with FLUID FILM and drain it. A protective coating of FLUID FILM will remain on the inner pump surfaces. Save the excess FLUID FILM for the next application. Plug ports to keep out air during storage. For short periods of idleness, noncorrosive liquids may be left in the pump, BUT AIR MUST BE KEPT OUT. Plug the ports or seal port connections. - Drain all the fuel from the fuel tank, fuel lines, and filter.
- Store pump in a clean, dry environment.
Repair Instructions
Always flush pump with water or neutralizing agent before servicing.
Pump Housing Disassembly
For this pump model, seal replacement requires that the pump be fully removed from the engine. Observe carefully the disassembly process, (orientation and order of part assembly) to ensure an easy assembly process.
- Pull spark plug wire off spark plug for safety considerations. Remove the four bolts holding the casing to the casing cover and frame using a 14mm socket wrench. Tap pump casing on the discharge port with a rubber hammer, if necessary, to break it loose from the casing cover. Check inside pump casing. If badly eroded or damaged, pump casing should be replaced. Remove O-rings from casing cover and volute.

- Remove volute and inspect for wear. Replace if eroded.
- Remove impeller by turning it counterclockwise using a socket and impact wrench. If an impact wrench is not available, it may be necessary to hold the crankshaft from turning. To keep the crankshaft from turning during disassembly, remove the three bolts holding the recoil starter using a 10mm socket wrench. Then, using a pipe wrench or another tool, hold the starter hub and spin the impeller off. Look for shims that may be present between the impeller and shaft. This shim is for obtaining the proper clearance between the impeller and volute. Be careful not to damage the starter hub while gripping it with the wrench.

- Between the impeller and casing cover is the mechanical seal. On the backside of the impeller is the seal’s ceramic seat. If either part of the seal is damaged, with cracked or scuffed surfaces, the seal will fail to perform satisfactory and will leak. To remove the seal seat from the impeller, use a small blade screwdriver and wedge the seal seat out and discard. To remove the mechanical seal, it is necessary to first remove the casing cover by removing the four bolts holding it to the engine, using 13mm socket wrench.
Note that these bolts have seal washers on them and must not be damaged. From the backside of the casing cover, press the mechanical seal out and discard it.
Clean-up of Pump Housing
If necessary, clean the pump casing, volute, and casing cover using a solvent to remove debris and corrosion particles. Use a wire brush to further remove buildup of debris if it doesn’t soak loose.
Seal Replacement and
Pump Housing Assembly
- Apply a light bead of RTV sealant to the top edge of the seal cavity on the casing cover.
- Insert the stationary portion of the new mechanical seal by carefully pushing only on the outer metal ring as you press it into the casing cover. Use a tool with 1 1/2″ ID, such as a 1 1/2″ PVC pipe, 4″ long, that fits over the carbon face of the seal, but pushes only on the metal ring to insert the seal. Be careful to avoid scratching the seal’s carbon surface.

- Bolt casing cover on engine. Note the arrow and word UP to indicate orientation of the casing cover. Use bolts with washers on them. Install o-ring on casing cover; replace with a new o-ring if necessary.
- Lubricate the seal cavity of the impeller with WD-40, LPS, or equivalent, and carefully press the seal’s mating ceramic ring in place, seating it squarely on the bottom of the cavity. IMPORTANT: MAKE SURE BOTH OF THE SEAL’S SURFACES ARE CLEAN AND LUBRICATED. NEVER RUN THE SEAL SURFACES DRY.
- Place the impeller on the shaft and spin it clockwise to tighten it on the shaft. Secure the impeller using a socket and wrench (see step 3 in Disassembly Instructions for socket size).
- It is now necessary to check the clearance between the impeller and volute. As shown in the sketch below, measure the inside depth of the volute case (distance A). Then measure the distance from the casing cover to the front edge of the impeller (distance B). The difference between the two measurements should be between 0.024 and 0.036″ or about 1/32″ clearance. If the value is out of range, remove the impeller and adjust by adding or removing brass shims to achieve the correct amount of clearance.

- Place a new o-ring in the groove of the volute’s inlet if necessary. Place the volute in place with the notch pointing up so that it mates with the casing cover at the inlet port. It may be necessary to tip the engine on its side for this assembly.
- Carefully set casing over volute and bolt casing onto casing cover and frame. It may be necessary to tip the engine on its side for this assembly.
- Once assembly is complete, pull on engine recoil starter with engine switch in OFF position to verify that the impeller rotates smoothly without catching. Connect spark plug wire. Assembly and inspection is now complete.
Troubleshooting
| Symptom | Probable Cause(s) | Corrective Action(s) |
| No discharge | Pump not priming | Discharge line must be open for priming to occur. If valve is installed, check that it is open. |
| Pump not priming | Fill priming chamber with water. | |
| Pump not priming | Increase engine speed. | |
| Low discharge | Air leaks in suction line | Check inlet fittings for leaks. Seal leaks. |
| Undersized or collapsed suction hose | Suction inlet hose should be same diameter as inlet port fitting. Check hose for kinks. | |
| Blocked or clogged inlet | Inspect basket strainer and clear any debris from screen. | |
| Impeller plugged | Inspect and clear obstruction. | |
| Fluid leaking from pump | Mechanical seal failure | Determine fluid is coming from weep holes between pump and engine. Change out seal. |
| Crack in pump housing | Check casing and casing cover for damage. | |
| Engine doesn’t run | Check oil & gas | Refer to engine manual for troubleshooting problem. |
Performance Data
Performance Data is based on testing with water. Performance will vary with fluid density and/or viscosity.
| Model 1542A-SP | 5 PSI | 10 PSI | 15 PSI | 20 PSI | 25 PSI | 30 PSI | 35 PSI | 40 PSI | 45 PSI | 50 PSI |
| GPM | GPM | GPM | GPM | GPM | GPM | GPM | GPM | GPM | GPM | |
| 147 | 144 | 136.6 | 124.7 | 110.2 | 94.1 | 78.3 | 57.1 | 19.2 | 0 |
| Model 1543A-SP | 5 PSI | 10 PSI | 15 PSI | 20 PSI | 25 PSI | 30 PSI | 35 PSI | 40 PSI | 45 PSI | 50 PSI |
| GPM | GPM | GPM | GPM | GPM | GPM | GPM | GPM | GPM | GPM | |
| 259 | 251.6 | 233.7 | 213.6 | 190.9 | 162.2 | 135.8 | 99.3 | 56.1 | 8.7 |
| Model 1543A-TSP | 5 PSI | 10 PSI | 15 PSI | 20 PSI | 25 PSI | 30 PSI | 35 PSI | 40 PSI | 45 PSI | 50 PSI |
| GPM | GPM | GPM | GPM | GPM | GPM | GPM | GPM | GPM | GPM | |
| 272 | 269.8 | 241 | 207.6 | 179.3 | 140.4 | 98.1 | 50.7 | 5.4 | 0 |
Models 1542A-SP & 1543A-SP
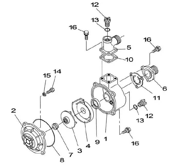
Parts List for Model 1542A-SP
| Ref. No. | Qty. Req’d. | Part No. | Description |
| 1 | ENGINE | PowerPro™ 5.5 hp | |
| 1 | 1 | 2545-0085 | Casing |
| 2 | 1 | 2545-0086 | Casing Cover |
| 3 | 1 | 2545-0087 | Impeller |
| 4 | 1 | 2545-0088 | Inner Casing |
| 5 | 1 | 2545-0089 | Discharge Port |
| 6 | 1 | 2545-0090 | Inlet Port |
| 7 | 1 | 2120-0050 | Mechanical Seal |
| 8 | 1 | 2545-0091 | O-ring |
| 9 | 1 | 2545-0092 | O-ring |
| 10 | 1 | 2545-0093 | Gasket |
| 11 | 1 | 2545-0094 | Check Valve |
| 12 | 2 | 2545-0079 | Plug |
| 13 | 2 | 2545-0080 | O-ring |
| 14 | 4 | 2545-0095 | Bolt |
| 15 | 4 | 2545-0096 | Washer |
| 16 | 12 | 2545-0097 | Bolt |
| Ref. No. | Qty. Req’d. | Part No. | Description |
| 1 | ENGINE | PowerPro™ 6.5 hp | |
| 1 | 1 | 2545-0098 | Casing |
| 2 | 1 | 2545-0099 | Casing Cover |
| 3 | 1 | 2545-0100 | Impeller |
| 4 | 1 | 2545-0101 | Inner Casing |
| 5 | 1 | 2545-0102 | Discharge Port |
| 6 | 1 | 2545-0103 | Inlet Port |
| 7 | 1 | 2120-0051 | Mechanical Seal |
| 8 | 1 | 2545-0091 | O-ring |
| 9 | 1 | 2545-0092 | O-ring |
| 10 | 1 | 2545-0106 | Gasket |
| 11 | 1 | 2545-0107 | Check Valve |
| 12 | 2 | 2545-0079 | Plug |
| 13 | 2 | 2545-0080 | O-ring |
| 14 | 4 | 2545-0095 | Bolt |
| 15 | 4 | 2545-0096 | Washer |
| 16 | 12 | 2545-0097 | Bolt |
Model 1543A-TSP

| Ref. No. | Qty. Req’d. | Part No. | Description |
| 1 | ENGINE | PowerPro™ 6.5 hp | |
| 1 | 1 | 2545-0111 | Casing Cover |
| 2 | 4 | 2545-0112 | O-ring |
| 3 | 1 | 2120-0052 | Mechanical Seal |
| 4 | 4 | 2545-0113 | Bolt |
| 5 | 1 | 2545-0114 | Impeller |
| 6 | 1 | 2545-0115 | O-ring |
| 7 | 1 | 2545-0116 | Inner Casing |
| 8 | 1 | 2545-0117 | O-ring |
| 9 | 1 | 2545-0118 | Check Valve |
| 10 | 1 | 2545-0119 | Casing |
| 11 | 2 | 2545-0080 | O-ring |
| 12 | 2 | 2545-0079 | Plug |
| 13 | 6 | 2545-0120 | O-ring |
| 14 | 6 | 2545-0121 | T-bolt |
Limited Warranty on Hypro Pumps and Other Hypro Products
Hypro (“Hypro”) warrants to the original purchaser of its products (the “Purchaser”) that such products will be free from defects in material and workmanship under normal use for the period of one (1) year for all products except: oil crankcase plunger pumps will be free from defects in material and workmanship under normal use for the period of five (5) years, and accessories will be free from defects in material and workmanship under normal use for the period of ninety (90) days. In addition, Hypro warrants to the purchaser all forged brass pump manifolds will be free from defects in material and workmanship under normal use and from damage resulting from environmental conditions for the life of the pump.
“Normal use” does not include use in excess of recommended maximum speeds, pressures, vacuums and temperatures, or use requiring handling of fluids not compatible with component materials, as noted in Hypro product catalogs, technical literature, and instructions. This warranty does not cover freight damage, freezing damage, normal wear and tear, or damage caused by misapplication, fault, negligence, alterations, or repair that affects the performance or reliability of the product.
THIS WARRANTY IS EXCLUSIVE. HYPRO MAKES NO OTHER WARRANTY, EXPRESS OR IMPLIED, INCLUDING BUT NOT LIMITED TO ANY WARRANTY OF MERCHANTABILITY OR FITNESS FOR A PARTICULAR PURPOSE.
Hypro’s obligation under this warranty is, at Hypro’s option, to either repair or replace the product upon return of the entire product to the Hypro factory in accordance with the return procedures set forth below. THIS IS THE EXCLUSIVE REMEDY FOR ANY BREACH OF WARRANTY.
IN NO EVENT SHALL HYPRO BE LIABLE FOR ANY INCIDENTAL OR CONSEQUENTIAL DAMAGES OF ANY KIND, WHETHER FOR BREACH OF ANY WARRANTY, FOR NEGLIGENCE, ON THE BASIS OF STRICT LIABILITY, OR OTHERWISE.
Return Procedures
All pumps or products must be flushed of any chemical (ref. OSHA Section 0910.1200 (d)(e)(f)(g)(h) and hazardous chemicals must be labeled before being shipped* to Hypro for service or warranty consideration. Hypro reserves the right to request a Material Safety Data sheet from the Purchaser for any pump or product Hypro deems necessary. Hypro reserves the right to “disposition as scrap” pumps or products returned which contain unknown substances, or to charge for any and all costs incurred for chemical testing and proper disposal of components containing unknown substances. Hypro requests this in order to protect the environment and personnel from the hazards of handling unknown substances.
For technical or application assistance, call the Hypro Technical/Application number: 1-800-445-8360. To obtain service or warranty assistance, call the Hypro Service and Warranty number: 1-800-468-3428; or call the Hypro Service and Warranty FAX: (651)766-6618.
Be prepared to give Hypro full details of the problem, including the following information:
- Model number and the date and from whom you purchased your pump.
- A brief description of the pump problem, including the following:
- Liquid pumped. State the pH and any non-soluble
- Drive type (gas engine/electric motor; direct/belt drive; materials, and give the generic or trade name. tractor PTO) and rpm of pump.
- Temperature of the liquid and ambient environment
- Viscosity (of oil, or other than water weight liquid).
- Suction lift or vacuum (measured at the pump).
- Discharge pressure.
- Size, type, and mesh of the suction strainer.
- Elevation from the pump to the discharge point.
- Size and material of suction and discharge line.
- Type of spray gun, orifice size, unloader/relief valve.
Hypro may request additional information, and may require a sketch to illustrate the problem.
Contact the factory to receive a return material authorization before sending the product. All pumps returned for warranty work should be sent shipping charges prepaid to:
Hypro
Attention: Service Department 375 Fifth Avenue NW
New Brighton, Minnesota 55112
*Carriers, including U.S.P.S., airlines, UPS, ground freight, etc., require specific identification of any hazardous materials being shipped. Failure to do so may result in a substantial fine and/or prison term. Check with your shipping company for specific instructions.
Printed in the USA 2007 Hypro
Pentair Water
SPRAY GROUP
Address: 375 Fifh Avenue NW• New Brighton, MN 55112
Phone: (651) 766-6300 • 800-424-9776
Fax: 800-323-649
Email: www.hyYpropumps.com




















