VYVYLABS X1 Flaming Multifunctional Outdoor Light Wireless Speaker User Manual
Functional Keys

- Tap once to turn on/ off the flashlight.
- Double click to turn on/ off the lantern.
- Note the two brightness modes for the flashlight.
- Hold to turn on/off the Bluetooth.
Volum Instruction
- Tap once to go to the previous song.
- Press and hold for 2 seconds to reduce the volume.
Press and hold to disconnect speaker
Connected Instruction
- Tap once to skip to next song.
- Press and hold for 2 seconds to increase the volume.
- Speaker will show as X1 on your device to automatically connect.
- Turn on any function, all buttons will light up.
- Turn on the Bluetooth function, all buttons will display bright light, while all buttons display flashing blue light.
- All keys flash white under low power mode.
Charging Interface

Locate the indicator next to the USE ports on the lantern.
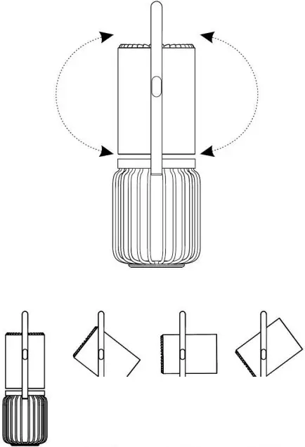
Adjustable Flashlight

Troubleshooting
WHY IS MY LANTERN NOT WORKING?
- Does the device you are trying to charge operate normally?
Try charging a different device to confirm if the Lantern is working properly or if the device you are charging is the issue. - Does the cable you are using work with other devices?
Cable quality matters. Check the USB cable with another device or power source to confirm it has not been damaged. Is the cable you are using the one that was supplied with the Power Bank? - Is there visible socket damage to the USB port?
The USB socket on your Lantern should be stable—If It wiggles. or you have difficulty pushing cables into it. it’s likely been damaged. If you have determined that it has been damaged. please file a claim for this product. - Was the Lantern dropped?
Avoid dropping, knocking or hitting the Lantern! Physical shocks can cause the chip components and batteries to be damaged. You may be able to hear a rattle if you lightly shake the Lantern. - How long has the Lantern not been in use?
If the Lantern is used infrequently or hasn’t been used for a long time. we recommend fully charging it every three months. This will prevent battery damage resulting from over-discharge of the product. - Did the Lantern overheat before you noticed it stopped working?
The lantern is IP56 rated. means it is dust proof and water resistant. Operate the device only within the specific temperature range of 32°F(0°C 1 to 104°F(40°C). Should the temperature exceed this range. unplug and/or switch off the device In order to let the temperature stabilize to an optimal level.
LED LIGHTING
- How do you turn on the torch light?
Quickly press the power button twice until the tight turns on. Pressing twice again will turn the torch off. - How do you adjust brightness on the flashlight?
Press the power button once to turn on the flashlight and press once more to increase the brightness. Press a third time to turn the flashlight off.
Troubleshooting
Product Name: Vyvylabs X1 Flaming Multifunctional Outdoor Light Wireless Speaker (With Powerbank)
Model No.: VOX1
Material: ABS + Hardware
Type-C Input: 5V/2A
USB-A Output: 5V/2A
Battery Capacity: 8000mah
Flashlight Current: SOOmA
Fill Light: Flame effect on the bottom
Standby Current: %50ua
Lantern Power: 2.0W
Product Weight: 875g
Product Size: 108’94’287mm
Troubleshooting
- In order to achieve maximum safety while using your Lantern. we suggest that you adopt the following guidelines.
- Should you have trouble using the device properly and troubleshooting does not work. unplug the device and contact us(www.vyvylabs.corn) for support. Do not attempt to service or fix the device yourself at any time.
- Do not take apart the device and do not attempt to operate it under abnormal current loads. Doing so will void your warranty.
- When using a power adapter with the device. make sure that its cable is fully inserted into the power adapter before plugging it into a power outlet.
- Place the device on a stable surface that allows adequate air ventilation. Do not place the device on any unstable surface as the device may fall which may cause injury. damage to property, and even the product itself.
- Do not use or place the device near any heat, naked flame, or other hot surges such as radiators, stoves, fireplaces, and candles.
- Be cautious when using the device to avoid electrical shock or damage, such as unplugging
the device during thunderstorms, ensuring that your hands are dry before using (and handling) the device, keeping it away from any source of liquid and/or heat source, and using all other reasonable precautions needed under the circumstances. - Protect the cable from being walked on or pinched, particularly at plugs. convenience receptacles, or the point where they exit from the device.
- Do not overload wall electricity outlets, extension cords and plugs. This may result in fire or electrical shock.
- The device should be used for compatible mobile devices only. Please check packaging to know if it is compatible with your mobile device. Vyvylabs shall not be responsible for any damages incurred to any device when using the charging pad.
- Do not use the device under pillows.blankets,or near flammable surfaces as the device will generate heat when charging.
FCC WARNING
This device complies with Part 15 of the FCC Rules. Operation is subject to the following two conditions: (1) this device may not cause harmful interference, and (2) this device must accept any interference received, including interference that may cause undesired operation.
Caution: The user is cautioned that changes or modifications not expressly approved by the party responsible for compliance could void the user’s authority to operate the equipment.
Note: This equipment has been tested and found to comply with the limits for a Class B digital device, pursuant to part 15 of the FCC Rules. These limits are designed to provide reasonable protection against harmful interference in a residential installation. This equipment generates, uses, and can radiate radio frequency energy and, if not installed and used in accordance with the instructions. may cause harmful interference to radio communications. However there is no guarantee that interference will not occur in a particular installation.
RF wanting for Portable device:The deice has been evaluated to meet general RF oposure requimment. &Nice can be iced in portable expontre withott rasiriction
If this equipment does cause harmful interference to radio or television reception, which can be determined by turning the equipment off and on. the user is encouraged to try to correct the interference by one or more of the following measures:
- Re-orient or re-locate the receiving antenna.
- Increase the separation between the equipment and receiver.
- Connect the equipment into an outlet on a circuit different from that to which the receiver is connected.
- Consult the dealer or an experienced radio/TV technician for help. This equipment complies with FCC radiation exposure limits set forth for an uncontrolled environment.
WARNINGS
- To reduce the risk of fire or electric shock. do not expose this product to rain or moisture.
- Do not expose this apparatus to dripping or splashing, and do not place objects filled with liquids such as vases. on or near the apparatus. As with any electronic products. use care not to spill liquids into any part of the product. Exposure to liquids may create a failure and/or fire hazard.
- Do not place naked flame sources. such as lighted candles. on or near the product.
- Do not subject batteries to mechanical shock.
- In the event of a battery leaking, do not allow the liquid to come in contact with the skin or eyes. If contact has been made. wash the affected area with copious amounts of water and seek medical advice.
- Do not use any charger other than that specifically provided for use with the equipment.
- Do not leave a battery on prolonged charge when not in use.
- After extended periods of storage, it may be necessary to charge and discharge the batteries several times to obtain maximum performance.
- Batteries give their best performance when they are operated at normal room temperature 68°F(20°C 1±9°F(5°C).
- The battery provided with your system is not user serviceable.
CAUTION:
Do not make unauthorized alterations to the product: doing so may compromise safety
regulatory compliance, system performance, and may void the warranty.
WARNING: Contains small parts which may be a choking hazard. Not suitable for children under age 3.
WARNING: This product contains magnetic material. Contact your physician if you have questions on
whether this might affect the operation of your implantable medical device. Removal of the rechargeable lithium-ion battery in this product should be conducted only by a qualified professional.
RF Warning Statement: The device has been evaluated to meet general RF exposure requirement. The device can be used in portable exposure condition without restriction.

This equipment complies with EU Directive 2012/19/EU and EU Directive 2006/66/EU. This equipment must not be disposed of together with ordinary waste and must be recycled. This symbol indicates that this product must not be treated as domestic waste, but must be delivered to the corresponding waste recycling station for electronic and electrical equipment recycling.
It is hereby declared that Vyvylabs VOX1. a product of Shenzhen Aofu Technology Co.. Ltd. Complies with the provisions of Directive 2014/53/EU. Directive 2011/65/EU. The full text of the CE Declaration of Confimiity can be found on the following website: www.vyvylabs.com
Warning Please follow the above safety instructions otherwise it will case fire. electric shockdamage or other damage.
EU
REP
Company. E-CrossStu GmbH Address: Mainzer Landstr 69. 60329 Frankfurt am Main Mail: [email protected]
UK
REP
Company. YH Consulting Limited Address: C/0 YH Consulting Limited office 147. Centurion House. London Road. Staines-upon-Thames. Surrey. TW18 4AX
Manufacturer. Shenzhen Aofu Technology Co..
Ltd Address: #209. Building 5. No.1 Sanhe Road. Gaofeng Community. Dalang Street. Longhua District. Shenzhen
Website: www.vyvylabs.com
Email: [email protected]
Designed by Vyvylabs.



















