PBA 60H
User Manual / Version1.2
PBA 60H
USER MANUAL VERSION 1.2
SAFETY INSTRUCTIONS
- Read this manual carefully.
- Follow all instructions and warnings.
- Only use accessories specified by WORK PRO.
- Follow the safety instructions of your country.
- Be careful with sound levels.
SYMBOLS
The following symbols are used in this document:
This symbol indicates a potential risk of harm to a person or damage to the product. You can also notify the user of the instructions that must be followed strictly to ensure the
installation or safe operation of the product.
This symbol notifies the user about the instructions that must be followed strictly to ensure the correct installation or operation of the product.
This symbol notifies the user about additional information or optional instructions.
WELCOME TO WORK PRO
Thank you for choosing the WORK PRO PBA 60H system.
This document contains essential information on the use of the system. Read this document carefully to become familiar with the system.
Please check the WORK PRO website regularly to download the latest version of the document: https://www.workpro.es/
INTRODUCTION
PBA 60H is an ultra-compact 2x20W amplifier (@4 ohm) that has several input sources: 2 stereo Line + 1 input that can be a microphone or a Line. It includes tone control (low and high) and output gain controls. Both, the source selection and tone and gain control, are performed either manually with the small buttons on the chassis or via the RS232 remote control. It also has both remote and manual mute control. The mic input can be with selectable phantom power or it can change its function to Line input. It has a stereo audio output with up to 2x20W @ 4 ohms or 1x40W @ 8 ohms in bridge mode. Additionally, it has a Line output to feed another amplifier signal. It is powered at 24V DC making it compatible with the BL PS60 The chassis is the same as the one used by BlueLine devices, so it can be mounted on the wall or it can use the BL AR19 accessory to rack up to 4 units in a single rack unit, forming a stack of amplifiers up to 8x20W.
Features:
- 2x20W @ 4 ohm / 1x40W @ 8 ohm (bridge mode) power output.
- Two stereo audio inputs (2 x RCA and 3.5mm minijack), selectable by button and RS232.
- One balanced input with MIC+PHANTOM, MIC or LINE configuration.
- MIC input / Line inputs / Bass / Treble levels adjustable by buttons and RS232.
- LOOP audio output to supply signal to another amplifier (3.5 mm minijack).
- Stereo, Mono, and Bridge configurations are selectable from a switch.
- Balanced input mixes its signal with the other input selected.
- Both balanced and stereo input levels are controlled separately.
- No extra cooling is needed.
24VCD, 2A power supply not included.
CONNECTIONS & FUNCTIONS
2.1 Front view 
- INPUT SET pushbutton. Use this button to select between Line Input 1 (RCA connection) or Line Input 2 (3.5 mm jack).
In both cases, MIC input is active and mixes its signal with the Line input selected. - Input selection LEDs: The corresponding LED will light according to the selection (1).
- M/L/B/T selection LEDs: The corresponding LED will light according to the selection (4).
- M/L/B/T pushbutton. Use this button to select the parameter level you want to increase or decrease using the UP and DOWN push buttons (8).
M: Mic Input selection.
L: Line Input Selection.
B: Bass selection.
T: Treble selection. - BRIDGE / MONO / STEREO selector. This control determines how the input mixing is used by the amplifier.
STEREO: it is normal behavior. Line input selected (stereo) and MIC input (mono) are mixed and sent to the output.
MONO: Line input selected (stereo) and MIC input (mono) are added (decreasing 6 dB each stereo input) and sent to the output.
BRIDGE: same as MONO but one channel is reversed to obtain at the output double voltage (4 times power output). - IR input: Disabled.
- UP/DOWN/MUTE LEDs: The corresponding LED will light according to the selection (8,9).
- UP / DOWN / MUTE: By combining these buttons with M/L/B/T the user can modify levels. MUTE: This pushbutton mutes and unmutes output.
- RS232: Use this connector to apply an RS232 signal from a host device.
RX: signal from command sender.
TX: signal to send feedback to the command sender.
See chapter 4 for the Communications protocol and Commands used.
Don´t forget to join the GND signal to the GND of the command sender. - 48V / MIC / LINE SELECTOR: This switch allows to select the input (11). This input can be used for electret or dynamic microphones or with Line signals (in this case, sensitivity is greater than normal Line inputs). All cases, user can use balanced signals reducing the amount of noise that appears as an external influence at the cables.
- INPUT 2 Connection: Connect the audio signal, considering the polarity.
It is recommended that if you are not going to use this input, turn its gain level down to a minimum to avoid unwanted noise. - INPUT 1 Connection: Connect a Line level audio signal.
2.2 Rear view 
- DC Input: Connect the 24VDC, 2A power supply. Not included
- LOOP: You can use this mixed output as a monitor signal.
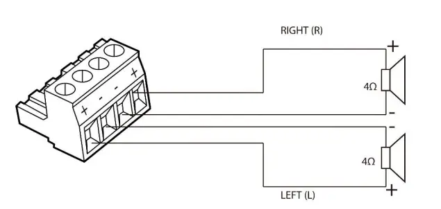
- OUTPUTS: Connect the loudspeakers considering the mode (Stereo, Mono or Bridge), the total impedance and the correct polarity.
OUTPUT CONNECTIONS
3.1 STEREO
3.2 MONO 
3.3 BRIDGE
COMMUNICATION PROTOCOL & COMMANDS
Protocol: RS232 9600 / 8 / N / 1
| COMMAND | FUNCTION | FEEDBACK |
| 1A1. | To select Input 1 | A: 1 -> 1 |
| 2A1. | To select Input 2 | A: 2 -> 1 |
| OAO. | To mute MIC input and LOOP output | Mute |
| lAO. | To mute MIC input | Mute MIC |
| 2A0. | To mute LOOP output | Mute LIN |
| °Al . | To unmute Audio | Unmute |
| 3A0. | To activate Noise Gate | Gate On |
| 4A0. | To deactivate Noise Gate | Gate Off |
| 600% | To check the working status | A: 2 -> 1 (example) Volume of MIC : 48 Volume of LINE : 50 Bass of LINE : 3 Treble of LINE : 2 |
| 601% | Increases MIC level (+ 1) | The volume of MIC: xx |
| 602% | Decreases MIC level (-1) | The volume of MIC: xx |
| 603% | Increases LINE level (+1) | The volume of LINE: xx |
| 604% | Decreases LINE level (-1) | Volume of LINE: xx |
| 605% | Increases BASS level (+1) | Bass of LINE: xx |
| 606% | Decreases BASS level (-1) | Bass of LINE: xx |
| 607% | Increases TREBLE level (+1) | Treble of LINE: xx |
| 608% | Decreases TREBLE level (-1) | Treble of LINE: xx |
| 609% | Initialization, back to the default settings | !nit OK |
| 5[x][xl% | To set MIC level (00-60) | Volume of MIC: xx |
| 7lx][x]% | To set LINE level (00-60) | Volume of LINE: xx |
| 8lx][x]% | To set BASS level (00-08) | Bass of LINE: xx |
| 9(x][x]% | To set TREBLE level (00-08) | Treble of LINE: xx |
Examples:
Dots must be included in the
StrinExample 1: Select Input 2: 2A1.
Example 2: Increases in one step Line Input level: 603%
Example 3: Set MIC Input level to 21: 521%
Example 4: Checking the working status: 600%
ACCESSORIES
Included
PBA 60H includes two wings for mounting on a wall and its 4 fixation screws.
Optional
BL AR 19
Fixing accessory for standard rack 19″ 1 HU to house up to 4 PBA 60H devices or integrate with several Blueline MKII series units.
Av. Saler n° 14 Poligono. Ind. L Alter. Silla 46460 VALENCIA-SPAIN
Tel: +34 96 121 63 01
www.workpro.es
















