CRYSTORAMA 285-GA Graham Three Light Ceiling Mount
Product Information
The product is a light fixture model #285-GA manufactured by Crystorama.com. It comes with a metal frame, a white cloth shade, a bottom stem, a diffuser glass, and a finial. The product requires three medium bulbs with a recommended wattage of 60 watts and a maximum wattage of 100 watts. LED bulbs are recommended for extended use.
Product Usage Instructions
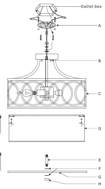
- Before installation, do a complete inventory of all the parts and components to ensure that everything is included.
- Install the bulbs (not included) into the light fixture.
- Remove the finial and the two plastic washers from the bottom stem.
- Attach the bottom stem onto the bottom of the light cluster.
- Put one plastic washer on the bottom of the bottom stem, then attach the diffuser glass and the other plastic washer, securing them with the finial.
- Install the canopy onto the outlet box and secure it with the ball nuts.
- Safely attach the fixture into the outlet box before connecting the power.
ASSEMBLY INSTRUCTION
MODEL #285-GA
All electrical components must be installed by a licensed electrician in accordance with the National Electric Code and the appropriate local electrical codes. You will need 3 -Medium Bulb 60 Watts Recommended 100 Watts Max. USE LED BULBS FOR EXTENDED USE
- Do a complete inventory of all parts and components before you start the installation.
- Install bulbs(not included).
- Remove the finial and the two plastic washers from the bottom stem.
- Attach the bottom stem onto the bottom of the light cluster.
- Put one plastic washer on the bottom of bottom stem, then attach the diffuser glass and the other plastic washer, securing them with the finial.
- Install the canopy onto the outlet box, and secure it with the ball nuts.
- After safely attaching fixture into outlet box, proceed to connecting the power.

DETAILED ILLUSTRATION
WARNING: This product can expose you to Lead, which is known to the State of California to cause cancer and/or birth defects or reproductive harm. For more information go to www.P65Warnings.ca.gov.
Part Number
- (1) – Mounting Hardware
- (5) – Ball Nut #XRE283SABANUT
- (1) – Metal Frame
- (1) – White Cloth Shade(W13.39″,H5.12″) #XRE285SHA13.3IN
- (1) – Bottom Stem(1.97″,9.5mm)
- (2) – Plastic Washer
- (1) – Diffuser Glass(W13.39″) #XRE285DIF13.3IN
- (1) – Finial #XRE285SAFIN
























