CRYSTORAMA ABB-3003-VG_CEILING Abbott Three Light Ceiling Mount

Product Information
- Product Name: CRYSTffiRAMA Lighting the Way for Sixty Years
- Model Number: ABB-3003-VG_CEILING
- Manufacturer: Crystorama.com
Product Usage Instructions
- Ensure you have all the necessary components included in the package.
- Choose a suitable location on the ceiling for hanging the light fixture.
- Turn off the power supply to the area where the fixture will be installed.
- Carefully unpack the light fixture and remove any protective packaging materials.
- Refer to Drawing (1) in the user manual for guidance on the assembly process.
- Identify the various parts of the light fixture, including the main body, light bulbs, and any additional accessories.
- Attach the main body of the fixture to the ceiling using the appropriate mounting hardware (not included).
- If required, connect the electrical wires from the fixture to the corresponding wires in the ceiling using wire nuts or other suitable connectors.
- Install the light bulbs into their designated sockets following any specific instructions provided.
- Double-check that all connections are secure and properly insulated.
- Turn on the power supply and test the light fixture to ensure it is functioning correctly.
- Adjust any movable parts or settings to achieve the desired lighting effect.
Note: If you encounter any difficulties during assembly or installation, please refer to the complete user manual provided with the product or contact our customer support for assistance.
ASSEMBLY INSTRUCTION
MODEL #ABB-3003-VG_CEILING
WARNING
- Electrical Danger
- Turn Power off
All electrical components must be installed by a licensed electrician in accordance with the National Electric Code and the appropriate local electrical codes.
You will need 3-Candelabra 40 Watts Recommended 60 Watts Max. USE LED BULBS FOR EXTENDED USE THIS FIXTURE IS DRY RATE
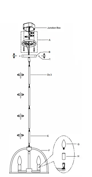
How to install for hanging:
Please place the fixture frame on a soft cloth covered table before the installation.
- Determine the desired hanging height and choose the correct length of rod.
- Feed the fixture wires through the rods and canopy. Afterwards, connect the rods together then screw the swivel onto the top of the upper-most rod.
- The canopy of the fixture can now be mounted to the ceiling by following instruction Drawing 2.
- Place the Candle Sleeve over the Socket, then Install the Bulb to the Socket.
How to install for ceiling
Please place the fixture frame on a soft cloth covered table before the installation.
- Remove the swivel from the canopy.
- Put the canopy over the top of the frame and secure with hex nut.
- The canopy of the fixture can now be mounted to the ceiling by following instruction Drawing 2.
- Place the Candle Sleeve over the Socket. Install the Bulb into the socket.
WARNING: This product can expose you to Lead which is known to the state of California to cause cancer and/or birth defects or reproductive harm. For more information go to www.P65Warnings.ca.gov
Drawing
For hanging

For ceiling

Part Numbers
- A Mounting hardware
- B Canopy WS”x H0.75″ (XFW3003VGCANSIN)
- C Canopy Screw W0.16″x H0.48″
- D Long Rod W1/2″x H12″ (XFW3003VGROD12IN)
- E Short Rod W1/2″x H6″ (XFW3003VGROD6IN)
- F Lamp Body
- G Bulb (Not included)
- H Metal Candlesleeve Wl”x H2″ (XFW3003VGCDL2IN)

QR SCAN





















