
USER MANUAL

Swivel
Thank you for purchasing this Olight Product. Please read this manual carefully before use and keep it for future reference!
IN THE BOX

Swivel USB Charging Cable
SPECIFICATIONS
FLOODLIGHT MODE
HIGH 400 lumens ![]()
MED 160 lumens ![]()
LOW 12 lumens ![]()
FLASHLIGHT MODE
HIGH 200 lumens ![]()
LOW 50 lumens ![]()
![]() | HIGH | MED | LOW |
| FLOODLIGHT MODE | 25m | 15m | 5m |
| FLASHLIGHT MODE | 80m | 35m | – |
![]() | ![]() | ![]() | |
| 1m | IPX4 | 180g /6.35oz | (L)4.84* (W)2.01* (H)1.38in (Folded) (L) 123*(W)51*(H)35mm(Folded) |
* All above specifications are test results based on ANSI/NEMA FL1-2009 Standard. The tests are performed using the battery built in the light.
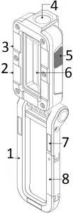
PRODUCT OVERVIEW

- Rotating bracket
- Power indicator
- Type-C Charging Port
- Flashlight Mode
- ON/OFF Switch
- Floodlight Mode
- Magnet
- Hook

BATTERY LEVEL INDICATOR

- Power indicator

4 blue lights on 95%-100%
3 blue lights on 65%-95%
2 blue lights on 35%-65%
1 blue light on 15%-35%
1 blue light strobe <15%
CHARGING


<15%, 1 blue light strobe
15%-35%, 1 blue light on, the second one strobe
35%-65%, 2 blue lights on, the third one strobe
65%-95%, 3 blue lights on, the fourth one strobe
95%-100%, 4 blue lights on
* Before first use please fully charge the product.
* Connect the USB end of the Type-C to an external USB power source, then attach the other end of the cable to the charging port of the light (best charging efficiency with a 5V 1A USB power source).
* Battery capacity: 2600mAh
* Time to fully charge: About 3.7 Hours

DANGER
- DO NOT throw the light directly into human eyes. This may cause temporary blindness, or permanent damage to the eyes.
- DO NOT cover the flashlight’s head or stand the flashlight on its head when it is on. The radiation energy may cause damage to the flashlight itself, or even result in the burning of flammable objects nearby.
- DO NOT cover the charging port when its dust cover is in the process of closing.
- DO NOT immerse the flashlight in seawater or other corrosive media as it will enter and damage the charging port.
WARNING
- DO NOT use it nearby open flames.
- Please keep the charging cable away from oil, heat, and sharp objects.
- The LEDs cannot be replaced. When they reached the end of their service life, please buy a new product.
NOTICE
- The charging port dust cover should be closed immediately after charging to protect the charging port from dust and other impurities.
- Please charge the product once low battery is indicated.
- Please keep fingers and other body parts clear while the rotating bracket is folding or using the hook.
EXCLUSION CLAUSE
Olight is not liable for damages or injuries sustained resulting from the usage of the product inconsistent with the warnings in the manual, including but not limited to using the product inconsistent with the recommended lockout mode.
HOW TO OPERATE
ON/OFF: Press the button to turn on the light, and press the button to turn off the light if no operation exceed 3 seconds.
CHANGE BRIGHTNESS: Press quickly (within 3 seconds after turning on the light) to change brightness.
TWO MODES:
MODE 1: Medium→High→Low→OFF (Floodlight Mode)
MODE 2: High→Low→OFF (Flashlight Mode)
CHANGE MODES: While the light is on, press and hold the button to exchange mode 1 and mode 2.
WARRANTY
Within 30 days of purchase: Contact the original seller for repair or replacement.
Within 2 years of purchase: Contact Olight for repair or replacement.
For any of the fragile or low-value fittings not covered above, like lanyard and clip, you can contact the post-sale in 30 days after the purchase, if it has any quality drawback or damage under normal use condition. If such drawback or damage occurs 30 days after the purchase or under abnormal use condition, we will only offer conditional quality assurance as appropriate.
EU-DECLARATION OF CONFORMITY
EU-Declaration of Conformity can be found here:
https://olightworld.com/ec-declaration
USA Customer Support
[email protected]
Global Customer Support
[email protected]
Visit www.olightworld.com to see our complete product line of portable illumination tools.


Dongguan Olight E-Commerce Technology Co., Ltd
4th Floor, Building 4, Kegu Industrial Park, No 6 Zhongnan Road, Changan Town, Dongguan City, Guangdong, China.
Made in China B. 09, 02, 2021
























