TRUPER DES-30R 30 cc Motor Gas String Trimmer User Manual
WARNING
To gain the best performance of the tool, prolong the duty life, make the Warranty valid if necessary, and to avoid hazards of fatal injuries please read and understand this Manual before using the tool.
Keep this manual for future references.
The illustrations in this manual are for reference only. They might be different from the real tool.
Use and care recommendations
Use gasoline mixed with 2-STROKE motor OIL. capfuls A wrong mix may cause the string trimmer to throw a rod, causing expensive repairs!
Do not use a fuel MIX that has been stored longer than 15 days.
ALWAYS USE the GUARD. USE THREAD with diameter from 0.08 in to 0.1 in
ALWAYS operate your string trimmer at MAXIMUM POWER with the trigger FULLY tightened
Perform periodic MAINTENANCE to your machine (page 10).
Technical data
| Code | 12497 |
| Description | Gas string trimmer, straight shaft |
| Net Weight | 13 lb (with no fuel) |
| Fuel Tank | 500 cc |
| Motor Displacement | 30 cc |
| Maximum Motor Performance | 1.2 Hp |
| Speed | 8000 RPM |
| Cutter Head | Nylon line |
| Cutting Width | 17” |
| Nylon line diameter | 0.08 in to 0.1 in |
| Handle | Loop handle |
| Work Cycle | 30 minutes idle per fuel tank consumed. Maximum 6 hours daily |
Fuel specifications
- The string trimmer has an air-cooled 2-cycle motor using a mix of unleaded gasoline and high quality self-propulsion oil for air-cooled two-cycle motors.
- The motor is certified to run with unleaded gasoline for vehicles with 87 or more ([R+M]) octane level.
- Do not use any type of gasoline premixed with oil bought in service stations such as gasoline for motorcycles.
- Do not use automotive oil or oil for 2-cycle outboard motors oil.
- The mix ratio should be 50 parts gasoline per 1 part oil (50:1 ratio). Prepare the mix in a gasoline approved container. Always mix thoroughly before pouring in the motor tank.
CAUTION Do not use fuel mix stored longer than 15 days. Make small amounts of mix.
WARNING Never smoke near fuel, the gasoline filling up area or where the oil mix is being prepared or when operating the tool.
WARNING Any attempt to start the string trimmer with no oil added to the fuel mix will damage to the string trimmer
Use the ACES-2, ACES-5 or ACES-20 OIL** cap as measure, mix 4 capfuls oil per each liter gasoline.
A wrong mix may cause the motor to throw a rod causing expensive repairs! | ||||
![]() Gasoline | ![]() | ![]() | ![]() | ![]() |
To prolong the useful life of the motor use
two-cycle synthetic motor oil. * 1 gallon = 3.78 liter ** Not included
Motor tools safety warnings
Keep your work area clean, tidy and well lit.

CAUTION Cluttered and dark areas may cause accidents.
Never use the string trimmer in explosive areas or in the presence of flammable liquids

DANGER Before starting the motor keep the string trimmer at least 9 meters (30 feet) away from the fill up area.
Keep children and passersby at a safe distance while operating the string trimmer.

WARNING Distractions could cause loosing control and cause accidents.
Avoid contact with power lines and circuits.

DANGER Find and avoid power lines and circuits, especially hidden wiring as well as any grounded object.
Stay alert, use care and common sense.
CAUTION Familiarity with the string trimmer operation could lead to distractions. It could cause accidents.
Refrain from using the string trimmer if tired or under the influence of drugs, alcohol or medication.
DANGER Being momentarily distracted while using the string trimmer could cause severe personal injury
Operate the string trimmer with guards and protection devices in place and in good working condition.
WARNING Failure to comply with this warning is a hazard of severe personal injury
Do not force the string trimmer

CAUTION Working within the tool’s working design assures a better and safer job.
Keep the string trimmer in a safe place and out of the reach of children.

WARNING Motor powered tools are dangerous to inexperienced people.
Wear proper clothes.

WARNING Loose clothes, jewelry or long hair could get caught in the mobile parts.
Keep hands away from rotating and/or mobile parts.

WARNING Failure to comply with this warning is a hazard of severe personal injury
Do not operate the string trimmer in enclosed areas.

DANGER Avoid breathing accumulated carbon monoxide, a potentially deadly odorless toxic gas.
Wear adequate protective safety accessories.
CAUTION Wear eye protection, dust mask, non-skid safety shoes, helmet and ear plugs. These safety gears reduce the risk of injury

Turn off the string trimmer before adjusting, changing accessories or storin.
WARNING Double check the string trimmer switch is in the off position.
Refrain from operating the string trimmer if the switch is not working or is not properly assembled.
Failure to complain with this warning is a hazard of personal injury. Immediately send it to a
Authorized Service Center.
Do not overreach.
CAUTION Good balance and support lead to better controlling the tool in unexpected situations.
Avoid the string trimmer to unintentionally start.

Double-check the string trimmer motor is off before maintenance or putting it away
Remove brackets before turning on the string trimmer.
Additional tools or vices installed in a rotating part could cause severe personal injury
Service the string trimmer and double-check it is in good working conditions before operating.

CAUTION Carefully check mobile parts, alignment and assembly. Do it periodically. Look for any damaged element or part not working properly. Repair immediately in a Authorized Service Center.
Accessories.
DANGER Use only accessories or spare parts indicated in this Manual or certified by
.
Never leave a running string trimmer unattended.
DANGER Turn off and disconnect the string trimmer after using. Set it in a safe position to avoid severe injury.
Never smoke in the proximity of fuel.

DANGER Do not smoke in the proximity of the fuelling area or when using the string trimmer.
Safety warnings for string trimmers
Fuel handling
- Never smoke near fuel or where gasoline is supplied. Or where the oil mix is prepared or while operating the string trimmer.
- Handle fuel with care to reduce risk of fire or burns. Fuel is very flammable.
- Do not allow gasoline or oil getting contact with your skin.
- Protect your eyes. Avoid spilling oil or gasoline. In the event of accidental contact, wash eyes immediately with clean water. If irritation persists, see a doctor.
- Mix and store fuel in a labeled container.
WARNING Mix fuel outdoors away from flames or sparks.- Before refueling the string trimmer turn off the motor. Set the string trimmer in the ground in a clear surface. Wait for the motor to cool down.
CAUTION Clean all the fuel that might have been spilled before operating the string trimmer.
CAUTION Verify there are no leaks. If so, correct them before using the string trimmer to prevent fire or burns.- Move the string trimmer at least 30 feet away from the fuel filling up site before starting the motor.
- Under no circumstance burn spilled fuel.
- Under no circumstance, use any other type of fuel different from the specified in this Manual.
- Do not use the string trimmer with any guards in place. Or if the guards show any type of damage or they have missing parts.
When operating the string trimmer
CAUTION Keep passersby, children and animals away no less than 50 feet away.- Verify the cutter head is not making contact with any object before starting the motor
WARNING Keep both feet firmly set on the ground and both hands holding the string trimmer by the handles. Never operate the string trimmer single-handed. Otherwise the operator and any other person present may be injured.- Keep all your body away from the cutter head when the motor is running.
- Always keep the cutting head pointed downwards, below your waist level. Never raise it above 2.4 feet from the ground.
- Keep all your body parts away from the muffler. Otherwise severe burns can occur.
- Keep the string trimmer away from flammable materials.
- Do not use the string trimmer to cut woody shrubs.
- Be alert to surrounding risks. The string trimmer noise could prevent you from noticing them
DANGER If making jobs near traffic roads, stop cutting until there are no vehicles in sight. The string trimmer could shoot particles towards the moving vehicles and produce a severe accident
Before operating the string trimmer
- Wear the right clothes to operate the string trimmer. Tight fitting clothes, strong pants, anti-skid safety boots, heavy-duty protecting gloves and safety glasses with side protection complying with ANSI Z87.1. Standard.

WARNING Remove any accessory or loose clothes that could get caught by the moving cutter head. Fasten your long hair above your shoulders.- Verify the string trimmer is in perfect working conditions. Do not turn on is not properly adjusted or fully assembled to work in a safe manner, or if the fuel tank shows leakage or loose screws.
- Verify the string trimmer is clean, dry and free of oil or fuel.
- Double-check the work area is in an open area and is well ventilated.
- Check the work area. Remove stones, pieces of broken glass, nails, wire or rope. They could be soot out or be tangled in the string trimmer.
- In extreme temperatures verify there are no ice formations or condensation in the string trimmer.
- Verify visibility and light condition are adequate to see clearly. Otherwise do not use the string trimmer.
After operating the string trimmer
WARNING Do not try to stop the cutter head rotating movement in any other way than releasing the switch. Wait for the cutter head stop after shutting off the string trimmer. It will take a couple of seconds.
CAUTION Always carry the string trimmer with the motor off and the muffler away from your body. Before putting the string trimmer in a vehicle, drain the fuel tank.
WARNING Turn off the motor before idling the string trimmer. DO NOT leave the motor running unattended. Wait for the string trimmer to cool off before storing
CAUTION Highly trained personnel string trimmer should only carry out service and repairs.
Parts

WARNING Do not try to modify the tool or manufacture accessories that are not recommended. Otherwise there is hazard of severe personal injury and making the warranty void.
WARNING When assembling parts disconnect the spark plug cable from the motor, to prevent an accidental start and cause severe injury.
Assembly
Guard
- Install the guard into the gearbox before setting the line spool.
- Fix the guard using the three Allen screws included.
- Remember to correctly install the guard before starting the brush cutter.
- Use care and do not touch the cutting edge of the line-cutting blade.

Shaft
- Align the safety pin (a) of the lower shaft with the middle hole in the clamp (b).
- Press the safety pin down and insert the lower shaft into the clamp.
- Release the safety pin; ensure that it engages in the hole on the upper shaft .
- Tighten the locking knob anticlockwise to secure the connection (c).

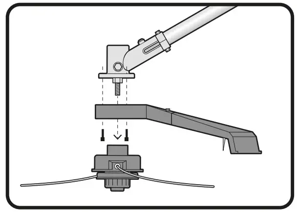
Auxiliary handle
- Install the auxiliary handle as shown in the figure.
- To operate comfortably move the auxiliary handle trough the string trimmer arm up to the right height.
- Tighten the screws to fix into position.

Harness
- Set the harness in the handle ring to support the string trimmer on the shoulder.

Cutting string replacement and mounting
- With the string trimmer turned off, remove the spool-retaining cap (A) turning clockwise.
- Remove the empty spool. Verify it is clean and has no damaged or worn parts.
- Cut 20´ length of cutting line. Make a loop in the middle of the line and insert the loop in the spool inner hook (B). Hold the line and wind it counter-clockwise. Double-check each end of the line is wound in its respective section (upper and lower). Do not wind too much line. After winding there shall remain a 0.2” minimum distance between the spool edge and the wound line.
- Leave approximate 6” unwound on both ends of the line and insert each one of them in the spool notches (C). This is to prevent the line to unwind while installing the spool in the brush cutter. Later on you will release the lines from their notches.
- Set back the spool in its cover passing the ends of each line through the cover orifices (D). If the line is loose or tangled in this step, wind it again in the spool and secure it in its notches.
- Set the spool cover in the axis (E) and secure the spool tightening the retention cap (A).
- Apply force and pull both ends of the cutting line outwards to release it from the notches in the upper side of the spool (G).

Fuel supply
- Follow the safety standards for handling fuel (Page 5).
- Allow the motor to completely cool down before filling up.
- Set the string trimmer lying it down onto a flat surface as shown in the figure.
- Wipe around the fuel tank cap to prevent contamination.
- Slowly loosen the fuel cap.
- Use care to avoid spillage. Pour the fuel mix into the fuel tank. Follow fuel specifications (Page 3).
- Before setting back the fuel cap check and clean the joints.
- Immediately set the fuel tank cap back and tighten by hand.
- Wipe clean any fuel spills. In a new motor and after running it for the first time it is normal that smoke emissions are present.

Start up
Starting
- Set the tool onto level ground using care the cutter head is not making contact with any obstacles.
- Set the switch in the ON position (A).
- When the motor cools down move the choke lever (B) upwards. Press and release the primer bulb (C) 6 times.
- If the motor is hot move the choke lever downwards. Do not use the primer bulb.
- Pull the starter/handle (D) quickly to start the motor. Once the motor is running do not release the starter/handle, carefully set it back to its initial position to prevent damaging it.
- Once the motor is running move the choke lever downwards.
- Let the motor run idle a couple of seconds.
- Set the harness onto your shoulder. Hold the string trimmer by both handles using both hands. Lift it to start cutting.
- Press the lock (E) and the throttle trigger (F) to start the cutting device.

Turning OFF
- Release the lock (E) and the accelerator trigger (F).
- Set the switch into the off position (G)

Operation
CAUTION Remember that you, being the string trimmer operator, are responsible of your safety and the safety of those who are near your work area. Follow all security standards (pages 4 and 5) before operating the= tool.- Keep good balance with both feet firmly set on ground.
- Use the harness to support the string trimmer weight. Hold firmly the string trimmer in front of you. Set one hand in the handle and the other in the auxiliary handle to have the tool aligned to your body and pointing the cutter head 30° downwards, away from your feet.
DANGER Do not turn on or operate the string trimmer in any other position.- Turn on the string trimmer and make cuts from left to right rotating your waist and keeping the tool position.
- As you cut grass the cutting thread will wear and will fall. To release more thread from the spool press the string trimmer lightly downwards to have the ground pressing the retention cap against the spool and to release more thread. The guard blade will cut the remaining thread. At this moment stop pushing the string trimmer against the ground to stop spending more thread.
- To cut brush or tall grasses make it gradually. Do not try to cut in one pass from its base because residue could clog the cutting head or make you loose control over the string trimmer.


Maintenance
- Before inspecting, cleaning or servicing the tool, turn off the motor. Wait for all the moving parts to stop. Disconnect the spark plug cable and separate it from the spark plug. Otherwise, you could be severely injured and the equipment could get damaged.
General cleaning
- Clean and unblock all the starter unit ventilation slots with a brush when necessary.
- In the same way, periodically clean the motor cylinder wings and the fan wings to remove dirt. Not doing it will cause the motor to overheat and get damaged.
Cleaning the air filter
- Remove the air filter cap loosening the cap knob.
- Remove the air filter.
- Depending of the time it has been used you can give a superficial cleaning to the filter by only tapping it against a flat surface to remove most of the particles.
- You can also blow the filter with compressed air. Do it in both sides.
- For a more complete cleaning wash the filter in lukewarm soapy water. Rinse it and let it dry before installing it back in the tool.
- Install back the air filter verifying it clicks in place.
- Clean the air filter as frequently as necessary to keep it always clean. Otherwise the motor performance will diminish.
Fuel filter
- Check frequently the gasoline filter.
- If the filter is dirty, replace it.
- In the gas tank interior is dirty rinse it with gasoline.
Carburetor adjustment
- We recommend making carburetor adjustments in a
Authorized Service Center. - A wrong adjustment can damage the motor and make the warranty void.
Spark plug replacement
- The motor uses a TORCH L8RTC spark plug with an electrode gap of 0.025”. Replace the spark plug once a year with a similar one.
- With a totally cold motor, loosen the worn spark plug turning left with a spark plug wrench and remove it.
- Insert the new spark plug and tighten to the right by hand. Tighten it half a turn more with the key included.
CAUTION Use care not to damage the spark plug thread. Otherwise the motor will be seriously damaged.
Exhaust and muffler cleansing
- The exhaust and muffler can be clogged with carbon deposits, depending on the type of fuel, the amount of oil used and / or the conditions the tool is used. If noticing loss of power you should remove the deposits to restore performance. Go to a
Authorized Service Center to have this service made. - The muffler is equipped with an anti-spark screen inside the muffler. After being used long periods of time the screen gets dirty and needs to be replaced. Go to a
Authorized Service Center to have it replaced. - CAUTION Check constantly that the muffler has the fasteners secured and that there is no damage or corrosion. If finding leaks, stop the tool and immediately go to a
Authorized Service Center to have it repaired.
Lubrication
- The cutting head gearbox inner ide is lubricated with multiple use grease with lithium base. Replace the grease every 25 hours of duty.
- To add the grease turn the screw (A) counterclockwise until it is removed. Use the grease gun and pump 2 times.

Tool storage
If storing the tool a month or more, be aware of the following:
- Drain all the contents in the fuel tank into an approved gasoline container. All the remaining fuel should be used again in other equipment with a two-cycle motor with a ratio of 50:1.
- Run the motor until the rest of the fuel is consumed and the motor shuts off by itself. This way all residual fuel will be eliminated and will prevent oil grums deposit build up that could damages the fuel system.
- Clean thoroughly.
- Store the tool in a ventilated space, away from corrosive agents like garden chemical substances or deicing salts. Also away from children.
- Comply with all the government rules regarding safety in handling and storing fuel.
| Regular maintenance | Every use | Every 25 h of use | Every 50 h of use | Every 150 h of use | Every 250 h of use |
| General cleaning | |||||
| Air filter cleaning | |||||
| Cutterhead gearbox lubrication | |||||
| Carburetor cleaning * | |||||
| Spark plug inspection and adjustment * | |||||
| Fuel tank cleaning ** | |||||
| Fuel filter change ** | |||||
| Fuel chamber replacement ** | |||||
| Combustion chamber cleaning ** |
Troubleshooting
| Problem | Cause | Solution |
| The motor does not start. |
|
|
|
| |
|
| |
| The motor starts but it is not accelerating |
|
|
| The motor starts, but it only runs at high speed with the choke at half position. |
|
|
| The motor is not gaining full speed and has too much smoke emissions. |
|
|
| The motor starts, works but it has no idle speed. |
|
|
- AGUASCALIENTES
- BAJA CALIFORNIA
- BAJA CALIFORNIA SUR
- CAMPECHE
- CHIAPAS
- CHIHUAHUA
- CIUDAD DE MÉXICO
- COAHUILA
- COLIMA
- DURANGO
- ESTADO DE MÉXICO
- GUANAJUATO
- GUERRERO
- HIDALGO’
- JALISCO
- MICHOACÁN
- MORELOS
- NAYARIT
- NUEVO
- OAXACA
- PUEBLA’
- QUERÉTARO
- QUINTANA ROO
- SAN LUIS POTOSÍ
- SINALOA
- SONORA
- TABASCO
- TAMAULIPAS
- TLAXCALA
- VERACRUZ
- YUCATÁN
Warranty
Duration: 1 year. Coverage: parts, components and workmanship against manufacturing or operating defects, except if used under conditions other than normal; when it was not operated in accordance with the instructive; was altered or repaired by personnel not authorized by Truper®. To make the warranty valid, present the product, stamped policy or invoice or receipt or voucher, in the establishment where you bought it or in Corregidora 22, Centro, Cuauhtémoc, CDMX, 06060, where you can also purchase parts, components, consumables and accessories. It includes the costs of transportation of the product that derive from its fulfillment of its service network. . Phone number 800-018-7873. Made in China. Imported by Truper, S.A. de C.V. Parque Industrial 1, Parque Industrial Jilotepec, Jilotepec, Edo. de Méx. C.P. 54257, Phone number 761 782 9100.




































