2101602
STRING TRIMMER
OPERATOR MANUAL
STF 307
DESCRIPTION
1.1 PURPOSE
This machine is used to cut grass, light weeds, and other similar vegetation at or around ground level. The cutting plane must be approximately parallel to the ground surface.
You cannot use the machine to cut or chop hedges, shrubs, bushes, flowers, and compost.
1.2 OVERVIEW

| 6. Guard 7. Battery release button 8. Lock-out button 9. Trigger |
IMPORTANT SAFETY INSTRUCTIONS
READ ALL INSTRUCTIONS BEFORE USING (THIS POWER TOOL)
WARNING
Read and understand all instructions before using this product. Failure to follow all instructions listed below may result in electric shock, fire, and/or serious personal injury.
- Use only identical manufacturer’s replacement parts and accessories. The use of any other parts may create a hazard or cause product damage.
- Always wear safety glasses with side shields marked to comply with ANSI Z87.1. Everyday glasses have only impact-resistant lenses. They are NOT safety glasses.
- Following this rule will reduce the risk of eye injury. Use a face mask if operating in dusty workspaces.
- Avoid Dangerous Environment – Don’t expose power tools to damp or wet conditions.
- Water entering a power tool will increase the risk of electric shock.
- Don’t use it in rain.
- Keep all bystanders, children, and pets at least 50 ft. away.
- Dress Properly – Do not wear loose clothing or jewelry.
- They can be caught in moving parts.
- Use of rubber gloves and substantial footwear is recommended when working outdoors.
- Wear protective hair covering to contain long hair.
- Use the right Appliance. Do not use an appliance for any job except that for which it is intended.
- Avoid Unintentional Starting – Don’t carry an appliance with a finger on the switch. Be sure the switch is off when the battery is plugged in.
- Don’t Force Appliance – It will do the job better and with less likelihood of a risk of injury at the rate for which it was designed.
- Don’t overreach – Keep proper footing and balance at all times.
- Stay alert – Watch what you are doing.
- Use common sense. Do not operate this unit when you are tired, ill, or under the influence of alcohol, drugs, or medication.
- Always store idle power tools indoors – When not in use, power tools should be stored indoors in a dry and high or locked-up place, out of reach of children.
- Maintain Appliance With Care – Replace string head that is cracked, chipped, or damaged in any way. Be sure the string head is properly installed and securely fastened.
- Keep the cutting edge sharp and clean for best performance and to reduce the risk of injury.
- Follow instructions for lubricating and changing accessories.
- Inspect appliance cord periodically, and if damaged, have it repaired by an authorized service facility.
- Inspect extension cords periodically and replace them if damaged. Keep handles dry,
clean, and free from oil and grease. Failure to do so can cause serious injury. - Check damaged parts before using the appliance, a guard or other part that is damaged should be carefully checked to determine that it will operate properly and perform its intended function.
- Check for alignment of moving parts, binding of moving parts, breakage of parts, damaged mountings, and any other condition that may affect its operation.
- A guard or other part that is damaged should be properly repaired or replaced by an authorized service center unless indicated elsewhere in this manual.
- Remove or disconnect the battery before servicing, cleaning, or removing material from the gardening appliance.
- Do not modify or attempt to repair the appliance or the battery pack (as applicable) except as indicated in the instructions for use and care. Use appliances only with specifically designated battery packs. Use of any other battery packs may create a risk of injury and fire. Use only with Greenworks 29662/BAF735 battery or other BAF series.
- Recharge only with the charger specified by the manufacturer. A charger that is suitable for one type of battery pack may create a risk of fire when used with another battery pack. Use only with Greenworks 29692 charger or other CAF series.
- When the battery pack is not in use, keep it away from other metal objects, like paper clips, coins, keys, nails, screws, or other small metal objects, that can make a connection from one terminal to another. Shorting the battery terminals together may cause a fire.
- Under abusive conditions, liquid may be ejected from the battery; avoid contact. If contact accidentally occurs, flush with water. If liquid contacts the eyes, additionally seek medical help. Liquid ejected from the battery may cause irritation or burns.
- Do not use a battery pack or appliance that is damaged or modified. Damaged or modified batteries may exhibit unpredictable behavior resulting in fire, explosion, or risk of injury.
- Do not expose a battery pack or appliance to fire or excessive temperature. Exposure to fire or temperature above 265 °F (130 °C) may cause an explosion.
- Do not dispose of the batteries in a fire. The cells may explode. Check with local codes for possible special disposal instructions.
- Do not open or mutilate the batteries. Released electrolyte is corrosive and may cause damage to the eyes or skin. It may be toxic if swallowed.
- Exercise care in handling batteries in order not to short the battery with conducting materials such as rings, bracelets, and keys. The battery or conductor may overheat and cause burns.
- Follow all charging instructions and do not charge the battery pack or appliance outside of the temperature range specified in the instructions. Charging improperly or at
temperatures outside of the specified range may damage the battery and increase the risk of fire. - Have servicing performed by a qualified repair person using only identical replacement parts. This will ensure that the safety of the product is maintained.
- Keep guards in place and in working order.
- Keep hands and feet away from the cutting area.
- Disconnect the battery pack from the appliance before making any adjustments, changing accessories, or storing the appliance. Such preventive safety measures reduce the risk of starting the appliance accidentally.
- Use only with the nylon cutting line of 0.065″ (1.65 mm) diameter. Do not use heavier lines than recommended by the manufacturer and line materials of other types – for example, metal wire, rope, and the like.
SAVE THESE INSTRUCTIONS
SYMBOLS ON THE MACHINE
Some of the following symbols can be used on this machine.
Please study them and learn their definition. Proper interpretation of these symbols will let you operate the tool better and safer.
Symbol | Explanation |
V | Voltage |
A | Current |
112 | Frequency (cycles per second) |
W | Power |
min | Time |
/min | Revolutions, strokes, surface speed, orbits, etc., per minute |
| Direct current |
| Precautions that involve your safety. | |
| Read and understand all instructions before you operate the machine and follow all warnings and safety instructions. | |
![]() | Always wear safety glasses with side shields marked to comply with ANSI Z87. When you operate this machine. |
| Do not expose the machine to rain or moist conditions. | |
| Keep all bystanders at least 15m away. | |
| Do not install or use any type of blade on the machine or display this symbol. | |
| Thrown objects can ricochet and result in personal injury or property damage. |
RISK LEVELS
The following signal words and meanings are intended to explain the levels of risk associated with this product.
| SYMBOL | SIGNAL | MEANING |
![]() | DANGER | Indicates an imminently hazardous situation, which, if not avoided, will result in death or serious injury. |
![]() | WARNING | Indicates a potentially hazardous situation, which, if not avoided, could result in death or serious injury. |
![]() | CAUTION | Indicates a potentially hazardous situation, which, if not avoided, may result in minor or moderate injury. |
| CAUTION | (Without Safety Alert Symbol) Indicates a situation that may result in property damage. |
SERVICE
Servicing requires extreme care and knowledge and must be performed only by a qualified service technician. For service, we suggest you return the machine to your nearest AUTHORIZED SERVICE CENTER for repair. Use only identical manufacturer’s replacement parts and accessories.
ENVIRONMENTALLY SAFE BATTERY DISPOSAL
![]()
The toxic and corrosive materials below are in the batteries used in this machine: Lithium-Ion, a toxic material.
WARNING
Discard all toxic materials in a specified manner to prevent contamination of the environment. Before discarding a damaged or worn-out Li-ion battery, contact your local waste disposal agency, or the local Environmental Protection Agency for information and specific instructions.
Take the batteries to a local recycling and/or disposal center, ertified for lithium-ion disposal.
WARNING
If the battery pack cracks or breaks, with or without leaks, do not recharge it and do not use it.
Discard it and replace it with a new battery pack. DO NOT TRY TO REPAIR IT!
prevent injury and risk of fire, explosion, or electric shock, and avoid damage to the environment:
- Cover the terminals of the battery with heavy-duty adhesive tape.
- DO NOT try to remove or destroy any of the battery pack components.
- DO NOT try to open the battery pack.
- If a leak develops, the released electrolytes are corrosive and toxic.
- DO NOT get the solution in the eyes or on the skin, and do not swallow it.
- DO NOT put these batteries in your regular household trash.
- DO NOT incinerate.
- DO NOT put them where they will become part of any waste landfill or municipal solid waste stream.
- Take them to a certified recycling or disposal center.
PROPOSITION 65
WARNING
This product contains a chemical known to the state of California to cause cancer, birth defects, or other reproductive harm. Some dust created by power sanding, sawing, grinding, drilling, and other construction activities contain chemicals known to cause cancer, birth defects, or other reproductive harm. Some examples of these chemicals are:
- Lead from lead-based paints;
- Crystalline silica from bricks and cement and other masonry products;
- Arsenic and chromium from chemically treated lumber.
Your risk of exposure to these chemicals varies depending on how often you do this type of work. To reduce your exposure to these chemicals, work in a well-ventilated area, and work with approved safety equipment, such as dust masks that are specially designed to filter out microscopic particles.
INSTALLATION
8.1 UNPACK THE MACHINE
WARNING
Make sure that you correctly assemble the machine before use.
WARNING
- If parts of the machine are damaged, do not use the machine.
- If you do not have all the parts, do not operate the machine.
- If parts are damaged or missing, contact the service center.
1. Open the package.
2. Read the documentation provided in the box.
3. Remove all the unassembled parts from the box.
4. Remove the machine from the box.
5. Discard the box and packing material in compliance with local regulations.
8.2 ATTACH THE GUARD
WARNING
Do not touch the cut-off blade.
- Remove the screws (1) from the trimmer head with a Phillips head screwdriver (not included).

- Put the guard (2 ) onto the trimmer head.
- Align the screw holes on the guard (3 )with the screw holes on the trimmer head (4 ).

- Tighten the screws.

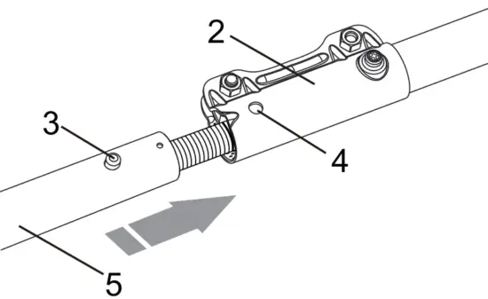
8.3 ASSEMBLE THE SHAFT
- Loosen the screw (1) on the coupler (2).

- Push in the release button on the lower shaft (5).
- Align the release button (3) with the positioning hole (4) and slide the two shafts together.
- Turn the lower shaft until the button locks into the positioning hole.
- Tighten the screw (1) with the Allen key.

8.4 ATTACH THE AUXILIARY HANDLE
- Press the auxiliary handle (1) onto the upper shaft.
- Slide the auxiliary handle over the metal ring (2) and ensure the metal ring fits between the slot on the auxiliary handle.

- Align the holes on the auxiliary handle with the holes on a metal ring.

- Tighten the auxiliary handle with the knob (3).

8.5 INSTALL THE BATTERY PACK
WARNING
- If the battery pack or charger is damaged, replace the battery pack or the charger.
- Stop the machine and wait until the motor stops before you install or remove the battery pack.
- Read and understand the instructions in the battery and charger manual.
- Align the lift ribs (3 ) on the battery pack with the grooves in the battery compartment.
- Push the battery pack into the battery compartment until the battery pack locks into place.
- When you hear a click, the battery pack is installed.

8.6 REMOVE THE BATTERY PACK
- Push and hold the battery release button (1).
- Remove the battery pack from the machine.
OPERATION
i IMPORTANT
Before you operate the machine, read and understand the safety regulations and the operating instructions.
WARNING
Be careful when you operate the machine.
9.1 START THE MACHINE
- Push the lock-out button (1) and pull the trigger (2). Once the machine is running you can release the lock-out button.

9.2 STOP THE MACHINE
- Release the trigger to stop the machine.
9.3 ADJUST THE LENGTH OF THE CUTTING LINE
i NOTE
The machine has an auto-feed head. It will damage the machine if you hit the head to try to advance the line.i NOTE
If the cutting line does not automatically advance, it can be tangled or empty.
- When the machine is on, release the trigger
- Wait two seconds, and push the trigger again.
- Resume trimming.
i NOTE
The line will extend approximately 0.4 in. with each stop and start of the switch trigger until the line reaches the cutoff blade and the cut-off blade cuts the excess length.
9.4 ADJUST THE LENGTH OF THE CUTTING LINE MANUALLY
- Stop the machine. Remove the battery from the unit.
- Push the spool retainer button (1) and pull on the cutting line to manually advance the cutting line.
- After you extend the new cutter line, always return the machine to its normal position before you start it again.

9.5 OPERATION TIPS
WARNING
Keep clearance between the body and the machine.
WARNING
Do not operate the machine without a guard in place.
Do these tips when you use the machine
- Keep a firm hold with the two hands on the machine while you operate the machine.
- Cut tall grass from the top down.
If grass winds around the trimmer head:
- Remove the battery pack.
- Remove the grass.

9.6 CUTTING TIPS
- Tilt the machine toward the area to be cut. Use the tip of the cutting line to cut grass.
- Move the machine from right to left to prevent thrown debris from hitting the operator.
- Do not cut in the danger area.
- Do not force the trimmer head into uncut grass.
- Wire and picket fences cause cutting line wear and breakage. Stone and brick walls, curbs, and wood can wear the cutting line quickly.

9.7 LINE CUT-OFF BLADE
This trimmer is equipped with a line cut-off blade (1) on the guard. The line cut-off blade continuously trims the line to ensure a consistent and efficient cut diameter. Advance one whenever you hear the engine running faster than normal, or when trimming efficiency diminishes. This will maintain the best performance and keep the line long enough to advance properly.

MAINTENANCE
i IMPORTANT
Read and understand the safety regulations and the maintenance instructions before you clean, repair or do the maintenance work on the machine.i IMPORTANT
Make sure that all nuts, bolts, and screws are tight. Examine regularly that you install the handles tightly.i IMPORTANT
Use only the replacement parts and accessories of the initial manufacturer.
10.1 GENERAL INFORMATIONi IMPORTANT
Only your dealer or approved service center can do the maintenance that is not given in this manual.
Before the maintenance operations:
- Stop the machine.
- Remove the battery pack.
- Cool the motor.
- Store the machine in a cool and dry place.
- Use correct clothing, protective gloves, and safety glasses.
10.2 CLEAN THE MACHINE
- Clean the machine after use with a moist cloth dipped in neutral detergent.
- Do not use aggressive detergents or solvents to clean the plastic parts or handles.
- Keep the trimmer head free of grass, leaves, or excessive grease.
- Keep the air vents clean and free of debris to avoid overheating and damage to the motor or the battery.
- Do not spray water onto the motor and electrical components.
10.3 REPLACE THE SPOOL
- Push the tabs on the sides of the trimmer head at the same time.

- Pull and remove the spool cover.

- Remove the remaining spool.

- Put the spool in the spool housing.
iNOTE
Make sure that you put the cutting line in the slot on the new spool and extend the line approximately 15 cm before you install the new spool. - Put the ends of the cutting lines through the holes.
- Extend the cutting line to release it from the guide slot in the spool.

10.4 REPLACE THE CUTTING LINEi NOTE
Remove the remaining cutting line on the spool.i NOTE
Use only with the nylon cutting line of 0.065″ (1.65 mm) diameter.
- Cut two pieces of cutting line approximately 3m long each.
- Bend one end of the line 1/4 of an inch (6.35mm).

- Put the lines into the anchor holes of the spool.

- Wind the cutting lines around the spool tightly in the indicated direction.

- Put the cutting lines in the guide slots.

- Do not wind the cutting line beyond the edge of the spool.
TRANSPORTATION AND STORAGE
WARNING
Remove the battery pack from the machine before transportation and storage.
11.1 MOVE THE MACHINE
When you move the machine, you must:
- Wear gloves.
- Stop the machine.
- Remove the battery pack and charge it.
- Assemble the blade guard.
11.2 STORE THE MACHINE
- Remove the battery pack from the machine.
- Make sure that children cannot come near the machine.
- Keep the machine away from corrosive agents such as garden chemicals and de-icing salts.
- Secure the machine during transportation to prevent damage or injury. Clean and examine the machine for any damage.
TROUBLESHOOTING
| Problem | Possible Cause | Solution |
| The ma-chine does not start when you push the trigger. | No electrical contact between the machine and the battery pack. | 1. Remove battery pack. 2. Check contact and install the battery pack again. |
| The battery pack is depleted. | Charge the battery pack. | |
| The lock-out button and trigger are not pushed at the same time. | 1. Pull the lock-out button and hold it. 2. Pull the trigger to start the machine. | |
| The machine stops when you cut. | The guard is not attached to the machine. | Remove the battery pack and attach the guard to the machine. |
| A heavy cutting line is used. | Use only with the nylon cutting line of 0.065″ (1.65 mm) diameter. | |
| The grass winds around the motor shaft or the trimmer head. | 1. Stop the machine. 2. Remove the battery pack. 3. Remove the grass from the motor shaft and trimmer head. | |
| the motor is over-loaded. | 1. Remove the trimmer head from the grass. 2. The motor will recover to work as soon as the load is removed. 3. When you cut, move the trimmer head in and out of the grass to be cut and remove no more than 8″ in pass. | |
| The battery pack or machine is too hot. | 1. Cool the battery pack until its function returns to normal. 2. Cool the machine for approximately 10 minutes. | |
| The battery pack is disconnected from the tool. | Install the battery pack again. | |
| The battery pack is depleted. | Charge the battery pack. |
| Problem | Possible Cause | Solution |
| The line does not add Vance. | Lines are welded to themselves. | Lubricate with silicone spray. |
| Not enough line on the spool. | Install more lines. | |
| Lines are worn too short. | Advance the cutting line. | |
| Lines are tangled on spool | I. Remove the lines from the spool. 2. Wind the lines. | |
| The line keeps breaking. | The machine is used incorrectly. | I. Cut with the tip of the line, avoid stones, walls, and other hard objects. 2. Advance the cutting line regularly to keep full cutting width. |
| The grass winds around the trimmer head and motor hour- ing. | Cut tall grass at ground level. | I. Cut tall grass from the top down. 2. Remove no more than 8″ in each pass to prevent wrapping. |
| The line does not cut well. | The cut-off blade becomes dull. | Sharpen the cut-off blade with a file or replace it |
| Vibration increases obviously. | The line is worn down at one side and not advanced in time. | Make sure that the line on both sides is normal. Advance the line. |
TECHNICAL DATA
| Type | Cordless, battery-powered |
| Motor | 40V Brushed |
| No-load speed | 7500 (t10f/0) RPM |
| Cutting line diameter | 0.065″ (1.65 mm) |
| Cutting path diameter | 12″ (30 cm) |
| Feed Type | Auto Feed |
| Weight (without battery pack) | 6.06 lbs (2.75 kg) |
| Battery model | 29662/BAF735 and other BAF series |
| Charger model | 29692 and other CAF series |
The recommended ambient temperature range:
| Item | Temperature | ||
| String trimmer storage temperature range | 32°F | (0°C) | – 113°F (45°C) |
| String trimmer operation temperature range | 32°F | (0°C) | – 113°F (45°C) |
| Battery charging temperature range | 39°F | (4°C) | – 104°F (40°C) |
| Charger operation temperature range | 39°F | (4°C) | – 104°F (40°C) |
| Battery storage temperature range | 32°F | (0°C) | – 113°F (45°C) |
| Battery discharging temperature range | 32°F | (0°C) | – 113°F (45°C) |
LIMITED WARRANTY
Greenworks hereby warranties this product, to the original purchaser with proof of purchase, for a period of three (3) years against defects in materials, parts, or workmanship. Greenworks, at its own discretion, will repair or replace any and all parts found to be defective, through normal use, free of charge to the customer. This warranty is valid only for units that have been used for personal use that has not been purchased or rented for industrial/commercial use, and that has been maintained in accordance with the instructions in the owners’ manual supplied with the product when new.
ITEMS NOT COVERED BY WARRANTY:
- Any part that has become inoperative due to misuse, commercial use, abuse, neglect, accident, improper maintenance, or alteration; or
- The unit, if it has not been operated and/or maintained in accordance with the owner’s manual; or
- Normal wear;
- Routine maintenance items such as lubricants, blade sharpening;
- Normal deterioration of the exterior finish due to use or exposure.
HELPLINE:
Warranty service is available by calling our toll-free helpline at 1-888-909-6757.
TRANSPORTATION CHARGES:
Transportation charges for the movement of any power equipment unit or attachment are the responsibility of the purchaser. It is the purchaser’s responsibility to pay transportation charges for any part submitted for replacement under this warranty unless such return is requested in writing by Greenworks.
USA address:
Greenworks Tools
P.O. Box 1238
Canadian address:
Greenworks Tools Canada, Inc.
P.O. Box 93095, Newmarket, Ontario
Mooresville, NC 28115 L3Y 8K3
REPLACEMENT PARTS
| No. | Part No. | I6. | Description | No. | Part No. | 1g | Description |
| 1 | RA3I1021426 | 1 | Auxiliary handle assembly | 3 | R0202538-00 | I | Edge guide |
| 1.1 | R0202506-00 | 1 | Auxiliary handle | 4 | R0202535-00 | 1 | Guard assembly |
| 1.2 | R0202533-00 | I | Metal ring | 5 | R0202536-00 | 1 | Spool |
| 1.3 | R0202534-00 | I | Knob | 6 | R0202537-00 | 1 | Spool cover |
| 2 | R0201886-00 | 1 | Coupler screw |







































