THRUSTMASTER 4169080 T150 RS Racing Wheel and Pedals User Manual
WARNING:
To ensure that your T150 racing wheel functions correctly with games, you may be required to install the game’s automatic updates (available when your console is connected to the Internet).
TECHNICAL FEATURES


- T150 base
- Wheel
- 2 sequential paddle shifters (up & down)
- Directional buttons
- Built-in USB sliding switch for PS5™ consoles, PS4™ consoles and PS3™ systems
- MODE button + red/green indicator light
- SELECT/START buttons on PS3™ systems, SHARE/OPTIONS on PS4™ consoles and CREATE/OPTIONS on PS5™ consoles
- PS button
- Large threaded hole (for attachment system and fastening screw)
- Attachment system
- Metal fastening screw
- Steering axis
- L3/R3 buttons
- Power cable or Power supply connector (varies from one country to another)
- Racing wheel USB cable and connector
- Gearbox connector (gearbox sold separately)
- Pedal set connector
IMPORTANT SAFTEY INSTRUCTIONS
PLUGGING THE RACING WHEEL INTO AN ELECTRICAL OUTLET:
PLEASE READ BEFORE PROCEEDING!
Your racing wheel’s power supply varies according to the country where you purchased your device.
European versions only
Important note: the European version of the T150 is equipped with an internal power supply, located directly inside the racing wheel’s base.
The European version must exclusively be supplied with 220V!
Never open the racing wheel base – shock hazard!
CAUTION
RISK OF ELECTRIC SHOCK!
Power Supply
220~240V 50Hz 0.8A
Simply connect the racing wheel’s mains connector to a 220V power outlet. Other versions (non-European)
Note: Contrary to the European version, the non-European T150 features an external power supply; a specific device is provided with the racing wheel.
- Connect the external adapter to the relevant connector located at the back of the racing wheel, then connect the external mains power adapter to a standard power outlet featuring the same voltage.
WARNING
Before using this product, please read this manual carefully and save it for later reference.
Warning – Electrical shock
- Keep the product in a dry location and do not expose it to dust or sunlight.
- Do not twist or pull on the connectors and cables.
- Do not spill any liquid on the product or its connectors.
- Do not short-circuit the product.
- Never dismantle the product; do not throw it onto a fire and do not expose it to high temperatures.
- Do not use a power supply cable other than the one provided with your racing wheel.
- Do not use the power supply cable if the cable or its connectors are damaged, split or broken.
- Make sure that the power supply cable is properly plugged into an electrical outlet, and properly connected to the connector at the rear of the racing wheel’s base.
- Do not open up the racing wheel: there are no user-serviceable parts inside. Any repairs must be carried out by the manufacturer, its authorised representative or a qualified technician.
- Only use attachment systems/accessories specified by the manufacturer.
- If the racing wheel is operating abnormally (if it is emitting any abnormal sounds, heat or odors), stop using it immediately, unplug the power supply cable from the electrical outlet and disconnect the other cables.
- If you will not be using the racing wheel for an extended period of time, unplug its power supply cable from the electrical outlet.
- The electrical outlet must be located near the equipment and must be easily accessible.
Air vents
Make sure not to block any of the air vents on the racing wheel’s base. For optimal ventilation, make sure to do the following:
- Position the wheel’s base at least 10cm away from any wall surfaces.
- Do not place the base in any tight spaces.
- Do not cover the base.
- Do not let any dust build up on the air vents.
For safety reasons, never use the pedal set with bare feet or while wearing only socks on your feet.
THRUSTMASTER® DISCLAIMS ALL RESPONSIBILITY IN THE EVENT OF INJURY RESULTING FROM USE OF THE PEDAL SET WITHOUT SHOES.
Warning – Injuries due to force feedback and repeated movements
Playing with a force feedback racing wheel may cause muscle or joint pain. To avoid any problems:
- Avoid lengthy gaming periods.
- Take 10 to 15 minute breaks after each hour of play.
- If you feel any fatigue or pain in your hands, wrists, arms, feet or legs, stop playing and rest for a few hours before you start playing again.
- If the symptoms or pain indicated persist when you start playing again, stop playing and consult your doctor.
- Keep out of children’s reach.
- During gameplay, always leave both hands correctly positioned on the wheel without completely letting go.
- During gameplay, never place your hands or your fingers under the pedals or anywhere near the pedal set.
- During calibration and gameplay, never place your hand or your arm through the openings in the racing wheel.
- Make sure that the racing wheel’s base is properly secured, as per this manual’s instructions.
HEAVY PRODUCT
Product to be handled only by users 14 years of age or older
Be careful not to drop the product on yourself or on anyone else!

Warning – Pedal set pinch hazard when playing
- Keep the pedal set out of children’s reach.
- During gameplay, never place your fingers on or anywhere near the sides of the pedals.
- During gameplay, never place your fingers on or anywhere near the pedal’s rear base.
- During gameplay, never place your fingers on or anywhere near the pedal’s front base.

Warning – Pedal set pinch hazard when not playing
- Store the pedal set in a safe place, and keep it out of children’s reach.
UPDATING YOUR RACING WHEEL’S FIRMWARE
The firmware included in your racing wheel’s base can be updated to a more recent version featuring product enhancements.
To display the firmware version that your racing wheel is currently using and update it if required: on PC, visit https://support.thrustmaster.com/. Click Racing Wheels / T150, then select Firmware and follow the instructions describing the download and installation procedure.
Important note:
On PC, the USB sliding switch (5) on the racing wheel’s base must always be set to the PS3™ position.
ADJUSTING THE PEDAL INCLINATION
The pedal inclination is adjustable.
The adjustment instructions for each pedal are available at https://support.thrustmaster.com/.
Click Racing Wheels / T150, then select Manual or FAQ.
ATTACHING THE RACING WHEEL
Attaching the racing wheel to a table or a desktop
- Place the racing wheel on a table or any other horizontal, flat and stable surface.
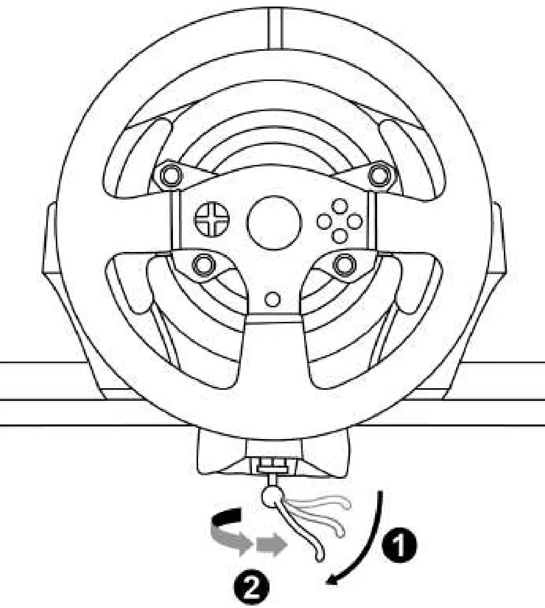
- Insert the fastening screw (11) in the attachment system (10), then tighten the device by turning the screw counterclockwise, so that it feeds into the large threaded hole (9) located beneath the racing wheel, until the wheel is perfectly stable.

WARNING: Never tighten the screw alone, without the attachment system in place! (This could damage the racing wheel.)
ATTACHMENT / REMOVAL | DIRECTION |
| To tighten: Turn the screw counterclockwise |
|
| To release: Turn the screw clockwise |
|
Attaching the pedal set to a cockpit
- Attach the pedal set using the small screw threads located on its underside.
- Drive two M6 screws (not included) through the cockpit shelf, then feed them into the two small screw threads located on the underside of the pedal set.
Important: The length of the two M6 screws must not exceed the thickness of the shelf + 10 mm; longer screws could cause damage to internal components located in the pedal set.
Layout diagrams for cockpits (for positioning the racing wheel’s base and/or the pedal set) are
available at https://support.thrustmaster.com: click Wheels / T150, then select Manual or FAQ.
MAPPING FOR PLAYSTATION®5 CONSOLES, PLAYSTATION®4 CONSOLES, AND PLAYSTATION®3 SYSTEMS

SETTING UP THE RACING WHEEL FOR PLAYSTATION®5 CONSOLES, PLAYSTATION®4 CONSOLES AND PLAYSTATION®3 SYSTEMS
- Connect the pedal set to the connector (17) located at the back of the racing wheel’s base.
- Connect the power supply cable to the connector (14) located at the back of the racing wheel’s base.
- Plug the power supply cable into an electrical outlet with the same voltage specifications.
For more information about this, please refer to the PLUGGING THE RACING WHEEL INTO AN ELECTRICAL OUTLET section, on page 3 in this manual. - Set the USB sliding switch (5) on the racing wheel’s base, depending on the console or the game you are using.
- Connect the racing wheel’s USB connector (15) to one of the console’s USB ports.
- Once your console is powered on, your racing wheel will calibrate itself automatically.
- On PlayStation®5 consoles and PlayStation®4 consoles (when the USB sliding switch is set to the PS5™-PS4™ position): press the racing wheel’s PS button (8) and sign in to your PlayStation™Network account, in order to be able to use the wheel.
You are now ready to play!
Important notes:
- The USB sliding switch (5) on the racing wheel’s base must always be set to the proper position (PS5™-PS4™ or PS3™) before connecting the wheel’s USB cable to the console. To change the sliding switch’s position, disconnect the USB cable from the console and then change the position of the switch before reconnecting the USB cable to the console.
- On PlayStation®3 systems, the USB sliding switch (5) must always be set to the PS3™ position:
- The wheel is recognised in most games as a T500RS wheel.
- The wheel is functional in compatible games and in console menus.
- The “PS” function is functional on the wheel.
- On PlayStation®5 consoles and PlayStation®4 consoles, with the USB sliding switch (5) in the PS5™-PS4™ position:
- Don’t forget to press the racing wheel’s PS button (8) in order to be able to use the wheel.
- The wheel is recognised in most games as a T300 RS or T150 wheel.
- The wheel is functional in compatible games and in console menus.
- The “CREATE/SHARE” and “PS” functions are functional on the wheel.
- The list of games compatible with the PS5™ console, PS4™ console, and PS3™ system and the T150 (along with the required position for the USB sliding switch (5) according to the game being played) is available at: https://support.thrustmaster.com (click Racing Wheels / T150 Force Feedback / Games settings). This list is updated regularly.
AUTOMATIC RACING WHEEL AND PEDAL SET CALIBRATION
The wheel automatically self-calibrates when you plug the racing wheel into an electrical outlet and connect the racing wheel’s USB connector to the PlayStation®5 console, PlayStation®4 console or PlayStation®3 system.
During this phase, the racing wheel will rotate quickly towards the left and the right, covering a 1080 degree angle, before stopping at the center.
WARNING:
Never touch the racing wheel during the self-calibration phase!
(This could result in improper calibration and/or personal injuries.)
AUTOMATIC CALIBRATION OF THE PEDAL SET
Never connect the pedal set to the racing wheel’s base (or disconnect it from the base) when it is connected to the console or during gameplay (this could result in improper calibration).
Always connect the pedal set before connecting the racing wheel to the console.
Once the racing wheel’s calibration is complete and the game has been started, the pedals are automatically calibrated after a few presses.
WARNING:
Never press the pedals during the racing wheel’s self-calibration phase or while a game is loading! (This could result in improper calibration.)
If your racing wheel and/or pedal set do not function correctly, or if they seem to be improperly calibrated:
Power off your console and completely disconnect the racing wheel. Then reconnect all cables (including the power supply cable and the pedal set), and restart your console and your game.
MODE button for the pedal set
The pedal set included with the T150 features 2 pedals.
When using this pedal set, make sure that the indicator light remains red, or else the gas pedal will not function properly.
The T150 is also compatible with Thrustmaster pedal sets featuring 3 pedals (sold separately); these allow you to electronically swap the accelerator and clutch pedals.
To do so, simply press the MODE button (6) for 2 seconds.
The racing wheel’s internal memory stores whether the pedals have been swapped around or not.
| GAS AND CLUTCH PEDALS | Colour of the MODE indicator light (6) |
| NORMAL | RED |
| SWAPPED AROUND | GREEN |
Other information regarding the MODE button
To learn more about the MODE button and indicator light, please visit https://support.thrustmaster.com/. Click Racing Wheels / T150, and then select Manual or FAQ.
HELP FILES AND FAQS
Please visit https://support.thrustmaster.com/. Click Racing Wheels / T150, and then select Manual or FAQ.
SETTING UP THE RACING WHEEL FOR PC*
UPDATING YOUR RACING WHEEL’S FIRMWARE
- PC compatibility not endorsed by Sony Interactive Entertainment Europe and Sony Interactive Entertainment LLC.
For more information, visit https://support.thrustmaster.com/.
CONSUMER WARRANTY INFORMATION
Worldwide, Guillemot Corporation S.A., whose registered office is located at Place du Granier, B.P. 97143, 35571 Chantepie, France (hereinafter “Guillemot”) warrants to the consumer that this Thrustmaster product shall be free from defects in materials and workmanship, for a warranty period which corresponds to the time limit to bring an action for conformity with respect to this product. In the countries of the European Union, this corresponds to a period of two (2) years from delivery of the Thrustmaster product. In other countries, the warranty period corresponds to the time limit to bring an action for conformity with respect to the Thrustmaster product according to applicable laws of the country in which the consumer was domiciled on the date of purchase of the Thrustmaster product (if no such action exists in the corresponding country, then the warranty period shall be one (1) year from the original date of purchase of the Thrustmaster product).
Should the product appear to be defective during the warranty period, immediately contact Technical Support, who will indicate the procedure to follow. If the defect is confirmed, the product must be returned to its place of purchase (or any other location indicated by Technical Support).
Within the context of this warranty, the consumer’s defective product shall, at Technical Support’s option, be either replaced or returned to working order. If, during the warranty period, the Thrustmaster product is subject to such reconditioning, any period of at least seven (7) days during which the product is out of use shall be added to the remaining warranty period (this period runs from the date of the consumer’s request for intervention or from the date on which the product in question is made available for reconditioning, if the date on which the product is made available for reconditioning is subsequent to the date of the request for intervention). If permitted under applicable law, the full liability of Guillemot and its subsidiaries (including for consequential damages) is limited to the return to working order or the replacement of the Thrustmaster product. If permitted under applicable law, Guillemot disclaims all warranties of merchantability or fitness for a particular purpose.
This warranty shall not apply:
- if the product has been modified, opened, altered, or has suffered damage as a result of inappropriate or abusive use, negligence, an accident, normal wear, or any other cause unrelated to a material or manufacturing defect (including, but not limited to, combining the Thrustmaster product with any unsuitable element, including in particular power supplies, rechargeable batteries, chargers, or any other elements not supplied by Guillemot for this product);
- if the product has been used for any use other than home use, including for professional or commercial purposes (game rooms, training, competitions, for example);
- in the event of failure to comply with the instructions provided by Technical Support;
- to software, said software being subject to a specific warranty;
- to consumables (elements to be replaced over the product’s lifespan: disposable batteries, audio headset or headphone ear pads, for example);
- to accessories (cables, cases, pouches, bags, wrist-straps, for example);
- if the product was sold at public auction.
This warranty is nontransferable.
The consumer’s legal rights with respect to laws applicable to the sale of consumer goods in his or her country are not affected by this warranty.
Additional warranty provisions
During the warranty period, Guillemot shall not provide, in principle, any spare parts, as Technical Support is the only party authorized to open and/or recondition any Thrustmaster product (with the exception of any reconditioning procedures which Technical Support may request that the consumer carry out, by way of written instructions – for example, due to the simplicity and the lack of confidentiality of the reconditioning process – and by providing the consumer with the required spare part(s), where applicable).
Given its innovation cycles and in order to protect its know-how and trade secrets, Guillemot shall not provide, in principle, any reconditioning notification or spare parts for any Thrustmaster product whose warranty period has expired.
In the United States of America and in Canada, this warranty is limited to the product’s internal mechanism and external housing. In no event shall Guillemot or its affiliates be held liable to any third party for any consequential or incidental damages resulting from the breach of any express or implied warranties. Some States/Provinces do not allow limitation on how long an implied warranty lasts or exclusion or limitation of liability for consequential or incidental damages, so the above limitations or exclusions may not apply to you. This warranty gives you specific legal rights, and you may also have other rights which vary from State to State or Province to Province.
Liability
If permitted under applicable law, Guillemot Corporation S.A. (hereinafter “Guillemot”) and its subsidiaries disclaim all liability for any damages caused by one or more of the following: (1) the product has been modified, opened or altered; (2) failure to comply with assembly instructions; (3) inappropriate or abusive use, negligence, an accident (an impact, for example); (4) normal wear; (5) the use of the product for any use other than home use, including for professional or commercial purposes (game rooms, training, competitions, for example). If permitted under applicable law, Guillemot and its subsidiaries disclaim all liability for any damages unrelated to a material or manufacturing defect with respect to the product (including, but not limited to, any damages caused directly or indirectly by any software, or by combining the Thrustmaster product with any unsuitable element, including in particular power supplies, rechargeable batteries, chargers, or any other elements not supplied by Guillemot for this product).
DECLARATION OF CONFORMITY
CANADIAN COMPLIANCE NOTICE: this Class B digital apparatus meets all requirements of the Canadian
Interference-Causing Equipment Regulations.
USA COMPLIANCE NOTICE: this equipment has been tested and found to comply with the limits for a Class B digital device, pursuant to Part 15 of the FCC rules. Operation is subject to the following two conditions:
- This device may not cause harmful interference, and
- This device must accept any interference received, including interference that may cause undesired
operation.
These limits are designed to provide reasonable protection against harmful interference in a residential installation. This equipment generates, uses and can radiate radio frequency energy and, if not installed and used in accordance with the instructions, may cause harmful interference to radio communications. However, there is no guarantee that interference will not occur in a particular installation. If this equipment does cause harmful interference to radio or television reception, which can be determined by turning the equipment on and off, the user is encouraged to try to correct the interference by one or more of the following measures:
- Reorient or relocate the receiving antenna.
- Increase the separation between the equipment and receiver.
- Connect the equipment into an outlet on a circuit different from that to which the receiver is connected.
- Consult the dealer or an experienced radio/TV technician for help.
TECHNICAL SUPPORT
![]()
https://support.thrustmaster.com
UK: 020 3147 4889
US: (866) 889-5036
Canada: 866-889-2181
COPYRIGHT
©2021 Guillemot Corporation S.A. All rights reserved. Thrustmaster® is a registered trademark of Guillemot Corporation S.A. Manufactured and distributed by Guillemot Corporation S.A. All other trademarks and brand names are hereby acknowledged and are the property of their respective owners. Contents, design, and specifications are subject to changes without notice and may vary from one country to another. Photos and illustrations not binding. Designed in North America and Europe, made in China.
For use exclusively with PlayStation®5 consoles, PlayStation®4 consoles and PlayStation®3 systems.
“PS”, “PlayStation”, “PS5”, “PS4”, “PS3” and “PlayStation Shapes Logo” are registered trademarks or trademarks of Sony Interactive Entertainment Inc. All rights reserved. All other trademarks are the property of their respective owners. Manufactured and distributed under license from Sony Interactive Entertainment LLC.
ENVIRONMENTAL PROTECTION RECOMMENDATION
In the European Union and Turkey: At the end of its working life, this product should not be disposed of with standard household waste, but rather dropped off at a collection point for the disposal of Waste Electrical and Electronic Equipment (WEEE) for recycling.
This is confirmed by the symbol found on the product, user manual or packaging.
Depending on their characteristics, the materials may be recycled. Through recycling and other forms of processing Waste Electrical and Electronic Equipment, you can make a significant contribution towards helping to protect the environment.
Please contact your local authorities for information on the collection point nearest you.
For all other countries: Please adhere to local recycling laws for electrical and electronic equipment.
Retain this information. Colors and decorations may vary.
Plastic fasteners and adhesives should be removed from the product before it is used.
www.thrustmaster.com
- Applicable to EU and Turkey only


References
er.com is for sale | www.oxley.com
Thrustmaster - Technical support website
Thrustmaster - Technical support website
TER
Thrustmaster | Wheels, Joysticks and Gamepads for video games
ustmaster.com
Thrustmaster | Wheels, Joysticks and Gamepads for video games
Thrustmaster - Technical support website
Thrustmaster - Technical support website
Thrustmaster - サポート





















