THRUSTMASTER T3PM Magnetic Pedals

TECHNICAL FEATURES
- Pedal set
- Additional hard spring (black)
- 2.5 mm Allen key
- Spring retaining rod
- Upper retaining head with washer
- Elastomer cushioning ring (white – Shore 70) 7 Upper plastic spacer (red)
- Soft spring (silver – installed by default)
- Lower plastic spacer (red)
Warning: Pedal set pinch hazard when playing
- Keep the pedal set out of children’s reach.
- During gameplay, never place your fingers on or anywhere near the sides of the pedals.
- During gameplay, never place your fingers on or anywhere near the pedal’s rear base.
- During gameplay, never place your fingers on or anywhere near the pedal’s front base.

AUTOMATIC CALIBRATION OF THE PEDAL SET
- Never connect or disconnect the pedal set from the base of the wheel when the wheel is connected to the console or PC, or during gaming sessions, to avoid calibration problems.
- Always connect the pedal set to the wheel before connecting the wheel to the console or PC.
- Once the racing wheel’s calibration is complete and the game has been started, the pedals are automatically calibrated after a few presses.
- Never press the pedals during the racing wheel’s self-calibration phase or while a game is loading! This could result in improper calibration.
- If your racing wheel and/or pedal set do not function correctly, or if they seem to be improperly calibrated: Power off your console or PC and completely disconnect the racing wheel. Then reconnect all cables (including the power supply cable and the pedal set), and restart your console or PC and your game.
ATTACHING THE PEDAL SET TO A SUPPORT OR COCKPIT
The pedal set can be attached to a variety of different compatible supports (sold separately) using the five M6-type threaded holes located underneath the base. To do so, screw at least two M6 screws (not included) through the support shelf, and into the threaded holes on the underside of the pedal set’s base.
The pedal set’s setup diagrams for cockpits and other supports are available at https://support.thrustmaster.com: click Racing Wheels / T3PM, and then Template – Cockpit setup.
ADJUSTING THE PEDAL SET
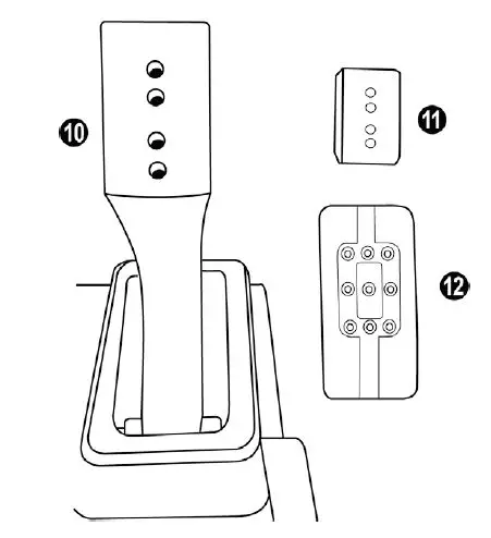
Each of the three pedals includes:
- A pedal arm (10) with two perforations.
- A plastic head support (11) (placed between the head and the arm) with four perforations.
- A metal head (12) with multiple perforations (nine for the accelerator – six for the brake – six for the clutch).

Adjusting the HEIGHT of the gas pedal
- Using the included 2.5 mm Allen key (3), unscrew the two screws holding the metal head (12) and its support (11) in place.
- Select your preferred height position, then replace and re-tighten the screws so that the metal head (12) and its support (11) are held firmly in place.

Adjusting the SPACING of the three pedals
- Using the included 2.5 mm Allen key (3), unscrew the two screws holding the metal head (12) and its support (11) in place.
- Select your preferred position (to the left, centered, or to the right), then replace and re-tighten the screws so that the metal head (12) and its support (11) are held firmly in place.

Number of possible spacing positions per pedal:
- Three for gas pedal
- Three for brake pedal
- Three for clutch pedal
Adjusting the INCLINATION of the pedals
- Using the included 2.5 mm Allen key (3), unscrew the two screws holding the metal head (12) and its support (11) in place.
- Turn the plastic head support (11) 180°, then replace and re-tighten the screws so that the metal head (12) and its support (11) are held firmly in place.

Number of possible inclination positions per pedal:
- Two for gas pedal
- Two for brake pedal
- Two for clutch pedal
INCLUDED SET OF BRAKE SPRINGS
4 possible configurations and settings for the brake pressure force
This mod lets you experience a different feel and resistance when braking. You can choose to install it or not, according to your preferences.
| Brake resistance | Soft | Medium (by default) | Hard | Very hard |
| Recommended use | Desk | Desk | Pedal set support | Cockpit |
| Soft silver spring (8) | x | x | ||
| White elastomer cushioning ring (6) | x | x | ||
| Hard black spring (2) | x | x |
- Pull hard on the lower plastic spacer (9) to compress the spring and remove the spring retaining rod (4) from its location.

- Reposition the different elements on the spring retaining rod (4). Start with the lower plastic spacer (9), your choice of spring (2) or (8), and then the upper plastic spacer (7).
- After your selected configuration, install the elastomer cushioning ring (6).
- Adjust the upper retaining head with washer (5) and position it in its location.
- Strongly compress the spring in order to place the spring retaining rod (4) in its location

A video showing how to change the spring is available at https://support.thrustmaster.com: click Racing Wheels / T3PM.
CONSUMER WARRANTY INFORMATION
Worldwide, Guillemot Corporation S.A., whose registered office is located at Place du Granier, B.P. 97143, 35571 Chantepie, France (hereinafter “Guillemot”) warrants to the consumer that this Thrustmaster product shall be free from defects in materials and workmanship, for a warranty period which corresponds to the time limit to bring an action for conformity with respect to this product. In the countries of the European Union, this corresponds to a period of two (2) years from delivery of the Thrustmaster product. In other countries, the warranty period corresponds to the time limit to bring an action for conformity with respect to the Thrustmaster product according to applicable laws of the country in which the consumer was domiciled on the date of purchase of the Thrustmaster product (if no such action exists in the corresponding country, then the warranty period shall be one (1) year from the original date of purchase of the Thrustmaster product). Should the product appear to be defective during the warranty period, immediately contact Technical Support, who will indicate the procedure to follow. If the defect is confirmed, the product must be returned to its place of purchase (or any other location indicated by Technical Support). Within the context of this warranty, the consumer’s defective product shall, at Technical Support’s option, be either replaced or returned to working order. If, during the warranty period, the Thrustmaster product is subject to such reconditioning, any period of at least seven (7) days during which the product is out of use shall be added to the remaining warranty period (this period runs from the date of the consumer’s request for intervention or from the date on which the product in question is made available for reconditioning, if the date on which the product is made available for reconditioning is subsequent to the date of the request for intervention). If permitted under applicable law, the full liability of Guillemot and its subsidiaries (including for consequential damages) is limited to the return to working order or the replacement of the Thrustmaster product. If permitted under applicable law, Guillemot disclaims all warranties of merchantability or fitness for a particular purpose. This warranty shall not apply: (1) if the product has been modified, opened, altered, or has suffered damage as a result of inappropriate or abusive use, negligence, an accident, normal wear, or any other cause unrelated to a material or manufacturing defect (including, but not limited to, combining the Thrustmaster product with any unsuitable element, including in particular power supplies, rechargeable batteries, chargers, or any other elements not supplied by Guillemot for this product); (2) if the product has been used for any use other than home use, including for professional or commercial purposes (game rooms, training, competitions, for example); (3) in the event of failure to comply with the instructions provided by Technical Support; (4) to software, said software being subject to a specific warranty; (5) to consumables (elements to be replaced over the product’s lifespan: disposable batteries, audio headset or headphone ear pads, for example); (6) to accessories (cables, cases, pouches, bags, wrist-straps, for example); (7) if the product was sold at public auction. This warranty is nontransferable. The consumer’s legal rights with respect to laws applicable to the sale of consumer goods in his or her country are not affected by this warranty.
Additional warranty provisions
During the warranty period, Guillemot shall not provide, in principle, any spare parts, as Technical Support is the only party authorized to open and/or recondition any Thrustmaster product (with the exception of any reconditioning procedures which Technical Support may request that the consumer carry out, by way of written instructions – for example, due to the simplicity and the lack of confidentiality of the reconditioning process – and by providing the consumer with the required spare part(s), where applicable). Given its innovation cycles and in order to protect its know-how and trade secrets, Guillemot shall not provide, in principle, any reconditioning notification or spare parts for any Thrustmaster product whose warranty period has expired. In the United States of America and in Canada, this warranty is limited to the product’s internal mechanism and external housing. In no event shall Guillemot or its affiliates be held liable to any third party for any consequential or incidental damages resulting from the breach of any express or implied warranties. Some States/Provinces do not allow limitation on how long an implied warranty lasts or exclusion or limitation of liability for consequential or incidental damages, so the above limitations or exclusions may not apply to you. This warranty gives you specific legal rights, and you may also have other rights which vary from State to State or Province to Province.
Liability
If permitted under applicable law, Guillemot Corporation S.A. (hereinafter “Guillemot”) and its subsidiaries disclaim all liability for any damages caused by one or more of the following: (1) the product has been modified, opened or altered; (2) failure to comply with assembly instructions; (3) inappropriate or abusive use, negligence, an accident (an impact, for example); (4) normal wear; (5) the use of the product for any use other than home use, including for professional or commercial purposes (game rooms, training, competitions, for example). If permitted under applicable law, Guillemot and its subsidiaries disclaim all liability for any damages unrelated to a material or manufacturing defect with respect to the product (including, but not limited to, any damages caused directly or indirectly by any software, or by combining the Thrustmaster product with any unsuitable element, including in particular power supplies, rechargeable batteries, chargers, or any other elements not supplied by Guillemot for this product).
DECLARATION OF CONFORMITY
CANADIAN COMPLIANCE NOTICE: this Class B digital apparatus meets all requirements of the Canadian Interference-Causing Equipment Regulations.
USA COMPLIANCE NOTICE: This equipment has been tested and found to comply with the limits for a Class B digital device, pursuant to Part 15 of the FCC rules. Operation is subject to the following two conditions: This device may not cause harmful interference, and This device must accept any interference received, including interference that may cause undesired operation. These limits are designed to provide reasonable protection against harmful interference in a residential installation. This equipment generates, uses and can radiate radio frequency energy and, if not installed and used in accordance with the instructions, may cause harmful interference to radio communications. However, there is no guarantee that interference will not occur in a particular installation. If this equipment does cause harmful interference to radio or television reception, which can be determined by turning the equipment on and off, the user is encouraged to try to correct the interference by one or more of the following measures:
- Reorient or relocate the receiving antenna.
- Increase the separation between the equipment and receiver.
- Connect the equipment into an outlet on a circuit different from that to which the receiver is connected.
- Consult the dealer or an experienced radio/TV technician for help.
ENVIRONMENTAL PROTECTION RECOMMENDATION
In the European Union, the UK and Turkey: At the end of its working life, this product should not be disposed of with standard household waste, but rather dropped off at a collection point for the disposal of Waste Electrical and Electronic Equipment (WEEE) for recycling. This is confirmed by the symbol found on the product, user manual or packaging. Depending on their characteristics, the materials may be recycled. Through recycling and other forms of processing Waste Electrical and Electronic Equipment, you can make a significant contribution towards helping to protect the environment. Please contact your local authorities for information on the collection point nearest you. For all other countries: Please adhere to local recycling laws for electrical and electronic equipment. Retain this information. Colors and decorations may vary. Plastic fasteners and adhesives should be removed from the product before it is used. www.thrustmaster.com




























