THRUSTMASTER Ferrari 488 GTB Racing Wheel User Manual
TECHNICAL FEATURES

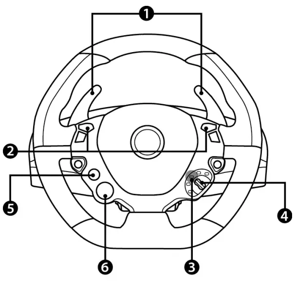
- 1 Up and down digital paddle shifters
- 2 Action buttons
- 3 Status LED
- 4 2-position manettino dial
(left: “SHARE-CREATE” / right: “OPTIONS”) - 5 “PS” button
- 6 Directional buttons

- 8 Pedal set male connector
- 9 Wheel’s female connector
- 10 Wheel’s USB connector
- 11 Fastening screw
- 12 Table/desk mounting system
For safety reasons, never use the pedal set with bare feet or while wearing only socks on your feet.
THRUSTMASTER® DISCLAIMS ALL RESPONSIBILITY IN THE EVENT OF INJURY RESULTING
FROM USE OF THE PEDAL SET WITHOUT SHOES.
INSTALLING THE WHEEL
Attaching the wheel to a table or desk
- Place the wheel on the edge of a table or other flat surface.
- Place the fastening screw (11) inside the table/desk mounting system (12), and screw the unit (counterclockwise) into the large screw thread on the underside of the wheel, until the wheel is perfectly stable.

WARNING: Never attempt to screw in the fastening screw (11) without the table/desk mounting system (12) in place!
(Doing so may damage your wheel.)
| INSTALLATION | REMOVAL |
| To tighten: Turn the fastening screw (11) counterclockwise ![]() | To untighten: Turn the fastening screw (11) clockwise ![]() |
Connecting the pedal set to the wheel
Connect the pedal set male connector (8) to the wheel’s female connector (9), located at the back of the wheel’s base.
PLAYSTATION®5 CONSOLES AND PLAYSTATION®4 CONSOLES
INSTALLATION ON ANY PS5™ CONSOLE OR PS4™ CONSOLE
- Connect the wheel’s USB connector (10) to one of the console’s USB ports.
- Power on your console.
- Press the racing wheel’s “PS” button (5) and sign in to your PlayStation™Network account, in order to be able to use the wheel.
- Use the directional buttons (6) to navigate within the console’s menus, use the X action button on the racing wheel to start up your game.
You are now ready to play!
MAPPING FOR PS5™ CONSOLES AND PS4™ CONSOLES

IMPORTANT NOTE REGARDING THE PS5™ CONSOLE OR PS4™ CONSOLE
Don’t forget to press the “PS” button (5) in order to be able to use the wheel.
AUTOMATIC WHEEL EMULATION ON THE PS5™ CONSOLE OR PS4™ CONSOLE
In games for PlayStation®5 consoles and PlayStation®4 consoles, the T80 Racing Wheel is recognised as a real wheel and not as a controller, for better responsiveness and enhanced precision.
- To change the mapping, go to the game’s options menu and then select WHEEL SETTINGS.
- To change the sensitivity of the wheel’s steering, go to the game’s options menu and then select WHEEL SETTINGS.
LIST OF GAMES FOR PLAYSTATION®5 CONSOLES AND PLAYSTATION®4 CONSOLES
A list of games for PS5™ consoles and PS4™ consoles compatible with the wheel is available at https://support.thrustmaster.com. Go to Racing Wheels / T80 Racing Wheel, then select Games Settings. This list is updated regularly.
SETTING UP THE RACING WHEEL FOR PC*
*PC compatibility not tested nor endorsed by Sony Interactive Entertainment.
For more information visit https://support.thrustmaster.com.
TROUBLESHOOTING AND WARNING
- My wheel is not functioning correctly or seems improperly calibrated:
- Press the racing wheel’s “PS” button (5) and sign in to your PlayStation™Network account, in order to be able to use the wheel.
- Power off your PS5™ console or PS4™ console, completely disconnect your wheel and all cables, reconnect everything and then restart your game.
- Never move the wheel or press on the pedals when connecting your wheel, in order to avoid any calibration problems.
- Never move the wheel or press on the pedals when the game is starting up, in order to avoid any calibration problems.
- I can’t configure my wheel:
- On the PS5™ console or PS4™ console, go to your game’s menu and select Options > Controller > Wheels. Then, select the most appropriate configuration.
- Refer to your game’s user manual or online help for more information.
- My wheel’s steering is not responsive enough:
- On the PS5™ console or PS4™ console, go to your game’s menu and select Options > Controller > Wheels. Test the different possible settings for more responsiveness.
CONSUMER WARRANTY INFORMATION
Worldwide, Guillemot Corporation S.A., whose registered office is located at Place du Granier, B.P. 97143, 35571 Chantepie, France (hereinafter “Guillemot”) warrants to the consumer that this Thrustmaster product shall be free from defects in materials and workmanship, for a warranty period which corresponds to the time limit to bring an action for conformity with respect to this product. In the countries of the European Union, this corresponds to a period of two (2) years from delivery of the Thrustmaster product. In other countries, the warranty period corresponds to the time limit to bring an action for conformity with respect to the Thrustmaster product according to applicable laws of the country in which the consumer was domiciled on the date of purchase of the
Thrustmaster product (if no such action exists in the corresponding country, then the warranty period shall be one (1) year from the original date of purchase of the Thrustmaster product). Should the product appear to be defective during the warranty period, immediately contact Technical Support, who will indicate the procedure to follow. If the defect is confirmed, the product must be returned to its place of purchase (or any other location indicated by Technical Support).
Within the context of this warranty, the consumer’s defective product shall, at Technical Support’s option, be either replaced or returned to working order. If, during the warranty period, the Thrustmaster product is subject to such reconditioning, any period of at least seven (7) days during which the product is out of use shall be added to the remaining warranty period (this period runs from the date of the consumer’s request for intervention or from the date on which the product in question is made available for reconditioning, if the date on which the product is made available for reconditioning is subsequent to the date of the request for intervention). If permitted under applicable law, the full liability of Guillemot and its subsidiaries (including for consequential damages) is limited to the return to working order or the replacement of the Thrustmaster product. If permitted under applicable law,
Guillemot disclaims all warranties of merchantability or fitness for a particular purpose.
This warranty shall not apply: (1) if the product has been modified, opened, altered, or has suffered damage as a result of inappropriate or abusive use, negligence, an accident, normal wear, or any other cause unrelated to a material or manufacturing defect (including, but not limited to, combining the
Thrustmaster product with any unsuitable element, including in particular power supplies, rechargeable batteries, chargers, or any other elements not supplied by Guillemot for this product); (2) if the product has been used for any use other than home use, including for professional or commercial purposes (game rooms, training, competitions, for example); (3) in the event of failure to comply with the instructions provided by Technical Support; (4) to software, said software being subject to a specific warranty; (5) to consumables (elements to be replaced over the product’s lifespan: disposable batteries, audio headset or headphone ear pads, for example); (6) to accessories (cables, cases, pouches, bags, wrist-straps, for example); (7) if the product was sold at public auction.
This warranty is nontransferable.
The consumer’s legal rights with respect to laws applicable to the sale of consumer goods in his or her country are not affected by this warranty.
Additional warranty provisions
During the warranty period, Guillemot shall not provide, in principle, any spare parts, as Technical Support is the only party authorized to open and/or recondition any Thrustmaster product (with the exception of any reconditioning procedures which Technical Support may request that the consumer carry out, by way of written instructions – for example, due to the simplicity and the lack of confidentiality of the reconditioning process – and by providing the consumer with the required spare part(s), where applicable).
Given its innovation cycles and in order to protect its know-how and trade secrets, Guillemot shall not provide, in principle, any reconditioning notification or spare parts for any Thrustmaster product whose warranty period has expired.
In the United States of America and in Canada, this warranty is limited to the product’s internal mechanism and external housing. In no event shall Guillemot or its affiliates be held liable to any third party for any consequential or incidental damages resulting from the breach of any express or implied warranties. Some States/Provinces do not allow limitation on how long an implied warranty lasts or exclusion or limitation of liability for consequential or incidental damages, so the above limitations or exclusions may not apply to you. This warranty gives you specific legal rights, and you may also have other rights which vary from State to State or Province to Province.
Liability
If permitted under applicable law, Guillemot Corporation S.A. (hereinafter “Guillemot”) and its subsidiaries disclaim all liability for any damages caused by one or more of the following: (1) the product has been modified, opened or altered; (2) failure to comply with assembly instructions; (3) inappropriate or abusive use, negligence, an accident (an impact, for example); (4) normal wear; (5) the use of the product for any use other than home use, including for professional or commercial purposes (game rooms, training, competitions, for example). If permitted under applicable law, Guillemot and its subsidiaries disclaim all liability for any damages unrelated to a material or manufacturing defect with respect to the product (including, but not limited to, any damages caused directly or indirectly by any software, or by combining the Thrustmaster product with any unsuitable element, including in particular power supplies, rechargeable batteries, chargers, or any other elements not supplied by Guillemot for this product).
DECLARATION OF CONFORMITY
CANADIAN COMPLIANCE NOTICE: this Class B digital apparatus meets all requirements of the Canadian Interference-Causing Equipment Regulations.
USA COMPLIANCE NOTICE: this equipment has been tested and found to comply with the limits for a Class B digital device, pursuant to Part 15 of the FCC rules. Operation is subject to the following two conditions:
- This device may not cause harmful interference, and
- This device must accept any interference received, including interference that may cause undesired operation.
These limits are designed to provide reasonable protection against harmful interference in a residential installation.
This equipment generates, uses and can radiate radio frequency energy and, if not installed and used in accordance with the instructions, may cause harmful interference to radio communications.
However, there is no guarantee that interference will not occur in a particular installation. If this equipment does cause harmful interference to radio or television reception, which can be determined by turning the equipment on and off, the user is encouraged to try to correct the interference by one or more of the following measures:
- Reorient or relocate the receiving antenna.
- Increase the separation between the equipment and receiver.
- Connect the equipment into an outlet on a circuit different from that to which the receiver is connected.
- Consult the dealer or an experienced radio/TV technician for help.
TECHNICAL SUPPORT
https://support.thrustmaster.com
UK: 020 3147 4889
US: 1 (866) 889-5036
Canada: 1-866-889-218![]()
COPYRIGHT
©2022 Guillemot Corporation S.A. All rights reserved. Thrustmaster® is a registered trademark of Guillemot Corporation S.A. Manufactured and distributed by Guillemot Corporation S.A. All other trademarks and brand names are hereby acknowledged and are the property of their respective owners. Contents, design, and specifications are subject to changes without notice and may vary from one country to another. Photos and illustrations not binding. Designed in North America and Europe, made in China.
For use exclusively with PlayStation®5 consoles and PlayStation®4 consoles. “
”, “PlayStation”, “PS5”, and “PS4” are registered trademarks or trademarks of Sony Interactive
Entertainment Inc. All other trademarks are the property of their respective owners.
Manufactured and distributed under license from Sony Interactive Entertainment.
ENVIRONMENTAL PROTECTION RECOMMENDATION
In the European Union and Turkey: At the end of its working life, this product should not be disposed of with standard household waste, but rather dropped off at a collection point for the disposal of Waste Electrical and Electronic Equipment (WEEE) for recycling.
This is confirmed by the symbol found on the product, user manual or packaging.
Depending on their characteristics, the materials may be recycled. Through recycling and other forms of processing Waste Electrical and Electronic Equipment, you can make a significant contribution towards helping to protect the environment.
Please contact your local authorities for information on the collection point nearest you.
For all other countries: Please adhere to local recycling laws for electrical and electronic equipment.
Retain this information. Colors and decorations may vary.
Plastic fasteners and adhesives should be removed from the product before it is used.
www.thrustmaster.com
- Applicable to EU, UK and Turkey only

![]()























