chager RCBO with Dangerous ARC Detection User Guide
Safety notice
The AFDD (Arc Fault Detection Device) may only be installed, connected and serviced by a qualified electrician.
Before mounting, the AFDD must be checked for external damage. If any damage or other defect is found, the device must not be mounted.
The national regulations, safety regulations and installation standards BS 7671 must be observed.
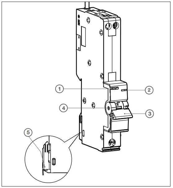
Design and layout of the device
Fig 1: Layout of the device RCBO-AFDD
- Test button
- LED status display
- Handle
- Yellow flag
- Mounting metal DIN rail clip
Function
RCBO-AFD in 1 module ARRxxxU is a single device consisting of a miniature circuit breaker (MCB) unit and residual current detection (RCD) unit with integrated Arc fault detection (AFD) unit (3 in 1).
The AFDD mitigates the risk of a fire in the final electrical circuits of a fixed installation due to arcing fault currents, which under certain conditions present a fire ignition risk due to dangerous arc Fault, complaint according to BS 7671 installation Standards.
Correct use
- Mounting on DIN rail after TH 35 7.5-15 according to IEC 60715:2017 / EN 60715:2017
Tools
Fig 2: Tools 
Informations for electricians
Installation and electrical connection
DANGER !
Electric shock when touching live parts!
Electric shock can lead to death!
- Before working on the unit, disconnect the connecting cables and cover live parts in the vicinity
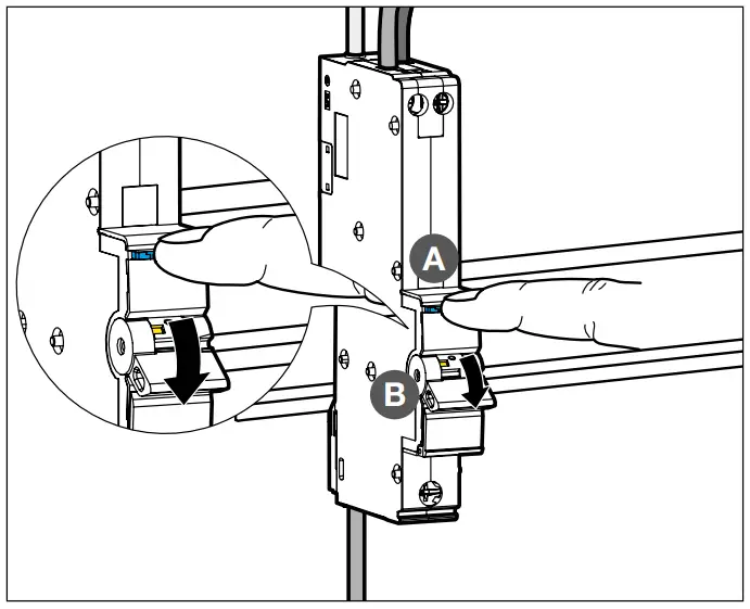
Mount device
Fig 3: Mounting the RCBO-AFDD
- Open the din rail clip.
- Insert the AFDD until it is inked.
- Put the AFDD on the rail.
- Press the metal clamp down.
The AFDD is fixed on the rail.
Connect device
Fig 4: Connect the RCBO-AFDD
Wiring diagram
Fig 5: Wiring diagram
Disassembly



Testing
The test button T is used for testing the device. If the circuit is interruped, operate the handle provided for this purpose.
Test device
ATTENTION !
High voltage tests may damage this product!
If the handle is OFF you dont have to disconnect the cable.
Notice
The AFDD function must be tested after installation.The supply voltage must be present.
The MCB- AFDD must trip within one second. If the device does not trip, it must be replaced by an experienced electrician.
Short press the test button only when the yellow flag is present.
This ensures that the device has not been triggered by the user.
Fig 6: Testing the device
- Short press the test button T.
The MCB-AFDD tripped, i.e. the circuit must switch off.
Notice
If the AFDD does not trip, check the status of the LED (table 1).
LED status for troubleshooting
Fig 7: Handle position during testing: OFF
The handle is in the OFF position.
- Short press the test button T to open the color code.
Table 1: LED status display for a standard troubleshooting
| INDICATOR | STATE | |
| Steady GREEN | AFDD is ON | |
| LED is OFF | AFDD is OFF | |
![]() | Blinking RED/ GREEN + yellow flag absence | AFDD manual tripped |
![]() | Blinking RED/ GREEN + yellow flag presence | Overload or Short-Circuit |
| Steady RED | Residual current fault | |
![]() | Blinking RED/ YELLOW | Series arc fault |
![]() | Blinking RED | Parallel arc fault |
| Steady YELLOW | Overvoltage | |
![]() | Blinking YELLOW | Internal failure |
Notice
In case of an internal Failure, replace the AFDD and contact the Hager technical support.
Connection to mobilephone
A mobile phone ( iphone, operating with IOS14 or above, or Android, operating with Android 7 or above) is required to use those functions.
Notice
Using the connected functions with your mobile phone requires to activate network functions (Bluetooth, WiFi) and to accept the application terms of use & privacy notice.
Only bluetooth 4.2 or above is supported.
- Install the Hager Pilot mobile application on your mobilephone.
- Follow further instructions on the mobile application.
LED status for Bluetooth® connection
Fig 8: Handle during testing: ON
The handle is in the ON position.
- Press the test button T for 5 seconds to open the color code.
Table 2: LED status display for Bluetooth® connection
| INDICATOR | STATE | |
| Blinking BLUE | Bluetooth enabled | |
| Steady BLUE | Bluetooth connected | |
| Blinking RED/ BLUE | Update mode (only overload and shortcircuit protection in this mode) | |
| Blinking BLUE/ YELLOW | Trace mode (use for technical Hager support) | |
| Blinking (BLUE/ GREEN) | Product localisation request |
EU and UKCA Declaration
Hereby, Hager Electro SAS , declares that the AFDD products are in compliance with SI 2017/1206 Radio Equipment Regulations 2017 and with radio emission directive 2014/53/EU
- Operating frequency 2.4 to 2.483 GHz.
- Maximum radio frequency 10mW.
Declarations of conformity can be downloaded on www.hager.com

T +44 1 952 677 899
[email protected]
Technical Support: 01952 675689
www.hager.com/uk
hager.com – 07.2022



























