SG 51, 71
Instruction Manual
![]() |
Dear Customer,
Thank you for choosing a quality engineered STIHL product.
It has been built using modern production techniques‐ ques and comprehensive quality assurance.
Every effort has been made to ensure your satisfaction and trouble-free use of the product.
Please contact your dealer or our sales company if you have any queries concerning this product.
Your

Dr. Nikolas Stihl
Guide to Using this Manual
1.1 Pictograms
All the pictograms attached to the machine are shown and explained in this manual.
1.2 Symbols in text
WARNING
Warning where there is a risk of an accident or personal injury or serious damage to property.
NOTICE
Caution where there is a risk of damaging the machine or its individual components.
1.3 Engineering improvements
STIHL’s philosophy is to continually improve all of its products. For this reason, we may modify the design, engineering, and appearance of our products periodically.
Therefore, some changes, modifications, and improvements may not be covered in this manual.
Safety Precautions and Working Techniques
This instruction manual covers a STIHL sprayer which is also referred to as the unit in the descriptions.
Special safety precautions must be observed when working with this sprayer.
It is important that you read the instruction manual before first use and keep it in a safe place for future reference. Non-observance of the instruction manual may result in serious or even fatal injury.
2.1 General
Observe all applicable local safety regulations, standards, and ordinances.
If you have not used this model before: Have your dealer or other experienced user show you how it is operated or attend a special course on its operation.
Minors should never be allowed to use this product.
Keep bystanders, especially children, and animals away from the work area.
When the sprayer is not in use, put it in a place where it does not endanger others. Secure it against unauthorized use.
The user is responsible for avoiding injury to third parties or damage to their property.
Do not lend or rent your sprayer without the instruction manual. Be sure that anyone using it understands the information contained in this manual.
Do not operate your sprayer if any of its components are damaged. Make sure that all components are properly sealed – no leaks.
Pressurize the tank only with the pump that is installed in the sprayer.
Operate the sprayer only if it is complete and properly assembled.
To operate this sprayer you must be rested, in good physical condition, and in mental health.
Do not operate the sprayer if you are under the influence of any substance (drugs, alcohol) which might impair vision, dexterity, or judgment.
2.2 Intended use
The sprayer is suitable for spraying chemicals and other liquids to control pests and weeds.
Typical areas of application are fruit and vegetable growing, horticulture, plantations, grassland, and the forestry industry.
Only use plant protection products that are specifically approved for use in sprayers.
Do not use your sprayer for any other purpose because of the increased risk of accidents and damage to the sprayer. Never attempt to modify your sprayer in any way since this may result in accidents or damage to the sprayer.
2.3 Clothing and Equipment
Wear proper protective clothing and equipment when using, filling, and cleaning the sprayer. Follow the chemical manufacturer’s instructions with respect to protective equipment.
Clothing must be snug-fitting but allow complete freedom of movement.
Immediately change work clothes contaminated with plant control chemicals.
For some chemicals, it is necessary to wear impermeable coveralls.
If you are spraying overhead, wear an impermeable head covering.
Wear impermeable safety boots with a non-slip sole that are resistant to plant control chemicals.
Do not wear sandals or go barefoot.
Wear impermeable gloves resistant to plant control chemicals.
WARNING
To reduce the risk of eye injuries, wear snug-fitting safety glasses in accordance with European Standard EN 166. Make sure the safety glasses are a good fit.
Wear a suitable respirator.
Inhaling plant control chemicals may endanger your health. Always wear a suitable respirator to protect yourself against health risks and allergic reactions. Observe warnings in the directions for use of the plant protection product and all applicable local safety regulations, standards, and ordinances.
2.4 Transport
Transporting in a vehicle:
– Properly secure the sprayer to prevent turnover and damage.
– The tank must be de-pressurized, empty, and clean.
2.5 Cleaning
Clean plastic surfaces with a cloth. Do not use aggressive detergents. They may damage the plastic.
Do not use a pressure washer to clean the unit.
The solid jet of water may damage parts of the unit.
2.6 Accessories
Only use parts and accessories that are explicitly approved for this tool by STIHL or are technically identical. If you have any questions in this respect, consult a servicing dealer. Use only high-quality parts and accessories in order to avoid the risk of accidents and damage to the tool.
STIHL recommends the use of genuine STIHL replacement parts. They are specifically designed to match your model and meet your performance requirements.
Never attempt to modify your tool in any way since this may increase the risk of personal injury. STIHL excludes all liability for personal injury and damage to property caused while using unauthorized attachments.
2.7 Handling Chemicals
Read the instructions supplied with the plant pro‐ tection chemical prior to use. Follow the instructions with respect to mixing, using, personal pro‐ tection equipment, storage, and disposal.
Observe legal requirements for handling plant protection chemicals.
Plant protection chemicals may contain substances that are harmful to humans, animals, plants, and the environment – the risk of poisoning and risk of serious or fatal injuries!
Avoid contact with plant protection chemicals.
Plant protection chemicals may be used only by persons trained in their handling and the appropriate first-aid measures.
Keep instructions or labels of the plant protection chemical available at all times in order to inform the doctor about the chemical concerned in an emergency. In an emergency, follow the chemical manufacturer’s instructions provided or on the label. Observe the manufacturer’s safety data sheets.
2.7.1 Mixing plant protection chemicals and filling tank
Use plant protection chemicals only as specified by the manufacturer.
– Before filling the tank with chemicals, carry out a test with fresh water and check all parts of the sprayer for leaks.
– Never apply undiluted liquid concentrates of plant protection products.
– Mix the plant protection chemical and fill the tank outdoors only or in well-ventilated locations.
– Only mix sufficient solution for the job in hand so that nothing is left over.
– Do not mix different plant protection products unless such a mixture is approved by the manufacturer.
– Mix different chemicals only in accordance with the manufacturer’s instructions
– incorrect mixtures may produce toxic fumes or explosive solutions.
– Stand the sprayer on a level surface – do not fill the tank above the maximum mark.
– When filling from the central water supply, do not immerse the end of the hose in the solution
– sudden low pressure in the system may cause the solution to be sucked back into the water supply.
– To reduce the risk of injury, do not fill the sprayer while carrying it.
– Close the tank tightly after filling.
2.7.2 Application
– Work only in the open or in very well ventilated locations, e.g. open greenhouses.
– Do not eat, drink or smoke while working with plant protection chemicals.
– Never blow through nozzles or other components by mouth.
– Do not spray in windy conditions.
Too high or too low a spray pressure or unfavorable weather conditions can result in the wrong solution concentration. Overdosing may damage plants and the environment. Under-dosing may result in unsuccessful plant treatment.
In order to reduce the risk of damage to the environment and plants, do not operate the sprayer:
– if pressure is too high or too low
– in windy conditions
– at temperatures above 40°C in the shade
– in direct sunlight
In order to reduce the risk of accidents and damage to the sprayer, never operate the sprayer with
– flammable liquids
– viscous or sticky liquids
– caustic or corrosive chemicals
– liquids hotter than 40°C
2.7.3 Storage
– During work breaks, do not leave the sprayer in the hot sun or near any heat source.
– Do not store plant protection chemicals in the sprayer for longer than one day.
– Store and transport plant protection products only in approved containers.
– Never store the plant protection products in containers intended for foods, drinks, or animal feed.
– Do not store plant protection products with foods, drinks, or animal feed.
– Keep plant protection products out of the reach of children and animals.
– Store the sprayer empty and clean. It must not be under pressure.
– Store plant protection products and power tools in a place secured against unauthorized use.
– Store the unit in a dry place protected from frost.
2.7.4 Disposal
Dispose of plant protection chemicals in accordance with environmental requirements – follow instructions of the chemical manufacturer.
Never dispose of residual plant protection products or contaminated rinsing solutions in waterways, drains, sewers, street gutters, or manholes.
– Dispose of residual chemicals and used containers in accordance with local waste disposal regulations.
2.8 Holding and Controlling the Unit

Carry the unit on your back with both harness straps – do not hang it over one shoulder.
Walk slowly forwards as you work – observe the nozzle outlet at all times – do not walk backward – the risk of stumbling.
Hold the unit upright. To avoid the risk of chemicals leaking from the tank and causing injury, do not bend forwards.
For emergencies: Practice quickly opening the fastener on the waist belt (SG 71 only), loosen‐ ing the shoulder straps, and setting down the unit. To avoid damage, do not throw the unit to the ground when practicing.
2.9 During Operation

Never spray in the direction of bystanders – the risk of injury.
Take special care in slippery conditions – damp, snow, ice, on slopes, or on uneven ground.
Watch out for obstacles: Be careful of refuse, tree stumps, roots, and ditches that could cause you to trip or stumble.
To reduce the risk of accidents, take a break in good time to avoid tiredness or exhaustion.
Work calmly and carefully – in daylight conditions and only when visibility is good. Stay alert so as not to endanger others.
Never work on a ladder or any other insecure support.
When working in open ground and gardens take special care to avoid harming small animals.
To reduce the risk of electrocution, never work in the vicinity of live wires or power cables.
Always clean the sprayer before changing to a different plant protection product.
2.10 After Finishing
Work Check all parts of the unit for leaks.
After finishing work, thoroughly clean the unit and wash your hands, face, and, if necessary, your clothes. Keep other persons and animals away from the areas that have been sprayed and do not walk on them until the plant protection chemical has dried.
2.11 Maintenance and Repairs
Do not attempt any maintenance or repair work not described in the instruction manual. Has all other work been performed by a servicing dealer?
STIHL recommends that you have servicing and repair work carried out exclusively by an authorized STIHL servicing dealer. STIHL dealers are regularly given the opportunity to attend training courses and are supplied with the necessary technical information.
Only use high-quality replacement parts in order to avoid the risk of accidents and damage to the unit. If you have any questions in this respect, consult a servicing dealer.
STIHL recommends the use of genuine STIHL replacement parts. They are specifically designed to match your model and meet your performance requirements. Always clean and empty the tank and release pressure in the sprayer before carrying out any maintenance or repair work.
When cleaning the tank, tube, and hose system, make sure that other persons are not endangered by escaping liquid – the risk of injury.
Assembling the Unit
The small hardware required for assembly is in the tank.
3.1 Connecting Hose to Unit
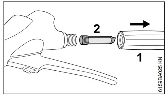
► Push the union nut (1) over the hose (2).
► Push the hose (2) behind the shaft and onto the elbow connector (3).
► Slip the union nut (1) onto the elbow connector (3) and tighten it down firmly by hand.
3.2 Mounting the Spray Gun

► Push the union nut (1) over the hose (2).
► Push the hose (2) onto the connector on the gun (3).
► Tighten down the union nut (1) by hand.

► Push the spray wand (4) into the connector on the gun (3).
► Tighten down the union nut (5) by hand.
3.3 Mounting the Lever

The length of the handle (1) can be adjusted (A, B, C) to suit the operator.
► Push the handle (1) into the lever (2).
The lever can be mounted on the left or right of the unit.
► Push the lever (2) into the shaft (3).

► Swing the lever (2) upwards.
► Lay the unit on its side.
The position of the lever (2) can be varied to suit the operator’s size.
► Set the distance (A, B, or C) as required.
► Insert retaining pin (4) in the hole in the shaft (5) to secure the lever (2).
Harness

► Adjust the harness straps so that the back‐ of the plate fits snugly and securely against your back
4.1 Adjusting the Height of Harness Straps
The harness straps can be adjusted to suit your physique.
► Use a screwdriver to pry the pin (1) out of the backplate
► Remove the pin (1) and pull out the ends of the harness straps (2)
► Fit the ends of the harness straps (2) in the lower position
► Insert the pin (1) and engage it in the back plate
4.2 Adjusting the Harness Straps
The SG 71 is equipped with a waist/hip belt (not available in all countries).
A Pull the ends of the straps downward to tighten the harness
B Lift the tabs of the adjusters to loosen the straps
C Close and lock the quick-release fastener bypushing it together
D Squeeze the hooks to open the quick-release fastener
Controls
Make yourself familiar with how the controls function before using your sprayer for the firsttime.
5.1 Lever
Pressurizing the tank

► Operate the pump lever slowly and steadily with the gun closed – several strokes are required to build up pressure.
Transport position

► Move the pump lever to upright position until it engages.
5.2 Cap

There are three measuring cups in the cap. They can be used to prepare the plant protection solu‐ tion.
1 5 ml (0.2 fl.oz)
2 10 ml (0.3 fl.oz)
3 25 ml (0.8 fl.oz)
5.3 Spray Gun
Unlocking / locking spray gun
► Push locking lever (1) upwards – the trigger (2) is unlocked and can be operated.

► Push the locking lever (1) downwards – the trigger (2) is locked to reduce the risk of accidental operation.
Filling the Container
Before filling the tank with chemicals, carry out a test with fresh water and check all parts of the sprayer for leaks.
► Stand the sprayer on a level surface.
► Remove the cap from the tank.
► Check the O-ring (1) in the cap (2).
It must be in good condition.

► Fill up with thoroughly mixed plant protection solution – do not overfill (no further than max. mark – arrow).

► Fit the cap and tighten it down firmly with both hands.
Spraying
► Carry the unit on your back with both harness straps – do not hang it over one shoulder.
► Operate the pump lever slowly and steadily with the gun closed – several strokes are required to build up pressure.
► Operate the gun and always pay attention to the optimal working pressure while spraying.
► If the working pressure drops more than 0.5 bar (7.25 PSI) , restore it by operating the pump handle.
Working pressures / spray rates – see “Specifications”.
After Spraying
► Empty the container in a well ventilated location.
► Rinse the container with clean water.
► Fill the container with clean water.
► Fit the cap on the container and tighten it down firmly.
► Pressurize the container and continue spraying until the container is empty and no longer under pressure.
Storing the Machine
► Secure the unit against unauthorized use.
► Dry the unit and store it in a place protected from direct sunlight and frost.
Inspection and Maintenance by User
10.1 Greasing the piston packing
Removal

► Unscrew the pump tube from the container
The pump cover can be opened using a 1/2″ ratchet wrench.

► Grease piston packing with a lubricating grease
Installing

► Screw the pump tube into the container until the lug (arrow) engages in the toothing.
10.2 Oil pump rod

► Apply a few drops of resin-free oil to the pump rod
10.3 Greasing the bearing of the pump lever

► Grease the bearing of the pump lever
10.4 Cleaning the filter

► Unscrew the handle (1) from the spray gun and take out the filter (2)

► Rinse out the filter under running water
10.5 Cleaning the nozzle
► Unscrew the hollow-cone nozzle (1) with swirl insert (2)

► Rinse out all parts under running water and then reassemble
Maintenance and Care
| The following intervals apply to normal operating conditions only. If your daily working times are lon‐ ger, shorten the specified intervals accordingly. | before starting work | after finishing work or daily | weekly | monthly | every 12 months | if problem | if damaged | as required | after 50 refills | |
| Complete unit | Visual inspection (condition, leaks) | X | ||||||||
| Clean | X | |||||||||
| The following intervals apply to normal operating conditions only. If your daily working times are lon‐ ger, shorten the specified intervals accordingly. | before starting work | after finishing work or daily | weekly | monthly | every 12 months | if problem | if damaged | as required | after 50 refills | |
| O-ring in container’s cap | Visual inspection (condition, leaks) | X | ||||||||
| Solution container, hose system, wand | Drain | X | ||||||||
| Clean | X | |||||||||
| Nozzle | Clean | X | X | |||||||
| Filter in spray gun | Clean | X | X | X | ||||||
| Piston cup seal | Lubricate with grease | X | X | X | ||||||
| Pump rod | Lubricate with oil | X | X | |||||||
| Pump lever bearing | Lubricate with grease | X | X | |||||||
| Safety labels | Replace | X | ||||||||
Main Parts

| 1 Backplate 2 Harness 3 Hose 4 Filter 5 Spray gun 6 Spray wand 7 Spinner insert 8 Hollow cone nozzle 9 Container cap | 10 Gasket 11 Strainer 12 Tank 13 Lever 14 Handle 15 Pump barrel 16 Piston cup seal 17 Retaining pin # Serial number |
Specifications
13.1 Working Pressures / Spray Rates
| Working pressure | Flow rate with hollow |
| 1.0 bar | cone nozzle |
| 1.5 bar | 0.39 l/min |
| 2.0 bar | 0.49 l/min |
| 3.0 bar | 0.56 l/min |
| 4.0 bar | 0.69 l/min |
| 6.0 bar | 0.81 l/min |
| 0.96 l/min |
13.2 SG 51 Specifications
| Working pressure, max.: | 6 bar |
| Flow volume, max.: | 1.4 l/min |
| Solution capacity, max.: | 12 l |
| Operating temperature, max.: | 40°C |
| Residual solution in tank: | <0.25 l |
| Recoil force: | <20 N |
| Dry weight: | 4.5 kg |
13.3 SG 71 Specifications
| Working pressure, max.: | 6 bar |
| Flow volume, max.: | 1.4 l/min |
| Solution capacity, max.: | 18 l |
| Operating temperature, max.: | 40°C |
| Residual solution in tank: | <0.27 l |
| Recoil force: | <20 N |
| Dry weight: | 4.8 kg |
Troubleshooting
| Before starting, spray the unit empty until the pressure has been completely relieved – when working on the unit, liquid may splash out uncontrollably if the pressure is not released. After the work, carry out a test run with clear water. | ||
| Fault | Cause | Remedy |
| Pressure gauge does not show the container pressure | Pressure gauge defective | Replace pressure gauge |
| Pumping action produces no pressure. Lever is remarkably easy to operate | Pump tube damaged | Replace pump tube |
| Valve disc damaged | Replace valve discs 1) | |
| Piston packing damaged | Replace piston packing 1) | |
| Lever blocked or difficult to move down | Piston packing not greased | Grease piston packing |
| Nozzle / swirl insert / filter blocked | Clean nozzle / swirl insert / filter | |
| Tool only sprays when pump‐ ing | Pressure vessel fully filled with liq‐ uid | Pump the unit completely empty. Repeat after 5 fillings at the lat‐ est |
| Nozzle does not spray – pres‐ sure in unit OK | Nozzle / swirl insert / filter blocked | Clean nozzle / swirl insert / filter |
| Liquid drips from the nozzle | Nozzle / swirl insert / filter blocked | Clean nozzle / swirl insert / filter |
| Jet only – no atomization | Swirl insert on the nozzle missing | Insert swirl insert into nozzle |
| Nozzle fouled | Cleaning the nozzle | |
| 1)STIHL recommends STIHL servicing dealers | ||
Maintenance and Repairs
Users of this machine may only carry out the maintenance and service work described in this user manual. All other repairs must be carried out by a servicing dealer.
STIHL recommends that you have servicing and repair work carried out exclusively by an author‐ ized STIHL servicing dealer. STIHL dealers are regularly given the pportunity to attend training courses and are supplied with the necessary technical information.
When repairing the machine, only use replace‐ ment parts which have been approved by STIHL for this power tool or are technically identical. Only use high-quality eplacement parts in order to avoid the risk of accidents and damage to the machine.
STIHL recommends the use of original STIHL replacement parts.
Original STIHL parts can be identified by the STIHL part number, the
logo and the STIHL parts symbol
(the symbol may appear alone on small parts).
Disposal
Contact the local authorities or your STIHL serv‐ icing dealer for information on disposal.
Improper disposal can be harmful to health and pollute the environment.

► Take STIHL products including packaging to a suitable collection point for recycling in accord‐ ance with local regulations.
► Do not dispose with domestic waste.
EC Declaration of Conformity
ANDREAS STIHL AG & Co. KG
Badstr. 115
D-71336 Waiblingen
Germany declares under our sole responsibility that
| Designation: | Sprayer |
| Make: | STIHL |
| Series: | SG 51, SG 71 |
| Serial identification number: | 4255 |
conforms to the relevant provisions of Directive 2006/42/EC and has been developed and manufactured in compliance with the following standards in the versions valid on the date of production:
DIN EN ISO 19932‑1: 2013,
DIN EN ISO 19932‑2: 2014
Technical documents deposited at:
ANDREAS STIHL AG & Co. KG
Produktzulassung
Waiblingen, 15.07.2021
ANDREAS STIHL AG & Co. KG
pp

Dr. Jürgen Hoffmann
Director Product Certification & Regulatory Affairs

UKCA Declaration of Conformity
ANDREAS STIHL AG & Co. KG
Badstr. 115
D-71336 Waiblingen
Germany declare under our sole responsibility that
| Category: | Sprayer |
| Manufacturer’s brand: | STIHL |
| Series: | SG 51, SG 71 |
| Serial identification number: | 4255 |
conforms to the relevant provisions of UK regula‐tions Supply of Machinery (Safety) Regulations 2008 and has been manufactured in compliance with the following standards in the versions valid on the date of production:
DIN EN ISO 19932‑1: 2013,
DIN EN ISO 19932‑2: 2014
Technical documents deposited at:
ANDREAS STIHL AG & Co. KG
Done at Waiblingen, 15.07.2021
ANDREAS STIHL AG & Co. KG
pp

Dr. Jürgen Hoffmann
Director Product Certification & Regulatory Affairs
![]()



















