5106179 3-Light Satin Gold with Fabric Modern
Instruction Manual
5106179 3-Light Satin Gold with Fabric Modern
Item Number: 5106179
WARNING (To reduce the risk of fire, electric shock, or injury to persons):
- We suggest installation by a licensed electrician.
- Please read the instruction carefully and save it as you may need it at later time.
- Before you start, NEVER attempt any work without shutting off the electricity until the work is done. A). Go to the main fuse, or circuit breaker, box in your home. Place the main power switch in the “OFF” position. B). Place the wall switch in the “OFF” position.
- Mounting surface should be clean, dry, flat, strong enough and 1/4” larger than the canopy on all side. Any gaps between the mounting surface and canopy exceeding 3/16” should be corrected as required.
- Make sure that the ceiling or wall can stand the weight of the lamp before installation.
- Make sure the voltage you are using is 120V. The maximum wattage is 40W per bulb.
- Keep the lamp away from acidic and alkaline substances in case of damaging the surface of the lamp.
- When replacing bulb, you should turn off or unplug the lamp and you must wait until it is cool as bulbs get hot quickly.
- The safety instructions appearing in this manual are not meant to cover all possible conditions that may occur. It must be understood that common sense, caution and care must be used with any electrical products.
IMAGE FOR FINISHED PRODUCT

TOOLS REQUIRED (NOT INCLUDED):
Before doing assembly and installation please prepare the needed tools as below picture 
PARTS TYPE & QTY INCLUDING:

| (C) Single bar (1) (D) Green ground screw (1) (E) Canopy (1) (F) Collar ring (1) (G) Collar loop (1) (H) Quick link (2) (I) Chain (1) | (J) Loop (1) (K) Wire cages (1) (L) Stem (1) (M) Cloth lamp shade (1) (N) Socket (3) ACCESSORIES & QTY ENCLOSED: (A) Wire connector (3) (B) Mounting screw (2) |
ASSEMBLY & INSTALLATION INSTRUCTIONS:
- Carefully remove the fixture from the carton and check that all parts and accessories are included as shown in the above illustration.
- Make pre-installation
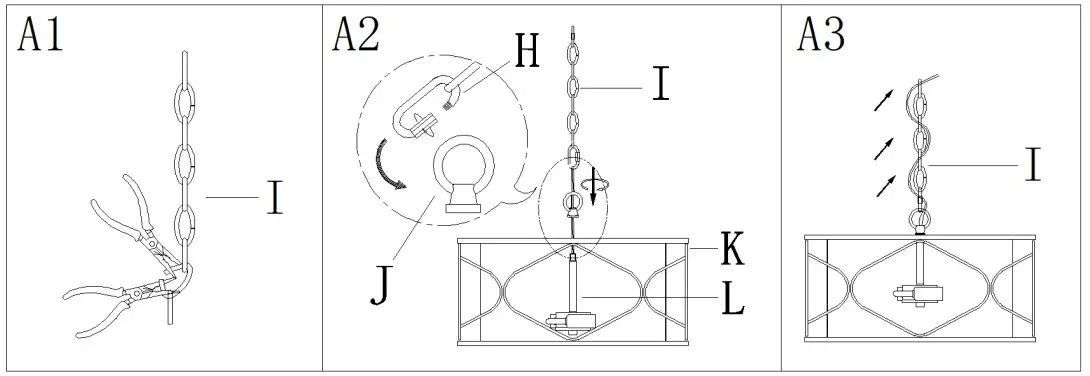
Step A1: By measuring, determine the correct number of links needed for proper hanging height. Using the chain pliers, disconnect and discard the unwanted part.
Step A2: Fix the loop (J) on the top of the stem (L).
Attach the quick link (H) to connect the chain (I) and the loop (J) on the top of wire cages (K).
Step A3: Carefully weave the wires through the chain (I) (skip one blank link between every two links) and stop just when you reach the top of chain (I).
Gently pull the wires to ensure the wires are not stressed. - Turn off power
Before you start the installation, NEVER attempt any work without shutting off the electricity until the work is done.
A) Go to the main fuse, or circuit breaker, box in your home. Place the main power switch in the “OFF” position.
B) Place the wall switch in the “OFF” position. - Make installation

Step B1: Remove the collar ring (F) from collar loop (G). Attach the single bar (C) to outlet box with mounting screws (B).
NOTE: the side of single bar marked “GND” must face out.
Step B2: Raise the canopy (E) through the collar loop (G) and screw the collar loop (G) to measure a proper position.
Unscrew collar ring (F) from the collar loop (G) and remove the canopy (E). Refer to the following note, you would know the proper position where the collar loop it should be located.
Note: The canopy (E) should be snug against the ceiling and the collar loop (G) should be screwed enough threads (no less than 6 threads) over the threaded nipple for more secure hanging. If not, adjust the collar loop (G) on the single bar assembly by screwing the collar loop (G) in or out of the single bar (C) until the secure length is achieved.
Step B3: Slip the collar ring (F) over the chain (I), then do the same with the canopy (E).
Step B4: Open the quick link (H), attach the quick link (H) to connect the collar loop (G). Close the quick link (H). Pass the wires through the collar loop (G) to the top of nipple and gently pull the wires to ensure the wires are not stressed.
Step B5: If needed, shorten the length of fixture wires. At this point, the remaining wire length measured above the single bar (C) is at least 6″.
Connect ground wire according to below chart 
Connect wires according to below chart
| Connect Black or Red Supply Wire to: | Connect White Supply Wire to: |
| Black | White |
| Parallel cord ( round & smooth) | Parallel cord ( square & ridged ) |
| Clear, Brown, Gold or Black without tracer | Clear, Brown, Gold or Black with tracer |
| Insulated wire ( other than green) with copper conductor | Insulated wire ( other than green) with silver conductor |
*Note: When parallel wires ( SPT I & SPT II ) are used. The neutral wire is square shaped or ridged and the other wire will be round in shape or smooth ( see illus.)
Twist plastic wire connector until wires are tightly joined together, and wrap each connector with approved electrical tape. Be sure that no wire strands are exposed and then carefully tuck all wires into the outlet box.
Step B7: Raise canopy (E) to ceiling and secure canopy (E) in place by tightening collar ring (F) onto collar loop (G).
Step B8: Install bulbs (not included) (Please do not exceed the maximum wattage recommended on the socket.)
Check everything is already installed properly, then you could turn on the light. Enjoy!
CLEANING.
To clean, wipe the fixture with a soft cloth. Do not use abrasive materials such as scouring pads or powders, steel wool or abrasive paper.
ORDERING PARTS.
Keep this sheet for future reference in case you need to order replacement parts. All parts for this fixture can be ordered from the place of purchase. Be sure to use exact wording from illustration when ordering parts.
Step A1: By measuring, determine the correct number of links needed for proper hanging height. Using the chain pliers, disconnect and discard the unwanted part.



















