Uolfin 5069556 3-Light 11-Inch Matte Black and Seeded Glass Semi-flush Mount Light

WARNING (To reduce the risk of fire, electric shock, or injury to persons):
- We suggest installation by a licensed electrician.
- Please read the instruction carefully and save it as you may need it at later time.
- Before you start, NEVER attempt any work without shutting off the electricity until the work is done. A). Go to the main fuse, or circuit breaker, box in your home. Place the main power switch in the “OFF” position. B).
Place the wall switch in the “OFF” position. - Mounting surface should be clean, dry, flat, strong enough and 1/4” larger than the canopy on all side. Any gaps between the mounting surface and canopy exceeding 3/16” should be corrected as required.
- Make sure that the ceiling or wall can stand the weight of the lamp before fixture.
- Make sure the voltage you are using is 120V. The maximum wattage is 40W per bulb.
- Keep the lamp away from acidic and basic objects in case of damaging the surface of the lamp.
- When replacing bulb, you should turn off or unplug the lamp and you must wait until it is cool as bulbs get hot quickly.
- The safety instructions appearing in this manual are not meant to cover all possible conditions that may occur. It must be understood that common sense, caution and care must be used with any electrical products.
IMAGE FOR FINISHED PRODUCT

TOOLS REQUIRED (NOT INCLUDED)
Before doing assembly and installation please prepare the needed tools as below picture

PART LIST

PARTS TYPE & QTY INCLUDING:
- (B) Round mounting plate (1)
- (C) Green ground screw (1)
- (E) Canopy (1)
- (F) Knob nut (2)
- (G) Arm (3)
- (H) Stem (1)
- (I) Fixture body (1)
- (J) Glass shade (1)
- (K) Nut (6)
- (L) Plastic washers (6)
ACCESSORIES & QTY ENCLOSED:
- (A) Plastic wire connector (3)
- (D) Mounting screw (2)
ASSEMBLY & INSTALLATION INSTRUCTIONS:
- Carefully remove the fixture from the carton and check that all parts and accessories are included as shown in the above illustration
- Turn off power
Before you start to make installation, NEVER attempt any work without shutting off the electricity until the work is done. A). Go to the main fuse, or circuit breaker, box in your home.
Place the main power switch in the “OFF” position. B). Place the wall switch in the“OFF” position - Unscrew the knob nuts(F) from mounting plate (B) .

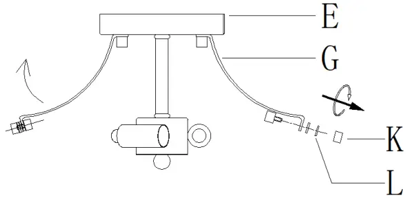
- Unscrew the nut (G) and plastic washers (L) from arms (G) .
Adjust the arms (G) to the right position.
- Attach the mounting plate(B) to outlet box with the mounting screws(D).

- Make wire connections
Connect wires as below wires connecting shown. TAKE NOTE OF YOUR COLOR OF FIXTURE ,NEVER CONNECT WIRES TO GROUND WIRES
Connect ground wire according to below chart
Connect wires according to below chart

Twist plastic wire connector (A) until wires are tightly joined together,then carefully stuff all wires into the outlet box
- Raise canopy (E) to ceiling and secure canopy (E) in place by tightening knobs (F) onto the threaded nipple on mounting plate.

- Install the bulb (not included) (Please do not exceed the maximum capacity recommended on the socket.)
Fix the glass shade (J) to the arms (G) with the plastic washers (L) and nut (K).
- Check everything is already installed properly, then you could turn on the light. Enjoy !
CLEANING
To clean, wipe fixture with a soft cloth. Clean glass with a mild soap. Do not use abrasive materials such as scouringpads or powders, steel wool or abrasive paper.
ORDERING PARTS
Keep this sheet for future reference, and in case you need to order replacement parts. All parts for this fixture canbe ordered from place of purchase. Be sure to use exact wording from illustration when ordering parts.
ABOUT COMPANY
- +1 850 296 2377
- Working hours : Mon – Fri 9:00 a.m. – 16:00 p.m. EST
- [email protected]


























