

HandyMower 22 /18V P4A Art. 14620
Operator’s manual
Battery Lawnmower











Battery Lawnmower HandyMower
Original instructions.

This product may be used under supervision, or if instruction regarding the safe use of the product has been provided and the resulting dangers have been understood, by children aged 8 and above, as well as by persons with physical, sensory or mental disabilities or a lack of experience and knowledge. Children must not be allowed to play with the product. Cleaning and user maintenance must not be performed by children without supervision. The use of this product by young people under the age of 16 is not recommended.
Intended use:
The GARDENA Lawnmower is intended to mow lawn in private domestic gardens and allotments.
The product is not intended for long term use.
DANGER! Risk of injury!
→ Do not use the product to cut bushes, hedges, shrubs, to cut of climbers or grass on roofs or balcony boxes, to chop up branches, twigs and to level irregularities in the soil. Do not use the product on a slope steeper than 20° maximum.
1. SAFETY
IMPORTANT!
Read the operator’s manual carefully before use and keep for future reference.
Symbols on the product:
Read operator’s manual.
Keep bystanders away.
Beware of sharp blades. Blades continue to rotate after the motor is switched off.
Remove disabling device before maintenance.
Secure the working area before starting to work. Watch out for hidden cables.
Switch off:
Remove the Battery before cleaning or maintenance.
For the charger:
Remove plug from the mains immediately if the cable is damaged or cut.
General safety warnings
Electrical safety for the charger
DANGER! Electric shock!
Risk of injury due to electric shock.
→ The product must be supplied through a residual current device (RCD) having a rated residual operating current not exceeding 30 mA.
Training
a) Read the instructions carefully. Be familiar with the controls and the correct use of the machine.
b) Never allow children or people unfamiliar with these instructions to use the machine. Local regulations can restrict the age of the operator.
c) Never operate the machine while people, especially children, or pets are nearby.
d) Keep in mind that the operator or user is responsible for accidents or hazards occurring to other people or their property.
Preparation
a) While operating the machine always wear substantial footwear and long trousers. Do not operate the machine when barefoot or wearing open sandals. Avoid wearing clothing that is loose fitting or that has hanging cords or ties.
b) Thoroughly inspect the area where the machine is to be used and remove all objects which can be thrown by the machine.
c) Before using, always visually inspect to see that the blade, blade bolt and the blade assembly are not worn or damaged. Replace worn or damaged components in set to preserve balance. Replace damaged or unreadable labels.
d) Before use check the supply and extension cord for signs of damage or aging. If the cord becomes damaged during use, disconnect the cord from the supply immediately.
DO NOT TOUCH THE CORD BEFORE DISCONNECTING THE SUPPLY.
Do not use the machine if the cord is damaged or worn.
Operation
a) Operate the machine only in daylight or in good artificial light.
b) Avoid operating the machine in wet grass.
c) Always be sure of your footing on slopes.
d) Walk, never run.
e) Mow across the face of slopes, never up and down.
f) Exercise extreme caution when changing direction on slopes.
g) Do not mow excessively steep slopes.
h) Use extreme caution when reversing or pulling the machine towards you.
i) Stop the blade(s) if the machine has to be tilted for transportation when crossing surfaces other than grass, and when transporting the machine to and from area to be used.
j) Never operate the machine with defective guards or shields, or without safety devices, for example deflectors and / or grass collector, in place.
k) Switch on the motor carefully according to instructions and with feet well away from the blade(s).
l) Do not tilt the machine when switching on the motor, except if the machine has to be tilted for starting. In this case, do not tilt it more than absolutely necessary and lift only the part, which is away from the operator.
m) Do not start the machine when standing in front of the discharge opening.
n) Do not put hands or feet near or under rotating parts. Keep clear of the discharge opening at all times.
o) Do not transport the machine while the power source is running.
p2) Stop the machine and remove the disabling device. Make sure that all moving parts have come to a complete stop.
- whenever you leave the machine,
- before clearing blockages or unclogging chute,
- before checking, cleaning or working on the machine,
- after striking a foreign object. Inspect the machine for damage and make repairs before restarting and operating the machine.
If the machine starts to vibrate abnormally (check immediately)
- inspect for damage,
- replace or repair any damaged parts,
- check for and tighten any loose parts.
Maintenance and storage
a) Keep all nuts, bolts, and screws tight to be sure the machine is in safe working condition.
b) Check the grass collector frequently for wear or deterioration.
c) Replace worn or damaged parts for safety.
d) On machines with multi blade, take care as rotating one blade can cause other blades rotate.
e) Be careful during adjustment of the machine to prevent entrapment of the fingers between moving blades and fixed parts of the machine.
f) Always allow the machine to cool down before storing.
g) When servicing the blades be aware that, even though the power source is switched off, the blades can still be moved.
h) Use only genuine replacement parts and accessories.
Additional safety warnings
Battery safety
Read all the safety and general instructions.
Failure to observe the safety and general instructions may result in electric shock, fire and / or serious injury.
Store these instructions in a safe place. Only use the charger if you can fully evaluate all functions and carry them out without restrictions, or if you have received corresponding instructions.
→ Supervise children during use, cleaning and maintenance.
This will ensure that children do not play with the charger.
→ Charge only lithium-ion batteries of the POWER FOR ALL system type PBA 18V with a capacity of 1.5 Ah or more (5 battery cells or more). The battery voltage must match the battery charging voltage of the charger. Do not charge any nonrechargeable batteries.
Otherwise there is a risk of fire and explosion.
→
Do not expose the charger to rain or wet conditions.
Water entering a power tool will increase the risk of electric shock.
→ Keep the charger clean. Dirt poses a risk of electric shock.
→ Always check the charger, cable and plug before use. Stop using the charger if you discover any damage. Do not open the charger yourself, and have it repaired only by a qualified specialist using only original replacement parts.
Damaged chargers, cables and plugs increase the risk of electric shock.
→ Do not operate the charger on an easily ignited surface (e. g. paper, textiles, etc.) or in a flammable environment.
There is a risk of fire due to the charger heating up during operation.
→ In order to avoid safety hazards, if the power supply cord needs to be replaced, this must be done by GARDENA or by a customer service centre that is authorised to repair GARDENA power tools.
→ Do not operate the product while it is charging.
Products sold in GB only: Your product is fitted with an BS 1363/A approved electric plug with internal fuse (ASTA approved to BS 1362). If the plug is not suitable for your socket outlets, it should be cut off and an appropriate plug fitted in its place by an authorised customer service agent. The replacement plug should have the same fuse rating as the original plug. The severed plug must be disposed of to avoid a possible shock hazard and should never be inserted into a mains socket elsewhere.
→ These safety warnings apply only for lithium-ion batteries of the POWER FOR ALL system PBA 18V.
→ Only use the battery with products of the POWER FOR ALL system manufacturers.
This is the only way in which you can protect the battery against dangerous overload.
→ Recharge only with the charger specified by the manufacturer.
A charger that is suitable for one type of battery pack may create a risk of fire when used with another battery pack.
→ The battery is supplied partially charged.
To ensure full battery capacity, fully charge the battery in the charger before using your power tool for the first time.
→ Keep battery packs out of the reach of children.
→ Do not open the battery. There is a risk of short-circuiting.
→ In case of damage and improper use of the battery, vapours may be emitted. The battery can set alight or explode.
Ensure the area is well ventilated and seek medical attention should you experience any adverse effects. The vapours may irritate the respiratory system.
→ If used incorrectly or if the battery is damaged, flammable liquid may be ejected from the battery. Contact with this liquid should be avoided. If contact accidentally occurs, rinse off with water. If the liquid comes into contact with your eyes, seek additional medical attention.
Liquid ejected from the battery may cause irritation or burns.
→ If the battery is damaged liquid can be ejected and cover nearby surfaces. Check affected parts.
Clean these parts or change them if necessary.
→ Do not short-circuit the battery pack. When the battery pack is not in use, keep it away from other metal objects, like paper clips, coins, keys, nails, screws or other small metal objects, that can make a connection from one terminal to another.
Shorting the battery terminals together may cause burns or a fire.
→ The battery can be damaged by pointed objects such as nails or screwdrivers or by force applied externally. An internal short circuit may occur, causing the battery to burn, smoke, explode or overheat.
→ Never service damaged battery packs.
Service of battery packs should only be performed by the manufacturer or authorised service providers.
→
Protect the battery against heat, e. g. against continuous intense sunlight, fire, dirt, water and moisture.
There is a risk of explosion and short-circuiting.
→ Only operate and store the battery at an ambient temperature between - 20 °C and + 50 °C.
Do not leave the battery in your car in the summer, for example.
At temperatures of < 0 °C some devices may experience a loss of power.
→ Only charge the battery at an ambient temperature which is between 0 °C and + 45 °C.
Charging outside of this temperature range can increase the risk of damage to the battery and pose a fire hazard.
Electrical safety
DANGER! Cardiac arrest!
This product makes an electromagnetic field while it operates. This field may under some conditions interfere with active or passive medical implants. To decrease the risk of conditions that can possibly injure or kill, we recommend persons with medical implants to speak with their physician and the medical implant manufacturer before you operate the product.
Only use the battery product between 0 °C and 40 °C.
Do not use under wet conditions.
Protect the battery contacts from moisture.
Personal safety
DANGER! Risk of suffocation!
Small parts can be easily swallowed. There is also a risk that the polybag can suffocate toddlers. Keep toddlers away when you assemble the product.
Do not disassemble the product further than the delivery status.
Use gloves, wear slip resistant shoes and wear eye protection.
Do not overload the mower.
Never operate the product when you are tired, ill or under the influence of alcohol, drugs or medicine.
Danger of slipping:
- in wet grass
- on steep slopes
- during transport
Be careful while going backwards.
Do not let the product become wet with rain or other moisture.
DANGER! Risk of explosion!
Do not operate the product in explosive atmospheres, such as in the presence of flammable liquids, gases or dust. Power tools create sparks which may ignite the dust or fumes.
2. ASSEMBLY
DANGER! Risk of injury!
Cut injury when the product starts accidentally.
→ Remove the battery, remove the safety key and use gloves before you assemble the product.
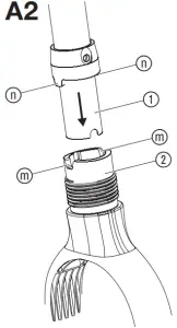
To assemble the tube [ Fig. A1 / A2 ]:
- Slide the tube (1) into the tube holder (2). The starting lockout (7) must point forward from the handle (5).
Make sure that the tube (1) is completely inserted and that the noses (n), on the tube are located in the openings (m) of the tube holder (2). - Tighten the clamping sleeve (3).
3. OPERATION
DANGER! Risk of injury!
Cut injury when the product starts accidentally.
→ Wait for the blade to stop, remove the safety key and use gloves before you adjust or transport the product.
To charge the battery [ Fig. O1 / O2 / O3 ]:
CAUTION!
→ Note the mains voltage! The voltage of the power source must match the voltage specified on the rating plate of the charger.
Thanks to the intelligent charging process, the charge condition of the battery is automatically detected and then charged up with the optimal charge current depending on battery temperature and voltage.
In this way, the battery is treated with care and remains permanently fully charged when it is stored in the charger.
- Open the cover (4).
- Push the locking button (A) and remove the battery (B) from the battery holder (D).
- Connect the battery charger (C) into a mains socket.
- Slide the battery charger (C) onto the battery (B).
When the battery charge indicator (Lc) at the charger flashes green the battery is being charged.
When the battery charge indicator (Lc) at the charger illuminates permanently green the battery is completely charged
(Charging time, see 7. TECHNICAL DATA). - Examine the charge status regularly while you charge.
- When the battery (B) is completely charged, you can disconnect the battery (B) from the charger (C).
Meaning of the indication elements:
Indication on the charger [ Fig. O3 ]:
Flashing of the battery charge Indicator (Lc)

The charging procedure is indicated by flashing of the battery charge indicator (Lc).
Note: The charging procedure is only possible when the battery temperature is within the allowable charging temperature range, see 7. TECHNICAL DATA.
Continuous lighting of the battery charge indicator (Lc)

Continuous lighting of the battery charge indicator (Lc) indicates that the battery is fully charged or that the temperature of the battery is not within the allowable charging temperature range and can therefore not be charged.
When the battery is not inserted, continuous lighting of the battery charge indicator (Lc) indicates that the mains plug is inserted in the socket outlet and that the battery charger is ready for operation.
Battery charge status indication (P) on the product [ Fig. O4 / O8 ]:
After starting the product, the battery charge status indication (P) is displayed for 5 seconds.
| Battery charge status | Battery charge status indication |
| 67 - 100 % charged | (L1), (L2) and (L3) illuminate green |
| 34 - 66 % charged | (L1) and (L2) illuminate green |
| 11 - 33 % charged | (L1) illuminates green |
| 0 - 10 % charged | (L1) flashes green |
If the LED (L1) flashes green, the battery must be charged.
If the error LED (Wp) is illuminated or flashing, see 6. TROUBLESHOOTING.
Work positions:
The product is provided with a safety device to prevent it from being switched on in the position at working interruption and transport position.
Working position (W) approx. 22° - 70° [ Fig. O5 ]:
In order for the mower to be started, the tube (1) must be in the working position (W) (approx. 22° - 70°).
For safety reasons, the mower stops automatically when the tube (1) is moved out of the working position (W).
Parking position (P) approx. 70° - 105° [ Fig. O5 / O6 ]:
When the tube (1) is completely up, the tube (1) is in the parking position (P). The mower cannot be started in this position.
Transport position (T) approx. 0° - 22° [ Fig. O5 / O7 ]:
For transport, the mower can be carried by the tube (1) or by the handle (5).
When the mower is carried, the handle (1) is in the transport position (T). The mower cannot be started in this position.
To adjust the cutting height [ Fig. O8 ]:
The cutting height can be adjusted from 30 - 50 mm in 3 positions.
- Push the height adjustment (11) in the direction of the wheel and set the height adjustment (11) to the desired position.
- Let the height adjustment (11) engage in the desired position.
To start the mower [ Fig. O1 /O9 ]:
DANGER! Risk of injury!
Risk of injury if the product does not stop when you release the start lever.
→ Do not bypass the safety devices or switches. For example do not attach the start lever to the handle.
To start:
The product is provided with a two-switch safety device (safety key with starting lockout) to prevent the product from being turned on by accident.
- Open the lid (4).
- Put the battery (B) into the battery holder (D) until it audibly engages.
- Put the safety key (6) into the handle and turn it to position
. - Push the starting lockout (7) with one hand and pull the start lever (8) with the other hand.
The mower starts and the battery charge status indication (P) is displayed for 5 seconds. - Release the starting lockout (7).
To stop:
- Release the start lever (8).
The mower stops. - Turn the safety key (6) to position
and remove it.
Tips to use the mower:
To produce a well-maintained lawn and optimise the cutting performance, we recommend to cut the lawn regularly once a week if possible. The lawn becomes denser if you cut it frequently.
After relatively long cutting intervals (holiday lawn), first of all cut in one direction with the highest cutting height and then cut in the crosswise direction with the required cutting height.
If possible, only cut the grass when it is dry, if the grass is damp, the cutting pattern will be uneven.
Cutting performance and battery charge:
The lawn area which can be cut on each battery charge depends on several factors such as moisture, grass density and cutting height. In order to ensure an optimal use of space, do not turn the mower on and off too frequently as this severely reduces the battery running time. The cutting performance for each battery charge can be ideally utilised by increasing the cutting height and frequent mowing.
Mulching:
The specially shaped blade ensures optimum cutting and mulching results. The blades of grass are not simply cut off, but cut into small particles which fall onto the ground between the blades of grass, thus reducing the drying out of the lawn. Grass cuttings do not have to be collected or disposed of and are a natural fertiliser.
The best mulching result is achieved when 1/3 of the grass height is cut (e. g. from 60 mm to 40 mm).
The maximum area of 50 m² can only be achieved with optimum conditions.
4. MAINTENANCE
DANGER! Risk of injury!
Cut injury when the product starts accidentally.
→ Wait for the blade to stop, remove the safety key and use gloves before you maintain the product.
To clean the mower:
DANGER! Risk of injury!
Risk of injury and risk of damage to the product.
→ Do not clean the product with water or with a water jet (in particular high-pressure water jet).
→ Do not clean with chemicals including petrol or solvents. Some can destroy critical plastic parts.
To clean the underside of the mower [ Fig. M1 ]:
The underside is easiest to clean after you mowed.
- Lay the mower on its side carefully.
- Clean the underside and the blade (9) with a brush and the enclosed scraper (10) (do not use sharp objects).
To clean the overside of the mower:
→ Clean the overside with a damp cloth.
To clean the battery and the battery charger:
Make sure that the surface and the contacts of the battery and the battery charger always are clean and dry before you connect the battery charger.
Do not use running water.
→ Battery charger: Clean the contacts and the plastic parts with a soft and dry cloth.
→ Battery: Occasionally clean the ventilation slots and the terminals on the battery using a soft brush that is clean and dry.
5. STORAGE
To put into storage [ Fig. S1 ]:
The product must be stored away from children.
- Turn the safety key to position
and remove it. - Remove the battery.
- Charge the battery.
- Clean the mower, the battery and the battery charger (see 4. MAINTENANCE).
- To save space, the mower can be suspended from the tube in the GARDENA Tool Holder Art. 3501 / 3503 (The mower must not be suspended from the handle).
- Store the mower, the battery and the battery charger in a dry, enclosed and frost-free place.
Disposal:
(in accordance with RL2012/19/EC)
The product must not be disposed of to normal household waste. It must be disposed of in line with local environmental regulations.
IMPORTANT!
→ Dispose of the product through or via your municipal recycling collection centre.
Disposal of the battery:
The GARDENA battery contains lithium-ion cells that should not be disposed of with normal household waste at the end of its life.
IMPORTANT!
→ Dispose of the batteries through or via your municipal recycling collection centre.
- Discharge the lithium-ion cells completely (contact the GARDENA Service).
- Protect the contacts on the lithium-ion cells against short circuits.
- Dispose of the lithium-ion cells properly.
6. TROUBLESHOOTING
DANGER! Risk of injury!
Cut injury when the product starts accidentally.
→ Wait for the blade to stop, remove the safety key and use gloves before you troubleshoot the product.
To replace the blade:
DANGER! Risk of injury!
Cut injury when the blade turns and it is damaged, bent, out of balance or has chipped edges.
→ Do not use the mower when the blade is damaged, bent, out of balance or has chipped edges.
→ Do not regrind the blade.
The GARDENA spare parts are available from your GARDENA dealer or from the GARDENA Service.
Only use an original GARDENA blade:
• GARDENA Replacement blade Art. 4105
→ Let the blade be replaced by the GARDENA Service or a specialist dealer authorised by GARDENA.
| Problem | Possible Cause | Remedy |
| Engine is jammed and makes a noise | Motor is blocked. | → Remove the obstacle. Start again. |
| Cutting height is too low. | → Raise the cutting height. | |
| Loud noises, the mower is rattling | Screws on engine, its fixing or on the mower chasing are loose. | → Let the screws be tightened by an authorised specialist dealer or the GARDENA Service. |
| Mower runs unevenly or vibrates strongly | Blade is damaged / worn or the blade mounting is released. | → Let the blade be tightened or replaced by an authorised specialist dealer or the GARDENA Service. |
| Blade is very dirty. | → Clean the mower (see 4. MAINTENANCE). If this does not rectify the problem, contact the GARDENA Service. | |
| Lawn is not cleanly mowed | Blade is blunt or damaged. | → Let the blade be replaced by the GARDENA Service. |
| Cutting height is too low. | → Raise the cutting height. | |
| Mower does not start or stops. LED (L1) is flashing green [ Fig. O4 ] | Battery is empty. | → Charge the battery. |
| Mower does not start or stops. Error-LED (Wp) is illuminated red [ Fig. O4 ] | Battery temperature is outside the permissible temperature range. | → Wait until the battery temperature is between 0 °C- + 45 °C again. |
| There are drops of water or moisture between the battery contacts on the mower. | → Remove the water drops / moisture with a dry cloth. | |
| Motor is blocked. | → Remove the obstacle. Start again. | |
| Mower does not start or stops. Error-LED (Wp) is flashing red [ Fig. O4 ] | Product is defective. | → Contact the GARDENA Service. |
| Mower does not start or stops. Error-LED (Wp) is not illuminated [ Fig. O4 ] | Battery is not put completely into the battery holder. | → Put the battery completely into the battery holder until it audibly engages. |
| Safety key is not in position | → Turn the safety key to position | |
| Tube is not in the working position (W) [Fig. O5]. | → Make sure that the tube is in the working position (W) (approx. 22° -70°) when switching on. | |
| Clamping sleeve is not tightened or has come loose [Fig. A1 / A2]. | →Tighten the clamping sleeve (see To assemble the tube). | |
| Battery is defective. | → Replace the battery. | |
| Product is defective. | → Contact the GARDENA Service. | |
| Charging is not possible. Battery charge indicator (Lc) is continuously illuminated [ Fig. O3 ] | The battery is not connected (correctly). | → Connect the battery to charger correctly. |
| Battery contacts are dirty. | → Clean the battery contacts (e. g. by connecting and disconnecting the battery several times. Replace the battery if necessary. | |
| Battery temperature is outside the permissible charging temperature range. | → Wait until the battery temperature is between 0 °C- + 45 °C again. | |
| Battery is defective. | → Replace the battery. | |
| Battery charge indicator (Lc) is not illuminated [ Fig. O3 ] | Mains plug of the charger is not (correctly) plugged in. | → Insert the mains plug into the mains socket (completely). |
| Socket outlet, mains cable or charger is defective. | → Check the mains voltage. Let the charger be checked if necessary by an authorised specialist dealer or the GARDENA Service. |
NOTE: For any other malfunctions please contact the GARDENA service department. Repairs must only be done by GARDENA service departments or specialist dealers approved by GARDENA.
7. TECHNICAL DATA
| Battery Lawnmower | Unit | Value (Art. 14620) |
| Speed of rotation cutting blade | R/min | 6000 |
| Cutting width | cm | 22 |
| Cutting height adjustment (3 positions) | mm | 30 - 50 |
| Weight (without Battery) | kg | 4.2 |
| Sound pressure level LpA1) Uncertainty kpA | dB (A) | 74 2.5 |
| Sound power level LWA2): measured / guaranteed Uncertainty kWA | dB (A) | 84 / 86 |
| Hand / arm vibration avhw1) Uncertainty kvhw | m/s2 | < 2.5 1.5 |
| Measuring process complying with: 1) EN 60335-2-77 2) RL 2000/14/EC | ||
NOTE: The stated vibration emission value has been measured according to a standardised test procedure and can be used for comparison of one electric power tool with another. It can also be used for preliminary evaluation of exposure. The vibration emission value can vary during actual use of the electric power tool.
8. ACCESSORIES
| GARDENA Replacement Blade | As replacement for blunt blade. | Art. 4105 |
| GARDENA Tool Holder | Tool holder for space-saving mower storage. | Art. 3501 / 3503 |
| GARDENA System Battery PBA 18V/36 P4A PBA 18V/45 P4A PBA 18V/72 P4A | Battery for additional duration or for replacement. | Art. 14902 |
| GARDENA Battery Charger AL 1810 CV P4A | Art. 14900-28 (UK) Art. 14900-52 (AU / NZ) | |
| GARDENA Battery Quick Charger AL 1830 CV P4A | Charger for fast charging the POWER FOR ALL System Batteries PBA 18V..W-.. | Art. 14901-28 (UK) Art. 14901-52 (AU / NZ) |
9. SERVICE / WARRANTY
Service:
Please contact the address on the back page.
Warranty statement:
In the event of a warranty claim, no charge is levied to you for the services provided.
GARDENA Manufacturing GmbH grants a warranty for all original GARDENA new products for two years from the date of original purchase from the retailer, provided that the devices have been for private use only. This manufacturer’s warranty does not apply to products acquired second hand. This warranty includes all significant defects of the product that can be proved to be material or manufacturing faults. This warranty is fulfilled by supplying a fully functional replacement product or by repairing the faulty product sent to us free of charge; we reserve the right to choose between these options. This service is subject to the following provisions:
• The product has been used for its intended purpose as per the recommendations in the operating instructions.
• Neither the purchaser nor a third party has attempted to open or repair the product.
• Only Original GARDENA replacement parts and wear parts have been used for operation.
• Presentation of the receipt.
Normal wear and tear of parts and components (such as blades, blade fixing parts, turbines, light bulbs, V-belts / toothed belts, impellers, air filters, spark plugs), visual changes, wear parts and consumables are excluded from the warranty.
This manufacturer’s warranty is limited to replacement and repair of products in accordance with the above mentioned conditions. The manufacturer’s warranty does not constitute an entitlement to lodge other claims against us as a manufacturer, such as for damages. This manufacturer’s warranty does not, of course, affect statutory and contractual warranty claims against the dealer / retailer.
The manufacturer’s warranty is governed by the law of the Federal Republic of Germany.
In case of a warranty claim, please return the faulty product, together with a copy of the receipt and a description of the fault, with postage paid to the service address.
Consumables:
The blade and the wheels are consumables and are not included in the warranty.
Deutschland / Germany
GARDENA
Manufacturing GmbH
Central Service
Hans-Lorenser-Straße 40
D-89079 Ulm
Produktfragen:
(+49) 731 490-123
Reparaturen:
(+49) 731 490-290
[email protected]
http://www.gardena.com
Albania
KRAFT SHPK
Autostrada Tirane-Durres
Km 7
1051 Tirane
Argentina
ROBERTO C. RUMBO S.R.L.
Predio Norlog
Lote 7
Benavidez. ZC:1621
Buenos Aires
[email protected]
Australia
Husqvarna Australia Pty. Ltd.
Locked Bag 5
Central Coast BC
NSW 2252
Phone: (+61) (0) 2 4352 7400
[email protected]
Austria / Österreich
Husqvarna Austria GmbH
Industriezeile 36
4010 Linz
Tel.: (+43) 732 77 01 01-485
[email protected]
Azerbaijan
Firm Progress
a. Aliyev Str. 26A
1052 Baku
Belarus
Private Enterprise
“Master Garden”
Minsk
Sharangovich str., 7a
Phone: (+375) 17 257-00-33
Mob.: (+375) 29 676-16-09
[email protected]
Belgium
Husqvarna Belgium nv
Gardena Division
Leuvensesteenweg 542
Planet II E
1930 Zaventem
België
Bosnia / Herzegovina
SILK TRADE d.o.o.
Industrijska zona Bukva bb
74260 Tešanj
Brazil
Husqvarna do Brasil Ltda
Av. Francisco Matarazzo,
1400 – 19º andar
São Paulo – SP
CEP: 05001-903
Tel: 0800-112252
[email protected]
Bulgaria
AGROLAND България АД
бул. 8 Декември, №13
Офис 5
1700 Студентски град
София
Тел.: (+359) 24666910
[email protected]
Canada / USA
GARDENA Canada Ltd.
100 Summerlea Road
Brampton, Ontario L6T 4X3
Phone: (+1) 905 792 93 30
[email protected]
Chile
REPRESENTACIONES
JCE S.A.
Av. Del Valle Norte 857,
Piso 4
Santiago RM
Phone: (+56) 2 24142560
[email protected]
China
Husqvarna (Shanghai)
Management Co., Ltd.
3F, Benq Square B,
No207, Song Hong Rd.,
Chang Ning District,
Shanghai
PRC. 200335
:200335
Colombia
Husqvarna Colombia S.A.
Calle 18 No. 68 D-31, zona
Industrial de Montevideo
Bogotá, Cundinamarca
Tel. 571 2922700 ext. 105
[email protected]
Costa Rica
Compania Exim
Euroiberoamericana S.A.
Los Colegios, Moravia,
200 metros al Sur del Colegio
Saint Francis – San José
Phone: (+506) 297 68 83
[email protected]
Croatia
Husqvarna Austria GmbH
Industriezeile 36
4010 Linz
Tel.: (+43) 732 77 01 01-485
[email protected]
Cyprus
Med Marketing
17 Digeni Akrita Ave
P.O. Box 27017
1641 Nicosia
Czech Republic
Husqvarna Česko s.r.o.
Türkova 2319/5b
149 00 Praha 4 – Chodov
Bezplatná infolinka:
800 100 425
[email protected]
Denmark
GARDENA DANMARK
Lejrvej 19, st.
3500 Værløse
Tlf.: (+45) 70264770
[email protected]
www.gardena.com /dk
Dominican Republic
BOSQUESA, S.R.L
Carretera Santiago Licey
Km. 5 ½
Esquina Copal II.
Santiago
Dominican Republic
Phone: (+809) 736-0333
[email protected]
Ecuador
Husqvarna Ecuador S.A.
Arupos E1-181 y 10 de
Agosto Quito, Pichincha
Tel. (+593) 22800739
[email protected]
Estonia
Husqvarna Eesti OÜ
Valdeku 132
EE-11216 Tallinn
[email protected]
Finland
Oy Husqvarna Ab
Gardena Division
Lautatarhankatu 8 B / PL 3
00581 HELSINKI
www.gardena.fi
France
Husqvarna France
9/11 Allée des pierres mayettes
92635 Gennevilliers Cedex
France
http://www.gardena.com/fr
N° AZUR: 0 810 00 78 23
(Prix d’un appel local)
Georgia
Transporter LLC
113b Beliashvili street
0159 Tbilisi, Georgia
Great Britain
Husqvarna UK Ltd
Preston Road
Aycliffe Industrial Park
Newton Aycliffe
County Durham
DL5 6UP
[email protected]
Greece
(+30) 210 5193100
[email protected]
Hungary
Husqvarna Magyarország Kft.
Ezred u. 1- 3
1044 Budapest
Telefon: (+36) 1 251-4161
[email protected]
Iceland
BYKO ehf.
Bildshöfoa 20
110 Reykjavik
Ireland
Husqvarna UK Ltd
Preston Road
Aycliffe Industrial Park
Newton Aycliffe
County Durham
DL5 6UP
[email protected]
Italy
Husqvarna Italia S.p.A.
Via Santa Vecchia 15
23868 VALMADRERA (LC)
Phone: (+39) 0341.203.111
[email protected]
Japan
Husqvarna
Zenoah Co. Ltd. Japan
1-9 Minamidai, Kawagoe
350-1165 Saitama
Japan
[email protected]
Kazakhstan
LAMED Ltd.
155/1, Tazhibayevoi Str.
050060 Almaty
IP Schmidt
Abayavenue 3B
110 005 Kostanay
Korea
Kyung Jin Trading CO.,LTD.
107-4, SunDuk Bld.,
YangJae-dong,
Seocho-gu,
Seoul, (zipcode: 137-891)
Phone: (+82) (0)2 574-6300
Latvia
Husqvarna Latvija SIA
Ulbrokas 19A
LV-1021 Rīga
[email protected]
Lithuania
UAB Husqvarna Lietuva
Ateities pl. 77C
LT-52104 Kaunas
[email protected]
Luxembourg
Magasins Jules Neuberg
39, rue Jacques Stas
Luxembourg-Gasperich 2549
Case Postale No. 12
Luxembourg 2010
Phone: (+352) 40 14 01
[email protected]
Mexico
AFOSA
Av. Lopez Mateos Sur # 5019
Col. La Calma 45070
Zapopan, Jalisco
Mexico
Phone: (+52) 33 3818-3434
[email protected]
Moldova
Convel S.R.L.
290A Muncesti Str.
2002 Chisinau
Netherlands
Husqvarna Nederland B.V.
GARDENA Division
Postbus 50131
1305 AC ALMERE
Phone: (+31) 36 521 00 10
[email protected]
Neth. Antilles
Jonka Enterprises N.V.
Sta. Rosa Weg 196
P.O. Box 8200
Curaçao
Phone: (+599) 9 767 66 55
[email protected]
New Zealand
Husqvarna New Zealand Ltd.
PO Box 76-437
Manukau City 2241
Phone: (+64) (0) 9 9202410
[email protected]
Norway
Husqvarna Norge AS
Gardena Division
Trøskenveien 36
1708 Sarpsborg
[email protected]
Peru
Husqvarna Perú S.A.
Jr. Ramón Cárcamo 710
Lima 1
Tel: (+51) 1 3320400 ext. 416
[email protected]
Poland
Husqvarna
Poland Spółka z o.o.
ul. Wysockiego 15 b
03-371 Warszawa
Phone: (+48) 22 330 96 00
[email protected]
Portugal
Husqvarna Portugal, SA
Lagoa – Albarraque
2635 – 595 Rio de Mouro
Tel.: (+351) 21 922 85 30
Fax : (+351) 21 922 85 36
[email protected]
Romania
Madex International Srl
Soseaua Odaii 117- 123,
RO 013603 Bucureşti, S1
Phone: (+40) 21 352.76.03
[email protected]
Russia
http://www.gardena.ru
Serbia
Domel d.o.o.
Autoput za Novi Sad bb
11273 Belgrade
Phone: (+381) 118 48 88 12
[email protected]
Singapore
Hy-Ray PRIVATE LIMITED
40 Jalan Pemimpin
#02-08 Tat Ann Building
Singapore 577185
Phone: (+65) 6253 2277
[email protected]
Slovak Republic
Husqvarna Česko s.r.o.
Türkova 2319/5b
149 00 Praha 4 – Chodov
Bezplatná infolinka: 800 154 044
[email protected]
Slovenia
Husqvarna Austria GmbH
Industriezeile 36
4010 Linz
Tel.: (+43) 732 77 01 01-485
[email protected]
South Africa
Husqvarna South Africa (Pty) Ltd
Postnet Suite 250
Private Bag X6,
Cascades, 3202, South Africa
Phone: (+27) 33 846 9700
[email protected]
Spain
Husqvarna España S.A.
Calle de Rivas nº 10
28052 Madrid
Phone: (+34) 91 708 05 00
[email protected]
Suriname
Deto Handelmaatschappij N.V.
Kernkampweg 72-74
P.O.Box: 12782
Paramaribo – Suriname
South America
Phone: (+597) 438050
www.deto.sr
Sweden
Husqvarna AB /
GARDENA Sverige
Drottninggatan 2
561 82 Huskvarna Sverige
Switzerland / Schweiz
Husqvarna Schweiz AG
Consumer Products
Industriestrasse 10
5506 Mägenwil
Phone: (+41) (0) 62 887 37 90
[email protected]
Turkey
Dost Bahçe Dış Ticaret
Mümessillik A.Ş
Yunus Mah. Adil Sok. No:3
Ic Kapi No: 1 Kartal
34873 Istanbul
Phone: (+90) 216 38 93 939
[email protected]
Ukraine
ТОВ
Тел. (+38) 0 800 504 804
[email protected]
Uruguay
FELI SA
Entre Ríos 1083 CP 11800
Montevideo – Uruguay
Tel: (+598) 22 03 18 44
[email protected]
Venezuela
Corporación Casa y Jardín C.A.
Av. Caroní, Edif. Trezmen, PB.
Colinas de Bello Monte.
1050 Caracas.
Tlf: (+58) 212 992 33 22
[email protected]
14620-56.960.01/0521
© GARDENA Manufacturing GmbH
D-89079 Ulm
http://www.gardena.com
















