wiltec 61447 Universal Ceiling Kayak Hoist

Safety Information
Read and follow the operating instructions and safety information before using for the first time.
Technical changes reserved!
Illustrations, functional steps, and technical data may deviate insignificantly due to continuous further developments.
Updating the documentation
If you have suggestions for improvement or have found any irregularities, please contact
The information contained in this document may alter at any time without prior notice. No part of this document may be copied or otherwise duplicated without prior written consent. All rights reserved.
WilTec Wildanger Technik GmbH cannot be held liable for any possible mistakes in this operating man-ual, nor in the diagrams and illustrations shown.
Although WilTec Wildanger Technik GmbH has made every possible effort to ensure that this operating manual is complete, accurate, and up-to-date, errors cannot be ruled out entirely.
If you have found an error or wish to suggest an improvement, we look forward to hearing from you. Send us an e-mail to:
[email protected]
or use our contact form:
https://www.wiltec.de/contacts/
The most recent version of this manual in several languages can be found in our online shop:
https://www.wiltec.de/docsearch
Our postal address is:
WilTec Wildanger Technik GmbH Königsbenden 12 52249 Eschweiler – Germany
To return your goods for exchange, repair, or other purposes, please use the following address. Atten-tion! To allow for a trouble-free complaint or return, it is important to contact our customer service team before returning your goods.
Retourenabteilung
WilTec Wildanger Technik GmbH Königsbenden 28 52249 Eschweiler – Germany
E-mail: [email protected]
Tel: +49 2403 55592–0
Fax: +49 2403 55592–15
Introduction
Thank you for choosing to purchase this quality product. To minimise the risk of injury, we ask you to always take some basic safety precautions when using this product. Please read this operating manual carefully and make sure that you understand it.
Keep these operation instructions in a safe place.
Safety instructions
- Do not install the kayak hoist over frequented places or places where children could play.
- When mounted correctly, the hoist can withstand a max. load of 45 kg.
- Do not mount the hoist if you are not able to lift the weight of the kayak.
- Do not mount the hoist above vehicles or other object that could be damaged if the kayak falls down.
- Do not lower the kayak if there are people or objects underneath.
- Never allows children to operate the hoist.
- Make sure that the rope does not slip through your hands. Wear gloves. Burning hazard!
- Do not overload the hoist. Danger of injuries and/or damages!
- The hoist is exclusively meant to lift a kayak. Take out all objects stowed away in the kayak before lifting it.
- Do not hang additional weight on a kayak that shall be lifted.
- Never lift the kayak with children or pets sitting inside. Risk of injuries!
- Do not mount the hoist close to fuses, electric control panels, sockets, lamps, or heating ele-ments.
- Familiarise yourself with the safety instructions and all information contained in this user’s man-ual before beginning to install the hoist.
- For you to be able to install the hoist correctly, we recommend basic do-it-yourself knowledge and skills.
- The hoist should be installed by two persons.
Mounting the hoist
Step 1
Determine a suitable mounting spot. The hoist must be mounted to a solid ceiling beam. The beam must at least be 5 × 10 cm (see Figg. 2 and 3).
Next, you must check if the wall has enough free space (see Fig. 1). Measure the distance from the centre of the kayak to the sides (E). Add 12.7 cm (5″) or more (F) for the kayak not to touch the side wall or other obstacles that are on its side.
Note! Absolutely consider the opening of possible garage or swinging doors.
Measure the distance E + F to the wall, then draw a line on the ceiling that is parallel to the wall (E + F = distance wall–centre of kayak).
Then determine the centre of the kayak in the longitudinal direction. Measure the distance from the centre to the end of the kayak (A) and, if necessary, add 12.7 cm (5″) or more (B). If more free space is required at the ends or sides of the kayak, repeat this on the opposite half. Measure the distance A + B from the wall and draw a parallel line. This will be the middle mark for the installation of the hoist.
| № | Name/description |
| 1 | Wall or obstacle |
| 2 | Add 12.7 cm or more. |
| 3 | 183–305 cm |
| 4 | Expansion of strap |
| 5 | Strap |
| 6 | Add 12.7 cm or more. |
Step 2
Then determine the distance at which you wish the straps to be fixed (possible from approx. 183 to 305 cm). The scope of delivery contains enough rope to mount the hooks of the hoist at a max. distance of 305 cm. Choose the distance suiting your kayak best. If it is a short kayak, the hooks are installed at a shorter distance from each other; if it is a long kayak, the hooks are installed at a larger distance from each other for balance reasons.
Attention! New and well maintained kayaks have a slippery surface and therefore run the risk of slipping off the nylon straps. It is advisable to fix a rope between the straps for them not to slip apart (see Fig. 4). You must halve the distance.
Step 3
It is advisable to fix the hoist to a mounting plate (not included in the scope of delivery). Plates having a size of 5×10 cm or 2.5×10 cm are best suitable (see Figg. 2 and 3). The plate should be 12.7 cm longer than the space required for mounting the hoist. Mark the centre of the plate.
Step 4
Mount the hoist to the mounting plate before installing the mounting plate on the ceiling. Use Fig.-1 measures to determine the position of the front and rear hook as show in Figg. 2 and 3. Use woodscrews (included in delivery) to install the mounting brackets on the mounting plate.
Step 5
To mount the pulley, two or three persons are required. Align the centre of the plate and the centre of the installation spot marked on the ceiling. The hoist and plate can be fixed to the beam using ¼″×3½″ woodscrews with washers (as shown in Figg. 2 and 3). Make sure that the woodscrew is well centred on the beam (Fig. 2). Woodscrews, washers, and the mounting plate are not included in the scope of delivery.
Note! The hole for the woodscrews should always be piloted to avoid breaking off of the screws.
Step 6
Then fix the hoist to the ceiling. The hoist must be fixed to a massive wooden beam (at least 61 cm × 122 cm). Fix the hoist at a height comfortable for you to reach (approx. 122 cm).
Step 7
Before mounting the hooks with pulleys to the mounting brackets, you need to thread the rope (see Fig. 9).
Beam constructions
| № | Name/description |
| 1 | Wooden beam |
| 2 | Drywall |
| 3 | Distancer rope (= Fig. 4) Cut the rope to the correct length, thread it through the hole of the hook, and knot the rope for the supports not to slip to the side. |
| 4 | Mounting plate |
| 5 | 183–305 cm |
| 6 | Rope clip |

| № | Name/description |
| 1 | Wooden beam |
| 2 | Drywall |
| 3 | Woodscrew |
| 4 | Mounting plate |
| 5 | 183–305 cm |
| 6 | Rope clip |
| 7 | Woodscrew |

| № | Name/description |
| 1 | Wooden beam |
| 2 | Mounting plate screwed to the beam (not included in the scope of delivery) |
| 3 | Drill a ¾″ hole for the rope guide. |
| 4 | Distancer rope |
| 5 | Rope clip |
| 6 | Space-saver for open beams The mounting plate can be fixed on the upper side of the beams. Thus, the kayak can be lifted nearer to the beam to have more headroom. |

| № | Name/description |
| 1 | Wooden beam |
| 2 | Nut and screw ⅜″ × 2″ (2 of each included) |

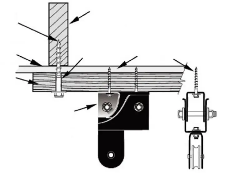
| № | Name/description |
| 1 | Woodscrew and washer ⅜″ × 4″ (not included) |
| 2 | ½″ drywall |
| 3 | Mounting plate |
| 4 | Woodscrew ¼″ × 2″ (included) – drilling a pilot hole is rec- ommended. |
| 5 | Wooden beam |
| 6 | Pilot hole |

| № | Name/description |
| 1 | Woodscrew and washer ⅜″ × 4″ (not included) |
| 2 | ½″ drywall |
| 3 | Mounting plate (not included) |
| 4 | Wooden beam |
| 5 | Pilot hole |
| 6 | Woodscrew ¼″ × 2″ (2 pieces included) |
| 7 | Rear view |
| 8 | Side view |
| 9 | Separate |
Note! Woodscrews, washers, and the mounting plate are not included in the scope of delivery.
Threading the hoist rope
- After attaching the mounting brackets/mounting plate to the ceiling, the nylon rope must be threaded through the pulley system. Thread the rope through the pulley system before hanging up the pulleys. Begin threading the ropes (2 ropes) through the braking mechanism (see Fig. 9, pos. A).
- Follow the course of the ropes (rope 1 – A through C [grey arrows], rope 2 – A through D [black arrows]). Make sure that the hooks of the positions B and C are pointing inwards.
- Thread rope 2 through the rear hole (position A) at the locking mechanism. Make sure that the rope is guided beneath the brake rod and above the read pulley.
- Then guide the rope 2 up to the position B of the second bracket.
- Thread the rope down through the hook pulley and then upward through the round hole of the underside of the bracket to the position D and knot the end of the rope.
- The locking mechanism has two pulleys and two holes. Thread rope 1 through the front hole, under the brake, and over the next pulley (just as rope 2).
- Thread the rope through the lower hook/pulley B, then through the hole of the underside of the bracket at the position C.
- Make a firm knot.

| № | Name/description |
| 1 | Thread the rope through the holes of the front side of the brake. |
| 2 | Use to hole of the underside of the bracket to end the rope. Secure the end of the rope with a knot. |
| 3 | Rope 2 |
| 4 | Use to hole of the underside of the bracket to end the rope. Secure the end of the rope with a knot. |
| 5 | Rope 1 |
Applying the brake
To lower the kayak, remove the excess of the rope from the wall clip. To release the brake, pull both ropes down and to the inside. Slowly slide the ropes through the brake and lower the kayak. To activate the mechanism again, pull the ropes slowly outwards and loosen the tension. That is how the brake stops the ropes when the kayak is lowered. To lift the kayak, simply pull on the rope in short strokes until you have reached the desired height.
Attention! When releasing the brake, make sure to be able to lift the weight of the kayak. Wear gloves to protect your hands. — Avoid rapid sliding stops since that can lead to the ropes fraying and the product wearing.
Attention! Make sure to hold both ropes when releasing the brake. Pulling one rope, the locking mech-anism for both ropes is loosened.
Tighten the straps around the kayak with the loops to prevent it from slipping. Note that the kayak could slide off through the straps. Use a rope to prevent the straps from sliding apart.
Important Note:
Reproduction and any commercial use (of parts) of this operating manual, requires a written permission of WilTec Wildanger Technik GmbH.
https://www.XPOtool.com The Tool Experts
















