SelectBlinds Sleek Light Filtering Roller Shades
INSTALLATION INSTRUCTIONS PRODUCT ONE
Open Roll

Deco Fascia

Cordless Operated with Open Roll
- Install the Brackets

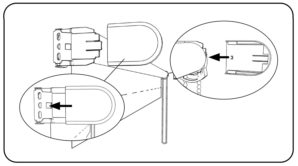
Secure the roller shade installation brackets with the supplied screws. If shade was ordered as outside mount (OB), attach the supplied screw covers on to the bracket for a finished look. - Install the Shade

DO NOT REMOVE THE RED PLASTIC CLIP. IT WILL DISENGAGE ONCE THE BRACKET HAS BEEN INSTALLED. - Install the Bracket Covers (if applicable)

Cordless Operated with Deco Fascia
- Install the Fascia Brackets

Outside mount (OB) requires a T-Bracket installation. Space brackets evenly.
Note: Do not attach the Deco Fascia until the shade has been installed. - Install the Brackets

Secure the roller shade installation brackets with the supplied screws.
If shade was ordered as outside mount (OB), attach the supplied screw covers on to the bracket for a finished look. - Install the Shade

DO NOT REMOVE THE RED PLASTIC CLIP. IT WILL DISENGAGE ONCE THE BRACKET HAS BEEN INSTALLED. - Install the Deco Fascia

Inside Mount (IB)
Outside Mount (OB) - Install the Returns (Optional)

Metal returns (Outside mount only) include a plastic corner connector.
Plastic returns (Inside mount with Outside Mounted fascia) snap on the end of the fascia.
Operate the Cordless Shade

Pull the bottom handle and let go to lock it into the desired length.
Adjust the Tensioner

To lower tension or speed, turn the left side wheel towards the back of the shade. To add tension or speed, turn the left side wheel towards the front of the shade while holding the bottom rail.
To shorten the length of the shade, turn the right side wheel towards the front of the shade. To lengthen the shade, turn the right side wheel towards the back of the shade.
INSTALLATION INSTRUCTIONS PRODUCT TWO
Open Roll

Deco Fascia

Clutch Operated with Open Roll
- Install the Brackets

Secure the roller shade installation brackets with the supplied screws.
If shade was ordered as outside mount (OB), attach the supplied screw covers on to the bracket for a finished look. - Install the Shade

- Install the Bracket Covers (if applicable)

Clutch Operated with Deco Fascia
- Install the Fascia Brackets

Outside mount (OB) requires a T-Bracket installation. Space brackets evenly.
Note: Do not attach the Deco Fascia until the shade has been installed.\ - Install the Brackets

Secure the roller shade installation brackets with the supplied screws.
If shade was ordered as outside mount (OB), attach the supplied screw covers on to the bracket for a finished look. - Install the Shade

- Install the Deco Fascia

Inside Mount (IB)
Outside Mount (OB) - Install the Returns (Optional)

Metal returns (Outside mount only) include a plastic corner connector.
Plastic returns (Inside mount with Outside Mounted fascia) snap on the end of the fascia.
Set the Limits

Upper Limit, pull the back chain until the desired upper position. Then, snap the chain stop to the bead just below the clutch.
Lower Limit, pull the front chain until the desired lower position. Then, snap the chain stop to the bead just below the clutch.
Install the Safety Tension Device

Child Safety
Young children can STRANGLE in cord loops and in the loop above the cord stop. They can also wrap cords around their necks and STRANGLE.
■ Always keep cords out of children’s reach.
■ Move cribs, playpens and other furniture away from cords. Children can climb furniture to get to cords.
■ Do not tie cords together.
■ Make sure cords do not twist together and create a loop.
Beaded Cord Loop Shades
■ Attach the tensioner to the wall or window casement. See Install the Safety Tension Device.
This can prevent children from pulling cord loops around their necks.
■ A tensioner installation kit with instructions for attaching the tensioner is provided.
For the shade to operate properly, the tensioner must be correctly mounted and secured. See tensioner instructions provided for details.
■ Only the supplied tensioner(s) and hardware should be used
![]() | Window Blind Cord Can STRANGLE Your Child. To prevent strangulation, purchase cordless products or products with inaccessible cords
|
INSTALLATION INSTRUCTIONS PRODUCT THREE
Open Roll

Deco Fascia

Important: Prior to installing the shade, pair the remote using the instructions included with the remote. Do not set the upper and lower limits until the shade is installed.
Motorized with Open Roll
- Install the Brackets

Secure the roller shade installation brackets with the supplied screws.
If shade was ordered as outside mount (OB), attach the supplied screw covers on to the bracket for a finished look - Install the Shade

Motorized with Deco Fascia
- Install the Fascia Brackets
Outside mount (OB) requires a T-Bracket installation. Space brackets evenly.
Note: Do not attach the Deco Fascia until the shade has been installed. - Install the Brackets
Secure the roller shade installation brackets with the supplied screws.
If shade was ordered as outside mount (OB), attach the supplied screw covers on to the bracket for a finished look. - Install the Shade

- Install the Deco Fascia

Inside Mount (IB)
Outside Mount (OB) - Install the Returns (Optional)

Metal returns (Outside mount only) include a plastic corner connector.
Plastic returns (Inside mount with Outside Mounted fascia) snap on the end of the fascia.


















