HILTI TE DRSB Dust Removal System
..

Information about the documentation
About this documentation
- Read this documentation before initial operation or use. This is a prerequisite for safe, trouble-free handling and use of the product.
- Observe the safety instructions and warnings in this documentation and on the product.
- Always keep the operating instructions with the product and make sure that the operating instructions are with the product when it is given to other persons.
Explanation of symbols
Warnings
Warnings alert persons to hazards that occur when handling or using the product. The following signal words are used:
DANGER
- Draws attention to imminent danger that will lead to serious personal injury or fatality.
WARNING !
- Draws attention to a potential threat of danger that can lead to serious injury or fatality.
CAUTION !
- Draws attention to a potentially dangerous situation that could lead to personal injury or damage to the equipment or other property.
Symbols in the operating instructions
The following symbols are used in these operating instructions:
- Comply with the operating instructions
- Instructions for use and other useful information
- Dealing with recyclable materials
- Do not dispose of electric equipment and batteries as household waste
- Hilti Liion battery
- Hilti charger
Symbols in illustrations
The following symbols are used in illustrations:
- These numbers refer to the illustrations at the beginning of these operating instructions.
- The numbering reflects the sequence of operations shown in the illustrations and may deviate from the steps described in the text.
- Item reference numbers are used in the overview illustration and refer to the numbers used in the key in the product overview section.
- These characters are intended to specifically draw your attention to certain points when handling the product.
Product-dependent symbols
Symbols on the product
The following symbols can be used on the product:
Wear dust mask
Product information
products are designed for professional users and only trained, authorized personnel are permitted to operate, service and maintain the products. This personnel must be specifically informed about the possible hazards. The product and its ancillary equipment can present hazards if used incorrectly by untrained personnel or if used not in accordance with the intended use.
The type designation and serial number are printed on the rating plate.
- Write down the serial number in the table below. You will be required to state the product details when contacting Hilti Service or your local Hilti organization to inquire about the product.
Product information
| Dust removal module | TE DRSB |
| Generation | 01 |
| Serial no. |
Safety
Safety instructions
- Study the operating instructions and the safety-relevant information for the system products prior to use and comply with them always.
- Use the module only in combination with the power tools stated in Fig. 1, otherwise there is a risk of injury.
- Use the product and accessories only when they are in perfect working order.
- Never tamper with or modify the product or accessories in any way.
- The product is intended for professional use. The product may be serviced and repaired only by authorized, trained personnel! This personnel must be specially informed of any possible hazards.
- Stay alert, watch what you are doing and use common sense when operating the product. Do not use the product while you are tired or under the influence of drugs, alcohol or medication. A moment of inattention while operating the product can result in serious injury.
- Working on the material may cause it to splinter. Flying fragments present a risk of injury to the eyes and body. Wear eye protection, a hard hat and ear protection while the product is in use.
- Use power tools, accessories, insert tools, etc. in accordance with these instructions. Take the working conditions and the work to be performed into account. Use of power tools for applications other than those intended can result in hazardous situations.
- Risk of injury by falling tools and/or accessories. Before starting work, check that installed accessories are secure.
- Vacuuming water is prohibited.
- Dust produced by grinding, sanding, cutting and drilling can contain dangerous chemicals. Some examples are: lead or lead-based paints; brick, concrete and other masonry products, natural stone and other products containing silicates; certain types of wood, such as oak, beech and chemically treated wood; asbestos or materials that contain asbestos. Determine the exposure of the operator and bystanders by means of the hazard classification of the materials to be worked. Implement the necessary measures to restrict exposure to a safe level, for example by the use of a dust collection system or by the wearing of suitable respiratory protection. The general measures for reducing exposure include:
- Working in an area that is well ventilated,
- Avoidance of prolonged contact with dust,
- Directing dust away from the face and body,
- Wearing protective clothing and washing exposed areas of the skin with water and soap.
- Whenever possible, use a Hilti-recommended dust extractor suitable for the application.
- Use an anti-static suction hose in order to avoid electrostatic effects.
- Make sure that the adapter and the outside surfaces of the tool holder are free of oil and grease. If the TE DRS-B dust removal module is installed with oily and/or greasy parts, the TE DRS-B dust removal module can fall off. Remove oil and grease from the adapter and from the outside surfaces of the tool holder with a cloth.
- Make sure that the module does not get too hot. The material will melt at temperatures above 80 °C.
- Do not use the module as a grip for carrying or guiding the system. The power tool has grips designed for this purpose; use these grips.
- When the power tool is in operation, do not hold it by the suction head.
Description
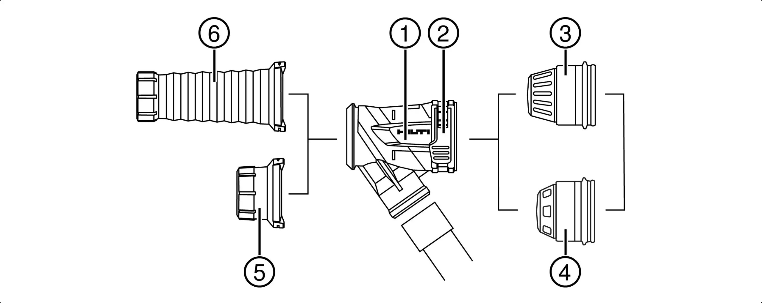
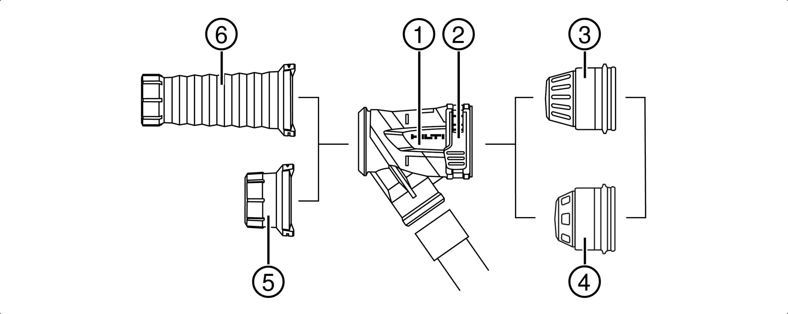
Product overview 1

- Suction base
- Toggle lever
- Y adapter
- S adapter
- Suction head, short
- Suction head, long
Intended use
The product described is a dust removal module that is used as an accessory in combination with Hilti breakers and dust extractors.
Items supplied
Suction base, toggle lever, S adapter, Y adapter, suction head short, suction head long, operating instructions Other system products approved for use with this product can be found at your local Hilti Store or at: www.hilti.group
Technical data
| Suction head, long | Suction head, short | |
| Weight | ≤ 590 g | ≤ 440 g |
| Dimensions (L × W × H) | 340 mm × 152 mm × 98 mm | 201 mm × 152 mm × 98 mm |
| Tool type | Pointed chisels, flat chisels, bushing tools | Pointed chisels, flat chisels, bushing tools |
| Length of drill bit / chisel | 400 mm … 500 mm | 290 mm … 390 mm |
| Ambient temperature for operation | −17 ℃ … 60 ℃ | −17 ℃ … 60 ℃ |
| Storage temperature | −20 ℃ … 70 ℃ | −20 ℃ … 70 ℃ |
Operation
Fitting the dust removal module 2
The exposed length of the accessory tool projecting from the suction head must be no more than 125 mm and no less than 30 mm. This will ensure optimum dust extraction.
Use only the pointed chisels, flat chisels and bushing tools shown in Fig. 2.
When installing, make sure that there is no accessory tool inserted in the power tool.
- Select the appropriate adapter and push the adapter all the way on to the tool holder.
- Open the toggle lever on the suction base.
- Push the suction base, with the toggle lever open, all the way on to the adapter.
- Close the toggle lever.
- Select the suction head appropriate for the length of the accessory tool.
- Set the suction head on the suction base.
In the installed and assembled state, this unit can also be stored and transported in the case/cardboard box. - Remove the dust boot, if fitted, from the accessory tool and insert the accessory tool.
Comply with the operating instructions of the power tool. - Connect the dust extractor and the suction unit to each other.
Removing dust removal module
- The procedure for removing the module is the reverse of the installation procedure.
Remove the suction head only by pulling on the reinforced end ring of the suction head.
Operation
Risk of injury if the dust module falls. If the toggle lever is not correctly closed, the dust module can fall off.
- Make sure that the toggle lever is closed.
Comply with the operating instructions for the dust extractor. Empty the dust extractor at regular intervals.
- Connect the dust extractor and switch it on.
- Switch on the power tool.
Care and maintenance
Care of the module
Do not use oils, greases or cleaning agents.
Use only a slightly damp cloth to clean the housing. Do not use cleaning agents containing silicone as these can attack the plastic parts.
- Wipe off foreign matter adhering to the unit and check that the extraction opening in the suction base is free of dust residues.
- Clean the module with cold water at regular intervals.
- Regularly remove grease and dust residues from the inside faces of the adapters.
Maintenance
- Check all external parts of the product and the accessories for damage at regular intervals and check that all controls operate faultlessly. Do not use the product if parts are damaged or if operating controls do not function faultlessly.
Troubleshooting
If the trouble you are experiencing is not listed in this table or you are unable to remedy the problem by yourself, please contact Hilti Service.
| Trouble or fault | Possible cause | Action to be taken |
| An excessive amount of dust is generated. | Dust extractor full. | Empty the dust extractor. |
| Suction head faulty. | Change the suction head. | |
| An excessive amount of dust is generated. | Suction channel clogged. | Clean the suction channel. |
| Exposed accessory tool length more than 125 mm. | Use a shorter accessory tool or use the long suction head. | |
| TE DRSB dust removal mod- ule falls off | Dust removal module not correctly installed. | Adapter must be pushed all the way on to the tool holder and into the suction base. See the section headed “Installing dust removal module” → page 8. |
| Adapter and tool holder are oily or greasy. | Use a cloth to wipe oil and grease off the adapter and the outside surfaces of the tool holder. | |
| Clamping mechanism damaged. | Replace clamping mechanism (toggle lever and clamping band). | |
| Wrong adapter selected. | Select the correct adapter. |
Disposal
Most of the materials from which Hilti tools and appliances are manufactured can be recycled. The materials must be correctly separated before they can be recycled. In many countries, your old tools, machines or appliances can be returned to Hilti for recycling. Ask Hilti Service or your Hilti representative for further information.
- Do not dispose of power tools, electronic equipment or batteries as household waste!
Manufacturer’s warranty
- Please contact your local Hilti representative if you have questions about the warranty conditions.
Further information
For more information on operation, technology, environment and recycling, follow this link: qr.hilti.com/manual/?id=2494449
This link is also to be found at the end of the operating instructions, in the form of a QR code.




















