LUMBERJACK BDE1200 1200W 50 Litre Dust Extractor
WARNING Read all safety warnings and all instructions. Failure to follow the warnings and instructions may result in electric shock, fire, and/or serious injury.
Save all warnings and instructions for future reference. The term “power tool” in the warnings refers to your electric (corded) power tool or battery-operated (cordless) power tool.
Work area safety
- Keep work area clean and well lit. Cluttered or dark areas invite accidents.
- Do not operate power tools in explosive atmospheres, such as in the presence of flammable liquids, gases, or dust. Power tools create sparks that may ignite dust or fumes.
- Keep children and bystanders away while operating a power tool. Distractions can cause you to lose control.
Electrical safety
- Power tool plugs must match the outlet. Never modify the plug in any way. Do not use any adapter plugs with grounded power tools. Unmodified plugs and matching outlets will reduce risk of electric shock.
- Avoid body contact with grounded surfaces, such as pipes, radiators, ranges and refrigerators. There is an increased risk of electric shock if your body is grounded.
- Do not expose power tools to rain or wet conditions. Water entering a power tool will increase the risk of electric shock.
- Do not abuse the cord. Never use the cord for carrying, pulling or unplugging the power tool. Keep cord away from heat, oil, sharp edges or moving parts. Damaged or entangled cords increase the risk of electric shock.
- When operating a power tool outdoors, use an extension cord suitable for outdoor use. Use of a cord suitable for outdoor use reduces the risk of electric shock.
- If operating a power tool in a damp location is unavoidable, use a residual current device (RCD) protected supply. The use of an RCD reduces the risk of electric shock.
Personal safety
- Stay alert, watch what you are doing and use common sense when operating a power tool. Do not use a power tool while you are tired or under the influence of drugs, alcohol or medication. A moment of inattention while operating power tools may result in serious personal injury.
- Use personal protective equipment. Always wear eye protection. Protective equipment such as dust masks, non-skid safety shoes, hard hat, or hearing protection used for appropriate conditions will reduce personal injuries.
- Prevent unintentional starting. Ensure the switch is in the off position before connecting to a power source and/or battery pack, picking up or carrying the tool. Carrying power tools with your finger on the switch or energizing power tools that have the switch on invites accidents.
- Remove any adjusting key or wrench before turning the power tool on. A wrench or a key left attached to a rotating part of the power tool may result in personal injury.
- Do not overreach. Keep proper footing and balance at all times. This enables better control of the power tool in unexpected situations.
- Dress properly. Do not wear loose clothing or jewelry. Keep your hair, clothing and gloves away from moving parts. Loose clothes, jewelry, or long hair can be caught in moving parts.
- If devices are provided for the connection of dust extraction and collection facilities, ensure these are connected and properly used. The use of dust collection can reduce dust-related hazards.
Power tool use and care
- Do not force the power tool. Use the correct power to ol for your application. The correct power tool will do the job better and safer at the rate for which it was designed.
- Do no t use the power tool if the switch does not turn i t on and off. Any power tool that cannot be controlled with the switch is dangerous and must be repaired.
- Disco nnect the plug from the power source and/or the battery pack from the power tool before making any adjustments, changing accessories, or storing power tools. Such preventive e-safety measures reduce the risk of starting the power tool accidentally.
- Store idle power tools out of the reach of children and do not allow persons unfamiliar with the power tool or these instructions to operate the power tool. Power tools are dangerous in the hands of untrained users.
- Maintain power tools. Check for misalignment or binding of moving parts, breakage of parts and any other condition that may affect the power tool’s operation. If damaged, have the power tool repaired before use. Many accidents are caused by poorly maintained power tools.
- Keep cutting tools sharp and clean. Properly maintained cutting tools with sharp cutting edges are less likely to bind and are easier to control.
- Use the power tool, accessories and tool bits etc. in accordance with these instructions, taking into account the working conditions and the work to be performed. Use of the power tool for operations different from those intended could result in a hazardous situation.
Service
- Have your power tool serviced by a qualified repair person using only identical replacement parts. This will ensure that the safety of the power tool is maintained.
- If the replacement of the supply cord is necessary, this has to be done by the manufacturer or its agent in order to avoid a safety hazard.
Additional Safety and Working Instructions
- Dusts from materials such as lead-containing coatings, some wood types, minerals and metals ca n be harmful to one’s health and cause all ergic reactions, leading to respiratory infections and/or cancer. Materials containing asbestos may only be worked by specialists. Observe t he relevant regulations in your country for the materials to be worked.
- Prevent dust accumulation at the workplace. Dust can easily ignite.
Safet y Warnings for Dust Extractors
- Do not vacuum materials that are harmful to one’s health, e. g. dust from beech or oak wood, masonry dust, asbestos. These materials are considered carcinogenic.
- Use the dust extractor only when you fully understand and can perform all functions without limitation, or have received appropriate instructions. A thorough introduction reduces operating errors and injuries.
- Do not vacuum inflammable or explosive fluids; for example, benzene, oil, alcohol, solvents. Do not vacuum hot or burning dust.
- Do not operate the machine in rooms where the danger of an explosion exists. The dust, vapors or fluids can ignite or explode.
- The dust extractor may only be used and stored indoors. The penetration of rain or moisture into the dust extractor lid increases the risk of an electric shock.
- When operating the dust extractor in damp environments, use a residual current device (RCD). Using a residual current device (RCD) reduces the risk of an electric shock.
- Connect the dust extractor to a properly earthed mains supply. The socket-outlet and the extension cable must have an operative protective conductor.
- Before each use, check the dust extractor, cable, and plug. Do not use the dust extractor when defects are detected. Do not open the dust extractor yourself and have it repaired only by qualified personnel using original spare parts. Damaged dust extractors, cables, and plugs increase the risk of an electric shock.
- Do not drive over, crush or stretch the cable. Do not pull the cable to unplug the plug from the socket-outlet or to move the dust extractor. Damaged cables increase the risk of an electric shock.
- During work breaks, when not in use or when working on the machine (e. g. changing tool inserts, repairs, cleaning, adjustments), pull the mains plug. This safety measure prevents the accidental starting of the dust extractor.
- Provide for good ventilation at the working place.
- Supervise children. This will ensure that children do not play with the dust extractor.
- Have the dust extractor repaired only through qualified specialists and only using original spare parts. This ensures that the safety of your dust extractor is maintained.
- Before restarting, check the proper condition of the vacuum hose. When doing this leave the vacuum hose mounted to the dust extractor to avoid dust from coming out. Otherwise, you could possible inhale the dust.
- Do not use the dust extractor as a seat. The dust extractor could become damaged.
- Use the mains cable and the vacuum hose carefully. Other persons could be harmed.
SYMBOLS AND POWER RATING CHART
- Danger! – Read the operating instructions to reduce the risk of injury.
- Caution! Wear ear defenders. The impact of noise can cause damage to hearing.
- Caution! Wear a dust mask.
- Caution! Wear safety goggles.
- Caution! Risk of Injury! Do not reach into the running saw blade.
MACHINE DETAILS AND PRODUCT FEATURES
Specifications
- Mains Voltage – 230-240V / 50Hz
- Power Consumption – S1 1200W
- Filtration – 0.5 Microns
- Filling Capacity – 50 Litres
- Air Flow – 183m3/h
- Hose Length – 2m
- Hose Diameter – 100mm
- Gross Weight – 11.0kg
- Nett Weight – 9.0kg
Package Contents
- 1200W Dust Extractor
- Filter Cartridge
- 2m Hose
- 5 Piece adaptor Set
Intended Use
- This power tool is intended to remove and collect wood shavings only. Any other use is considered as not intended use and any damages or injuries resulting from this unintended use is at the operator’s own risk.
- This item is also not intended to be used for continuous production or production line use
Product Features
- Motor Casing
- Drum
- On/Off Switch
- Locking Strap
- Collector Hose
- Hose Clamps
- Hose Coupling
Assembly
Avoid unintentional starting of the machine. During assembly and for all work on the machine, the power plug must not be connected to the mains supply. Carefully remove all parts included in the delivery from their packaging. Remove all packaging material from the machine and the accessories provided Before starting the operation of the machine for the first time, check if all parts listed in the box content section have been supplied Note: Check the power tool for possible damage. Before further use of the machine, check that all protective devices are fully functional. Any lightly damaged parts must be carefully checked to ensure the flawless operation of the tool. All parts must be properly mounted and all conditions fulfilled that ensure faultless operation. Damaged protective devices and parts must be immediately replaced by an authorized service center.
Assembling the Dust Collector
In drum (2) you will find all the components of the hose collection system. Take all parts out and check to make sure that you have everything listed below.
- 2 x hose clamps
- Hos e coupling d 100 mm
- 2 x hose clamps
- Hos e coupling d 100 mm
Mounting the Filter Bag
Place filter cartridge (8) into filter bag (9).
Fold any excess bag (9) inside the filter cartridge (8).
Assembly Instructions
- Now plug the filter cartridge (8+9) onto the motor casing (10)

- Place the entire section into the drum (2) and secure it with a locking strap (4).

- Mount the collector hose (5) to the drum (2) using one of the 2 hose clamps (6).

- Attach the other end of the collector hose (5) to the hose coupling (7) using the other hose clamp (6).

OPERATION & MAINTENANCE AND SERVICE
Operation
- Using the supplied adaptor set find the best fit for the machine on which you intend to use the dust collector.
- Make sure the fitting is tight and securely in place before you start the dust collector up.
- Turn on the dust collector before the power tool, and turn it off after you have first switched off the power tool.
Maintenance and Service Maintenance and Cleaning
- Before any work on the dust collector itself, pull the mains plug.
- For safe and proper working, always keep the dust collector and ventilation slots clean.
- If the replacement of the supply cord is necessary, this has to be done by an authorized service agent in order to avoid a safety hazard.
- If the dust collector should fail despite the care taken in manufacturing and testing procedures, repair should be carried out by an authorized service centre.
Shavings Container (2)
Wipe out the container (2)from time to time with a commercially available, non-scouring cleaning agent and allow to dry.
LUMBERJACK GUARANTEE
Guarantee
- Lumb erjack guarantees that for a period of 12 months from the date of purchase the components of qualifying products (see clauses 1.2.1 to 1. 2.8) will be free from defects caused by faulty construction or manufacture.
- During this period Lumberjack will repair or replace free of charge any parts which are proved to be faulty in accordance with paragraph 1.1 providing that:
- You follow the claims procedure set out in clause 2
- Lumberjack and its authorized dealers are given reasonable opportunity after receiving notice of the claim to examine the product
- If asked to do so by Lumberjack or its Authorised dealer, you return the product at your own cost to Lumberjack’s or supplying Authorised Dealer’s premises, for the examination to take place clearly stating the Returns Material Authorisation number given by Lumberjack or an Authorised Dealer.
- The fault in question is not caused by industrial use, accidental damage, fair wear, and tear, wilful damage, neglect, incorrect electrical connection, misuse, or alteration or repair of the product without approval.
- The product has been used in a domestic environment only
- The fault does not relate to consumable items such as blades, bearings, drive belts, or other wearing parts that can reasonably be expected to wear at different rates depending on usage .
- The product has not been used for hire purposes.
- The product has been purchased by you as the guarantee is not transferable from a private sale.
Claims Procedure
- In the first instance please contact the Authorised Dealer who supplied the product to you. In our experience many initial problems with machines that are thought to be faulty due to faulty parts are actually solved by correct setting up or adjustment of the machine. A good Authorised Dealer should be able to resolve the majority of these issues much more quickly than processing a claim under the guarantee. If a return is requested by the Authorised Dealer or Lumberjack, you will be provided with a Returns Material Authorisation number which must be clearly stated on the returned package, and any accompanying correspondence. Failure to provide a Returns Material Authorisation number may result in item being refused delivery at the Authorised Dealer.
- Any issues with the product resulting in a potential claim under the guarantee must be reported to the Authorised Dealer from which it was purchased within 48 hours of Receipt.
- If the Authorised Dealer who supplied the product to you has been unable to satisfy your query, any claims made under this Guarantee should be made directly to Lumberjack. The Claim itself should be made in a letter setting out the date and place of purchase, giving a brief explanation of the problem which has led to the claim. This letter should be then sent with proof of purchase to Lumberjack. If you include a contact number with this it will speed your claim up.
- Please note that it is essential that the letter of claim reaches Lumberjack on the last day of this Guarantee at the latest. Late claims will not be considered.
Limitation of Liability
- We only supply products for domestic and private use. You agree not to use the product for any commercial, business, or resale purposes and we have no liability to you for any loss of profit, loss of business, business interruption or loss of business opportunity.
- This Guarantee does not confer any rights other than these expressly set out above and does not cover any claims for consequential loss or damage. This Guarantee is offered as an extra benefit and does not affect your statutory rights as a consumer.
- Notice
This Guarantee applies to all products purchased from an Authorised Dealer of Lumberjack within the United Kingdom. Terms of Guarantee may vary in another country.
CE DECLARATION OF CONFORMITY
- TOOL SAVE
- Unit C, Manders Ind. Est.,
- Old Heath Road, Wolverhampton,
- WV1 2RP.
- Tel: 01 902 450 470
- Declares that the DUST EXTTRACTOR (BDE1200)
- Is in compliance with the regulations included in the Directives:2006/42/EC
EC DECLARATION OF CONFORMITY
Certificate for EC-type examination delivered by TÜV Rheinland LGA Products GmbH – Tillystra ße 2 – 90431 Nürnberg. (Registration No.:AM 50399565 0001)
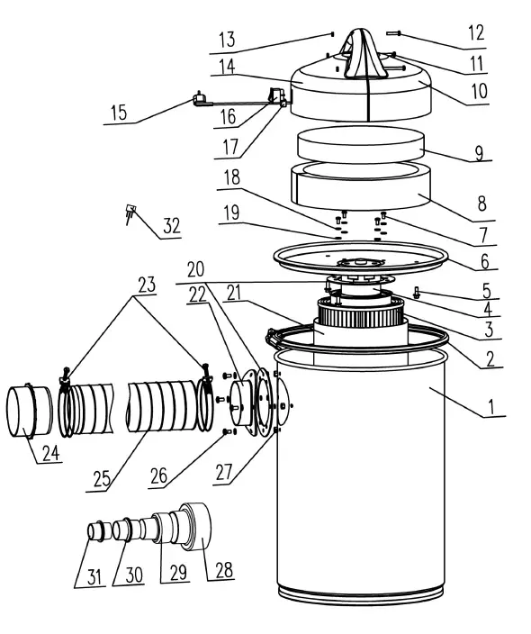
Parts List
| No. | Description | No. | Description |
| 1 | Drum | 19 | Locking Washer |
| 2 | Clamping Ring | 20 | Seal Ring |
| 3 | Filter | 21 | Filter Bag |
| 4 | Motor | 22 | Suction Hose Inlet |
| 5 | Hex Cross Self-Tapping Screw ST5.5*16 | 23 | Clamp for Suction Hose |
| 6 | Upper Cover | 24 | Adaptor -I |
| 7 | Cross Self-Tapping Screw M5*8 | 25 | Collector Hose |
| 8 | Long Sponge | 26 | Cross Screw M5*12 |
| 9 | Round Sponge | 27 | Hex Nut M5 |
| 10 | Right Cover | 28 | Adaptor – II |
| 11 | Cross Self-Tapping Screw M5*45 | 29 | Adaptor – III |
| 12 | Cross Self-Tapping Screw M5*25 | 30 | Adaptor – IV |
| 13 | Hex Nut M5 | 31 | Adaptor- V |
| 14 | Left Cover | 32 | Capacitor |
| 15 | Cable & Plug | ||
| 16 | Switch | ||
| 17 | Plug Clamping | ||
| 18 | Spring Washer |

























