65118E,65052E
www.bestwaycorp.com
VENTURA KAYAK
Construction of the boat
NOTE: All drawings are for illustration purposes only. May not reflect the actual product.
Not to scale.
65052E

| 1 | 2 | 3 | 4 | 5 | 6 | 7 |
| D-buckle | Buckle | Velcro oar band | Handle | Storage bag | Seat | Safety rope |

Technical Specifications
| Item | Inflated Size | Recommended working pressure | Maximum load capacity | Maximum number of persons | Dry Weight |
| 65052E | 10 ft.10 in. x 34 in. 3.30 m x 86 cm | 0.06 bar (0.8 psi) | 440 Ibs. (200 kg) | 2 adults | 31.72 Ibs. (14.38 kg) |

| 1 | 2 | 3 | 4 | 5 | 6 | 7 |
| D-buckle | Buckle | Velcro oar band | Handle | Storage bag | Seat | Safety rope |

| Item | Inflated Size | Recommended working pressure | Maximum load capacity | Maximum number of persons | Dry Weight |
| 65118E | 9 ft. 2 in. x 34 in. 2.80 m x 86 cm | 0.06 bar (0.8 psi) | 286 Ibs. (130 kg) | 1 adult | 25.18 Ibs. (11.42 kg) |
The boats are designed and manufactured in conformity with ABYC H-29.
Boat Design Category -“SHELTERED WATERS”: Designed for voyages on sheltered coastal waters, small bays, small lakes, rivers, and canals when conditions up to, and including, wind force 4 and significant wave heights up to, and including, 0.3m may be experienced, with occasional waves of 0.5m maximum height, for example from passing vessels.
WARNING: To avoid damage to the boat and injury to passengers, please don’t exceed the data given on the builder’s plate.
WARNING
IMPORTANT SAFETY INSTRUCTIONS
Follow all the Safety and Operating Instructions. If you don’t follow these instructions, it may cause the boat to overturn or explode and result in drowning.
- Do not exceed the maximum recommended number of persons. Regardless of the number of persons on board, the total weight of persons and equipment must never exceed the maximum recommended load. Always use the seats /seating spaces provided.
- When loading the craft, never exceed the maximum recommended load: Always load the craft carefully and distribute loads appropriately to maintain design trim (approximately level). Avoid placing heavy weights high up.
NOTE: The maximum recommended load includes the weight of all persons onboard, all provisions and personal effects, any equipment not included in the light craft mass, cargo (if any), and all consumable liquids (water, fuel, etc.). - When using the boat, life-saving devices such as life jackets and buoys should be pre-inspected and used at all times.
- Before every use, carefully inspect all boat components including air chambers, grab ropes, oars, and air valves, to ensure everything is in good condition and tightly secured. If you find any damage, please stop to repair it.
- Buckets, water scoops, and air pumps should always be available in case of air leakage or if the boat takes on water.
- When the boat is in motion, all passengers must remain seated at all times to avoid falling overboard. Keep the boat balanced. Uneven distribution of persons or loads in the boat may cause the boat to overturn and result in drowning.
- Use the craft in sheltered water, up to 300m (984 feet). Be careful with natural factors such as wind, tide waters, and tidal waves. BE AWARE OF OFFSHORE WINDS AND CURRENTS. Always wear a life jacket!
- If one chamber is punctured when the boat is in the water, it may be necessary to fully inflate the other air chamber to prevent the boat from sinking.
- Be careful when landing on the shore. Sharp and rough objects such as rocks, cement, shells, glass, etc. may puncture the boat. To avoid damage, do not drag the boat on rough surfaces.
- The boat is intended for beach use, short-time, and short-distance cruising.
- Be aware of the potentially harmful effects of liquids such as battery acid, oil, or petrol. The liquids may damage your boat.
- Inflate according to the numbered air chamber and rated pressure of the boat, or it will cause over-inflation potential and boat explosion. Exceeding the data given on the capacity plate may cause the craft to be damaged, overturn and lead to drowning.
- If you use the tow rings to tow the boat, go slowly to avoid over-towing as damage may occur.
- Know how to operate a boat. Check in your local area for information and/or training as needed. Inform yourself about local regulations and dangers related to boating and/or other water activities.
- The operator of a vessel is responsible for the maintenance and safe conduct of the vessel and the safety of passengers.
- Prohibit product misuse, such as but not limited to: (a) riding seat back, gunwale, or other unsafe position, (b) failure to use handhold, (c) overloading or improper loading, (d) excessive speed for the operating conditions, (e) using a boat in weather or sea conditions beyond the skill or experience of the operator, (f) continued operation with operator’s visibility blocked or impaired (g) operating under the influence of drugs or alcohol, and/or (h) modifications.
- Boat operation where the boat operator or occupants are not under the influence of drugs and/or alcohol.
- Knowledge of federal, state, and/or local regulations concerning operation requirements, including (a) discharge of oil, (b) solid waste disposal (Marpol Treaty), (c) marine sanitation, (d) speed, (e) noise, and (f) wake
- Knowledge of accident reporting requirements.
- The owner or the operator of a vessel is required by law to render assistance to any individual or vessel in distress, as long as his vessel is not endangered in the process.
- U.S.Coast Guard Infoline: (800)368-5647. Web site: www.uscgboating.org
SAVE THESE INSTRUCTIONS
Installation
- Spread out the kayak on level ground.
- Assemble the removable fin to the bottom of the kayak. Make sure the curvature of the fin is pointed towards the back end of the kayak.
NOTE: Assemble the fin before inflation and also disassemble it after deflation.
NOTE: To avoid damage to the removable fin, do not enter shallow water.

Inflation
NEVER USE HIGH-PRESSURE AIR TO INFLATE INFLATABLES. THIS CAN DAMAGE YOUR PRODUCT.


Inflate the air chambers with a HAND air pump.
An inflation scale is provided with the product.
Inflate the product until the printed scale is charged up to the same level as that of the supplied scale. (refer to the below Table and Illustration)
| Item | Product Inflated Size | Printed Scale | |
| Deflated Size | Inflated Size | ||
| 65118E | 9 ft. 2 in. x 34 in. 2.80 m x 86 cm | 5 cm / 10 cm | 5.1 cm / 10.3 cm |
| 65052E | 10 ft.10 in. x 34 in. 3.30 m x 86 cm | 5 cm / 10 cm | 5.1 cm / 10.3 cm |
Never stand on or rest objects on the boat during inflation.
Inflate such as a footrest cushion until it is stiff to the touch but NOT hard.
Extended exposure to the sun can shorten the lifespan of your boat. We suggest not leaving boats in direct sunlight for more than 1 hour after use.
NOTE: All drawings are for illustration purposes only. May not reflect the actual product.
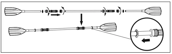
Oars Installation

Safety rope installation
Insert the rope into the holes of the D-buckles orderly, and then tighten the ends of the rope to the D-buckles.
Caution:
- Safety ropes shall be fitted to both sides of the bow and stern areas only and shall not impede the normal operation of the craft.
- Do check carefully if the saving rope is tightened well.
Seats and Storage bag assembly
After the craft is inflated, connect the belts of the seat’s to the side buckles on the craft, making the storage bag is vertical. The location of the seats can be adjustable along with the center of the craft floor.
Connect the storage bag to the D-buckle.
Repair
- If there is a leak, take out the liner, spray water onto the chamber surface and look for air bubbles.
Soapy water works well. - If there is a small puncture, repair it according to the instruction on the repair patch.
- If the hole is too big to be repaired with the provided patch, purchase a Bestway repair kit or send the boat to a speciality shop to make the repair.
Storage
- Remove the Oars from the Velcro oar band; take down the storage bag and seats.
Note: Keep all accessories for future use. - Carefully clean the craft using mild soap with clean water.
Note: Do not use acetone, acid, and/or alkaline solutions. - Use a cloth to gently dry all surfaces. Do not dry the product in direct sunlight.
Note: Also, never dry with equipment such as electric blowers. Doing so will cause damage and shorten the craft’s life span. - Deflate the hull chambers. Deflate all the hull chambers at the same time so the air-pressure drops together. This will prevent damage from occurring to the boat’s inner structures. Next deflate the floor.

- Fold the craft from front to back to remove additional air. You can also use a pump to drain any remaining air.
- Store in a cool, dry place and out of children’s reach.
Registration ( For US/Canada customers only )
If you need to register your boat, please have the boat Hull Identification Number and model name ready and then visit bestwaycorp.com/support to obtain your Certificate of Origin, or you can send e-mail [email protected] for the Certificate of Origin.
PLEASE KEEP THIS MANUAL IN A SECURE PLACE, AND HAND IT OVER TO THE NEW OWNER WHEN YOU SELL THE CRAFT.
©2021 Bestway Inflatables & Material Corp.
All rights reserved
Bestway Inflatables & Material Corp., Shanghai, China
Manufactured, distributed, and represented in the European Union by
Distributed in Latin America by
Distributed in Australia & New Zealand by Bestway Australia Pty Ltd, Unit 2/98-104 Carnarvon St Silverwater, NSW 2128, Australia
Tel: Australia: (+61) 29 0371 388; New Zealand: 0800 142 101
Bestway Central & South America Ltda, Salar Ascotan 1282, Parque Enea, Pudahuel, Santiago, Chile
Distributed in United Kingdom by Bestway Corp UK Ltd. 8 Wentworth Road, Heathfield Industrial Estate, Newton Abbot, Devon, TQ12 6TL Exported by
Bestway (Hong Kong) International Ltd./Bestway Enterprise Company Limited
Suite 713, 7/Floor, East Wing, Tsim Sha Tsui Centre, 66 Mody Road, Kowloon, Hong Kong
Tel: +86 21 69135588 (For U.S. and Canada)
www.bestwaycorp.com
303021288443


















