8784738 5 Gallon Tire Bead Seater-Blaster
User Manual
V4.0
8784738
5 Gallon Tire Bead
Seater/Blaster
User Manual
Please read and understand all instructions before use. Retain this manual for future reference.
SPECIFICATIONS
| Maximum Air Pressure | 145 PSI |
| ASME Certified Tank | 5 gallons |
INTRODUCTION
The 5 Gallon Tire Bead Seater/Blaster seats tubeless tires in a variety of sizes and can also be used as a regular air tank.
SAFETY
WARNING! Read and understand all instructions before using this tool. The operator must follow basic precautions to reduce the risk of personal injury and/or damage to the equipment.
Keep this manual for safety warnings, precautions, operating or inspection and maintenance instructions.
HAZARD DEFINITIONS
Please familiarize yourself with the hazard notices found in this manual. A notice is an alert that there is a possibility of property damage, injury or death if certain instructions are not followed.
DANGER! This notice indicates an immediate and specific hazard that will result in severe personal injury or death if the proper precautions are not taken.
WARNING! This notice indicates a specific hazard or unsafe practice that could result in severe personal injury or death if the proper precautions are not taken.
CAUTION! This notice indicates a potentially hazardous situation that may result in minor or moderate injury if proper practices are not taken.
NOTICE! This notice indicates that a specific hazard or unsafe practice will result in equipment or property damage, but not personal injury.
WORK AREA
- Operate in a safe work environment. Keep your work area clean, well-lit and free of distractions. Place lights so you are not working in a shadow.
- Keep anyone not wearing the appropriate safety equipment away from the work area.
- Store unused tools properly in a safe and dry location to prevent rust or damage. Lock tools away and keep out of the reach of children.
PERSONAL SAFETY
WARNING! Wear personal protective equipment approved by the Canadian Standards Association (CSA) or American National Standards Institute (ANSI).
PERSONAL PROTECTIVE EQUIPMENT
- Always wear impact safety goggles that provide front and side protection for the eyes. Eye protection equipment should comply with CSA Z94.3-07 or ANSI Z87.1 standards based on the type of work performed.
- Wear the appropriate type of full-face shield in addition to safety googles, as the work can create chips, abrasive or particulate matter.
- Wear gloves that provide protection based on the work materials or to reduce the effects of tool vibration.
- Wear protective clothing designed for the work environment and tool.
- Non-skid footwear is recommended to maintain footing and balance in the work environment.
PERSONAL PRECAUTIONS
Control the tool, personal movement and the work environment to avoid personal injury or damage to tool.
- Do not operate any tool when tired or under the influence of drugs, alcohol or medications.
- Avoid wearing clothes or jewelry that can become entangled with the moving parts of a tool. Keep long hair covered or bound.
- Do not overreach when operating a tool. Proper footing and balance enables better control in unexpected situations.
- Securely hold this tool using both hands. Using a tool with only one hand can result in loss of control.
SPECIFIC SAFETY PRECAUTIONS
WARNING! DO NOT let comfort or familiarity with product (gained from repeated use) replace strict adherence to the tool safety rules. If you use this tool unsafely or incorrectly, you can suffer serious personal injury.
- Use the correct tool for the job. This tool was designed for a specific function. Do not modify or alter this tool or use it for an unintended purpose.
- Do not use the tool if any parts are damage broken or misplaced. Repair or replace the parts.
- Do not use this tire bead seater where there is a risk of causing a fire or explosion, such as where flammable liquids, gases, or dust are present. This tool can create sparks that may ignite flammable materials.
- Only use an air compressor that is rated to fill the tank.
- Never exceed the maximum rated pressure.
- Do not fill the tank with anything other than air at ambient temperature from a clean, oil-free, dry air supply.
- Always charge the tire bead seater before use, and then discharge it after use.
- Do not loosen or tighten fittings when the tank is charged.
- Periodically drain the tank, but never remove the drain plug when the tank is charged.
- Never transport or store a charged bead seater.
- Do not allow this tool to contact an electrical source. The tool is not insulated and contact could cause an electrical shock.
- Disconnect the air supply from the tire bead seater and discharge tank before making any adjustments.
- Do not use the tire bead seater to dust equipment or people.
- Do not discharge the air tank toward any person or animal.
- Do not clean a tire with a flammable solvent before using this tool.
- Do not subject the tank to any stress or impact that may weaken it.
- Do not inflate damaged tires or attempt to seat tires on damaged rims.
- Make sure the wheel is secured and will not move during tire seating.
UNPACKING
WARNING! Do not operate the tool if any part is missing. Replace the missing part before operating. Failure to do so could result in a malfunction and personal injury.
Remove the parts and accessories from the packaging and inspect for damage.
OPERATION
DANGER! Check all fittings and valves before each use, to ensure they are properly secured.
FILLING THE BEAD BLASTER WITH AIR
You may use any general commercial compressed air source. See the Tank Pressure Table, below, for suggested tank pressures by tire type.
- Verify that the air release valve is closed, and then attach the air supply line to the air connector on the tire bead seater.
- Open the air intake valve to begin filling the air tank. Once the pressure gauge indicates the desired air pressure, close the air intake valve.
- Disconnect the air supply line from the air connector.
USING THE BEAD BLASTER
WARNING! ALWAYS wear OSHA and ANSI approved safety gloves and eye protection when using the tirebead seater. Make sure the area is clear of bystanders or hazardous materials before operating.
HORIZONTAL POSITION FOR TIRE/RIM
- Position the tire and rim on the tire stand so that the lower sidewall of the tire is slightly off the floor.
- Seat the lower tire bead onto the rim.
- Make sure the tank flange is facing up before seating the bead.
- Rotate the tank to this position if necessary, before continuing.
- Position tank at an approximately 45-degree downward angle, and then place the tank flange into the opening between the tire and rim on the upper edge of the rim opposite the tire valve.
- Hold the tire bead seater firmly by the handle. Then, using your other hand, quickly turn the air release valve to OPEN to release air into the tire.
- Once the tire bead is successfully seated, connect an air supply line to the tire valve, and then inflate tire to the correct pressure.
NOTICE! If tire bead does not stay seated on the rim, then you may need to connect an air line to the tire valve stem before completing Step 5.
VERTICAL POSITION FOR TIRE/RIM
CAUTION! Only use this method when there is a large gap between the rim and tire bead, or if the tire is too heavy. The tire and rim may fall forward if not properly supported during inflation, which may damage the the tire bead seater and/or cause personal injury. Use extreme caution when operating in this position.
- Position the tire and rim so that it is tilted slightly back, and then secure the tire with a tire wedge. Make sure that the tire and rim are supported slightly away from the wall. The tire and rim could cause injury if they fall forward.
- Seat the back bead of the tire (furthest from you) onto the rim. The open side of the tire and rim should be facing you with the tire valve stem positioned at the bottom of the tire.
- Position tank at an approximately 45-degree downward angle, and then place the tank flange into the opening between the tire and rim on the upper edge of the rim opposite the tire valve.
- Hold the tire bead seater firmly by the handle. Then, using your other hand, quickly turn the air release valve to OPEN to release air into the tire.
- Once the tire bead is successfully seated, connect an air supply line to the tire valve, and then inflate tire to the correct pressure.
NOTICE! If tire bead does not stay seated on the rim, then you may need to connect an air line to the tire valve stem before completing Step 5.
TANK PRESSURE TABLE
This table is a guide for recommended starting pressures. Individual tires may require higher or lower pressures. Increase pressure if the lire bead seater does not lift the tire bead far enough. Decrease pressure if the tire bead appears to seat at first and then falls off again.
| VEHICLE TYPE | TIRE TYPE EXAMPLES | SUGGESTED TANK PRESSURE | TIPS |
| AN | 16-650-8 22-11-8 25-12-9 24-9-11 | 40 psi (2.7 bar) | Fit on stand with stand in highest position. Can be fitted with the valve at the bottom. |
| Lawn Tractor | 16-650-8 23-1050-12 26-12-12 | 40-50 psi (2.7-3.4 bar) | Use the stand in the highest position. |
| Car | 13 in. rims 14 in. rims | 50-60 psi (3.4-4.1 bar) | If difficult, lean the rim against the stand instead of placing it on the stand. Ensure the valve is covered. Lubricate well. |
| 4×4 | 15 in. rims 16 in. rims | 60-80 psi (4.1-5.4 bar) | Fit in vertical position. Lubricate well. Ensure the valve is covered by the tire. |
| Truck | 11-22-5 18-22-5 | 100 psi (6.8 bar) 120 psi (8.2 bar) | Can be fitted vertically, such as still on the truck. Rotate the tire bead seater barrel to the correct position. If using a stand, place it in the lowest position. |
| Tractor | Up to 28 in. Over 28 in. | 100 120 psi (8.2 bar) psi (6.8 bar) | Fit horizontally. Place the bottom bead on the rim. Use the tire wedge. |
| Large Tractor | Terra Tries 48-31-20 66-43-25 | 120 psi (8.2 bar) | Fit vertically. Roll the tire until the back bead is in position. |
Visit www.princessauto.com for more information
CARE & MAINTENANCE
1. Maintain the tool with care. A tool in good condition is efficient, easier to control and will have fewer problems.
2. Inspect the tool components periodically. Repair or replace damaged or worn components. Only use identical replacement parts when servicing.
3. Maintain the tool’s labels and name plates. These carry important information. If unreadable or missing, contact Princess Auto Ltd. for replacements.
WARNING! Only qualified service personnel should repair the tool. An improperly repaired tool may present a hazard to the user and/or others.
MAINTENANCE SCHEDULE
BEFORE EACH USE
- Check for damaged parts.
- Make sure there are no cracks in the tank or fittings.
- Make sure the barrel is not damaged or bent and that the barrel is not obstructed.
AFTER EVERY USE
Hang the tire bead seater with the barrel pointing downward, and then open the air release valve to drain the tank. Leave the tool in this position until the tank is completely drained.
STORAGE
Store the tire bead seater in a cool, dry place. Hang it by the handle with the barrel pointing downward and the air release valve OPEN to ensure that any built-up moisture drains from the tank. This storage method also protects the barrel and attachments from damage.
REMOVAL FROM STORAGE
Before using the tire bead seater again, first inspect it to ensure that all parts are tight and in working order and that the tool is clean and free of rust, corrosion, or other damage.
DISPOSAL
Recycle a tool damaged beyond repair at the appropriate facility.
TROUBLESHOOTING
Visit a Princess Auto Ltd. location for a solution if the tool does not function properly or parts are missing. If unable to do so, have a qualified technician service the tool.
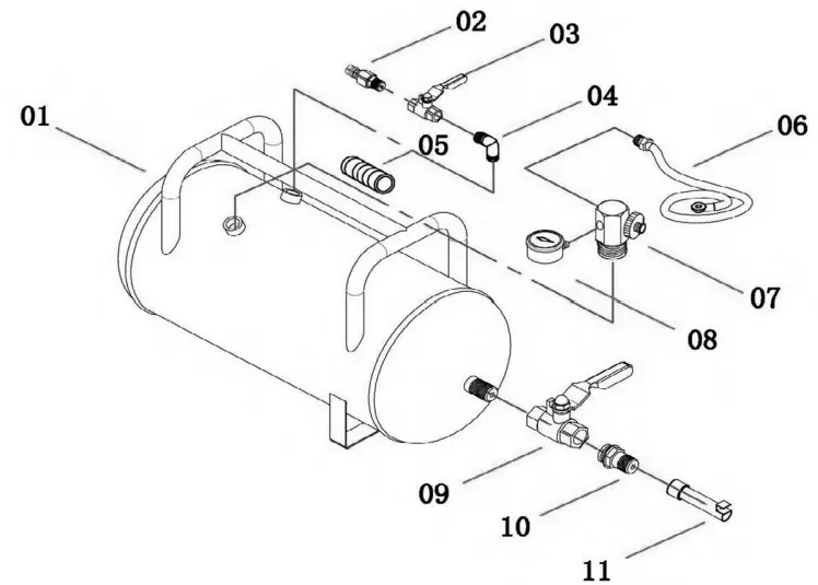
PARTS BREAKDOWN
PARTS LIST
| # | DESCRIPTION | QTY |
| 1 | Air tank | 1 |
| 2 | Quick connect (male) | 1 |
| 3 | 1/4 in. ball valve | 1 |
| 4 | 1/4 in. elbow | 1 |
| 5 | Hand grip | 1 |
| 6 | Air hose with chuck | 1 |
| 7 | ASME check valve | 1 |
| 8 | Pressure gauge | 1 |
| 9 | Ball valve | 1 |
| 10 | Lock nut | 1 |
| 11 | Tire blaster tube w/flange | 1 |
Visit www.princessauto.com for more information

















