FREEZERUSER’S OPERATION MANUAL
HTZ552W
HTZ552B

SAFETY INFORMATION
The refrigerator contains a refrigerant gas (R600a: isobutane) and insulating gas (cyclopentane), with high compatibility with the environment, that is, however, Intl an mm able.
We recommend that you follow the following regulations so as to avoid situations dangerous to you:
Before performing any operation, unplug the power cord from the power socket.
- The refrigeration system positioned behind and inside the Freezer contains refrigerant.
Therefore, avoid damaging the tubes. - If in the refrigeration system a leak is noted, do not touch the wall outlet and do not use open flames.
Open the window and let air into the room. Then call a service center to ask for repair. - Do not scrape with a knife or sharp object to remove frost or ice that occurs. With these, the refrigerant circuit can be damaged, the spill from which can cause a fire or damage your eyes.
- Do not install the appliance in humid, oily, or dusty places, nor expose it to direct sunlight and to water.
- Do not install the appliance near heaters or inflammable materials.
- Do not use extension cords or adapters.
- Do not excessively pull or fold the power cord or touch the plug with wet hands.
- Do not damage the plug and/or the power cord; this could cause electrical shocks or fires.
- It is recommended to keep the plug clean, any excessive dust residues on the plug can be the cause fire.
- Do not use mechanical devices or other equipment to hasten the defrosting process.
- Absolutely avoid the use of open flame or electrical equipment, such as heaters, steam cleaners, candles, oil lamps, and the like in order to speed up the defrosting phase.
- Do not use or store inflammable sprays, such as spray paint, near the Wine Coolers. It could cause an explosion or fire.
- Do not use electrical appliances inside the food storage compartments, unless they are of the type recommended by the manufacturer.
- Do not place or store Inflammable and highly volatile materials such as ether, petrol, LPG, propane gas, aerosol spray cans, adhesives, pure alcohol, etc. These materials may cause an explosion.
- Do not store medicine or research materials in the Freezer. When the material that requires strict control of storage temperatures is to be stored, it is possible that it will deteriorate or an uncontrolled reaction may occur that can cause risks.
- Maintain the ventilation openings in the appliance enclosure or in the built-in structure, free of obstruction.
- Do not place objects and/or containers filled with water on the top of the appliance.
- Do not perform repairs on this Freezer. All interventions must be performed solely by qualified personnel.
- This appliance can be used by children aged 8 years and above and by persons with reduced physical, sensory or mental capabilities or with a lack of experience and knowledge; provided that they have been given adequate supervision or instruction concerning how to use the appliance in a safe way and understand the hazards involved.
- Children should not play with the appliance. Cleaning and user maintenance should not be made by children without supervision
WARNING — Keep ventilation openings, in the appliance enclosure or in the built-in structure, clear of obstruction.
WARNING — Do not use mechanical devices or other means to accelerate the defrosting process, other than those recommended by the manufacturer.
WARNING — Do not damage the refrigerant circuit.
WARNING — Do not use electrical appliances inside the food storage compartments of the appliance, unless they are of the type recommended by the manufacturer. The refrigerant and insulation blowing gas are flammable. When disposing of the appliance, do so only at an authorized waste disposal center. Do not expose to flame.
The refrigerant isobutene (R600a) is contained within the refrigerant circuit of the appliance, a natural gas with a high level of environmental compatibility, which is nevertheless flammable. During transportation and installation of the appliance, ensure that none of the components of the refrigerant circuit becomes damaged.
The refrigerant (R600a) is flammable.
If the refrigerant circuit should be damaged: (Avoid opening flames and sources of ignition.
Thoroughly ventilate the room in which the appliance is situated.
SCRAPPING OLD APPLIANCES
![]()
This appliance is marked according to the European directive 2012/19/EU on Waste Electrical and Electronic Equipment (WEEE).
WEEE contains both polluting substances (which can cause negative consequences for the environment) and basic components (which can be re-used). It is important to have WEEE subjected to specific treatments, in order to remove and dispose properly of all pollutants, and recover and recycle all materials.
Individuals can play an important role in ensuring that WEEE does not become an environmental issue; it is essential to follow some basic rules:
- WEEE should not be treated as household waste;
- WEEE should be handed over to the relevant collection points managed by the municipality or by registered companies. In many countries, for large WEEE, home collection could be present.
In many countries, when you buy a new appliance, the old one may be returned to the retailer who has to collect it free of charge on a one-to-one basis, as long as the equipment is of equivalent type and has the same functions as the supplied equipment.
Conformity
By placing the
mark on this product, we are confirming compliance to all relevant European safety, health, and environmental requirements which are applicable in legislation for this product.
Energy Saving
For better energy-saving we suggest :
Installing the appliance away from heat sources and not exposed to direct sunlight and in a well-ventilated room.
Avoid putting hot food into the refrigerator to avoid increasing the internal temperature and therefore causing continuous functionality of the compressor.
Do not excessively stuff foods so as to ensure proper air circulation.
Defrost the appliance in case there is ice to facilitate the transfer of cold.
In case of the absence of electrical energy, it is advisable to keep the refrigerator door closed. Open or keep the doors of the appliance open as little as possible Avoid adjusting the setting to temperatures too cold.
Remove dust present on the rear of the appliance
Description of the appliance

View of the appliance
- Temperature regulator
- Door
- Upper drawer in the freezer
- Middle drawer in the freezer
- Ice tray
- Lower drawer in the freezer
- Adjustable feet
- Door handle(some models have)
Note: Due to continual modification of our products, your refrigerator may be slightly different from this instruction Manual, but its functions and usage methods remain the same.
Control panel
Starting up and temperature regulation
Insert the plug of the connection lead into the plug socket with a protective grounding contact. The temperature selector knob is located on the top of the freezer compartment.
Thermostat Control
The thermostat control situated in the control panel regulates the temperature of the freezer compartment.

- Positon”cold”
- Positon”Mid”
- Positon”Colder”
The temperature will be affected by:
Room temperature;
How often the door is opened;
How much food is stored;
Position of the appliance.
Important! Normally we advise you to select a set of “Mid” if you want the temperature higher or lower please turn the knob to a warmer or colder setting accordingly. When you turn the knob to a colder setting, this can lead to more energy efficiency. Otherwise, it would result in the consumption of energy.
Important! High ambient temperatures (e.g. on hot summer days) and a colder setting on the temperature regulator(position “colder”) can cause the compressor to run continuously or even non-stop!
Reason: When the ambient temperature is high, the compressor must run continuously to maintain the low temperature in the appliance.
First use an installation
Cleaning before use
- Before using the appliance for the first time, wash the interior and all internal accessories with lukewarm water and neutral soap in order to remove the typical smell of a brand new product, then dry thoroughly
Installation Positioning
Warning! Before installing, read the instruction carefully for your safety and the correct operation of the appliance.
- Position the appliance away from sources of heat such as stoves, radiators, direct sunlight, etc.
- Maximum performance and safety are guaranteed by maintaining the correct indoor temperature for the class of unit concerned, as specified on the rating plate.
- This appliance performs well from N to T. The appliance may not work properly if it is left for a longer period at a temperature above or below the indicated range.
Important! It is necessary to have good ventilation around the freezer to allow for the dissipation of heat, high efficiency and low sufficiently cleared space should be available around the freezer. It is advisable for there to be 75mm separating the back of the freezer to the wall at least 100mm of space on its two sides, a height of over 100mm from its top, and a clear space in front to allow the doors to open 160°.

Climate class | Ambient temperature |
| SN | +10°C to +32°C |
| N | +16°C to +32°C |
| ST | +16°C to +38°C |
| T | +16°C to +43°C |
- Appliances must not be exposed to rain. Sufficient air must be allowed to circulate in the low rear section of the appliance, as poor air circulation can affect performance. Built-in appliances should be positioned away from heat sources such as heaters and direct sunlight.
Leveling
- The appliance should be level in order to eliminate vibration. To make the appliance level, it should be upright and both adjusters should be in stable contact with the floor. You can also adjust the level by unscrewing the appropriate level adjustment in the front (use your fingers or a suitable spanner).
Electrical connection
Caution! Any electrical work required to install this appliance should be carried out by qualified or authorized personnel.
Warning! This appliance must be grounded. The manufacturer declines any liability should these safety measures not be observed.
Daily Use
Accessories 1)
Freezer Drawer
- For storing frozen food.
Ice tray
- For making ice and storing ice- cubes.
Freezer food compartment 2)
- For freezing fresh food and storing frozen and deep-frozen food for long periods of time.
Thawing food 2)
- In the freezer compartment
- At room temperature
- In a microwave oven
- In a conventional or convection oven
- Food once thawed should be re-frozen with the exception of special cases
1 If the appliance contains related accessories and functions.
2 If the appliance contains a freezer compartment.
Helpful hints and tips
Noises during operation
Clicks – Whenever the compressor switches on or off, a click can be heard.
Humming -As soon as the compressor is in operation, you can hear it humming.
Bubbling – When refrigerant flows into thin tubes, you can hear bubbling or splashing noises.
Splashing – Even after the compressor has been switched off, this noise can be heard for a short time.
Energy-saving tips
- Do not install the appliance near stoves, radiators, or other sources of warmth.
- Keep the time the appliance is open to a
- Do not set the temperature colder than
- Make sure the side plates and backplate of the appliance are at some distance from the wall and follow the instructions relevant to installation.
- If the diagram shows the correct combination for the drawers, crisper, and shelves, do not adjust the combination as it would produce an effect on energy
Hints for freezing
- When first starting up or after a period out of use. Before putting the food in the compartment, let the appliance run for at least 2 hours on the higher settings.
- Prepare food in small portions to enable it to be rapidly and completely frozen and to make it possible to subsequently thaw only the quantity required.
- ‘Wrap up the food in aluminum foil or polyethylene (plastic) and make sure that the packages are airtight.
- Do not allow fresh, unfrozen food to touch food that is already frozen, thus avoiding a rise in the temperature of
- Iced products, if consumed immediately after removal from the freezer compartment can possibly cause the skin to become freezer burnt.
- It is recommended to label and date each frozen package in order to keep track of the storage time.
Hints for the storage of frozen food
- Make sure that commercially frozen food was stored by the retailer.
- Once defrosted, foods deteriorate rapidly and can not be re-frozen.
- Do not exceed the storage period indicated by the food manufacturer.
Note: If the appliance contains related accessories and functions.
Cleaning and care
Cleaning and care
For hygienic reasons, the appliance interior, including interior accessories, should be cleaned regularly.
The appliance should be cleaned and maintained at least every two months.
Warning! The danger of electrical shock!
The appliance should not be connected to the main power supply during cleaning. Before cleaning, switch the appliance off and remove the plug from the main power supply, switch off, or shut off the circuit breaker of the fuse.
Notice!
- Remove the food from the appliance before cleaning. Store them in a cool place and keep them well covered
- Never clean the appliance with steam Moisture could accumulate in electrical components.
- Hot vapors can lead to the damage of plastic parts.
- Ethereal oils and organic solvents can attack plastic parts, e.g. lemon juice or the juice from an orange peel, butyric acid, or cleansers that contain acetic acid. Do not allow such substances to come into contact with appliance parts.
- Do not use any abrasive cleansers.
- Clean the appliance and the interior accessories with a cloth and lukewarm Commercially available dishwashing detergents may also be used.
- After deaning, wipe with fresh water and a clean dishcloth.
- Accumulation of dust at the condenser increases energy consumption; clean the condenser at the back of the appliance once a year with a soft brush or a vacuum (Only for the outside-condenser product)
- Check the water drain hole on the rear wall of the refrigerator compartment.
- Clear a blocked drain hole with the aid of something like a soft green peg, and be careful not to create any damage to the cabinet by sharp objects.
- After everything is dry, the appliance is back into service.
Defrosting
Defrosting in the frozen food storage compartment
- Defrosting in the freezer chamber is operated manually. Before defrosting, take the foot out.
- Tale the ice tray and drawers out or put them into the fresh food compartment temporarily.
- leave the door of the refrigerator open until ice and frost dissolve thoroughly and accumulate at the bottom of the freezer chamber. Wipe out the water with soft cloth.
- In order to speed up the process of defrosting, you may put a bowl of warm water (about 50t) into the freezer chamber and scrape away the ice and frost with a defrosting spatula. After doing so, be sure to set the knob of the temperature regulator to the original position.
- It is not advisable to heat the freezer chamber directly with hot water or a hairdryer while defrosting to avoid deformation of the inner case.
- It is also not advisable to scrape off ice and frost or separate foods from the containers which have been congealed together with the food with sharp tools or wooden bars, so as not to damage the inner casing or the surface of the evaporator.
Notice! The appliance should be defrosted at least once a month. During its usage, if the door has been used in extreme humidity, we advise the user to defrost every two weeks.
Taking the appliance out of service
- Empty the appliance
- Pull out the power plug
- Clean thoroughly (see section: Cleaning and Care).
- Leave the door open to prevent odors
What to do if.
Warning! Before troubleshooting, disconnect the power supply. Only a qualified electrician or other personnel must carry out the troubleshooting that is not in the manual.
Important!
Repairs to the appliance may only be performed by competent service engineers. Improper repairs can give rise to significant hazards for the user. If your appliance needs repairing, please contact your specialist dealer or your local Customer Service Center.
Problem | Possible cause | Solution |
| The appliance does not work. | The appliance is not switched on. | Switch on the appliance. |
| The mains plug is not plugged in or is loose. | Plug the appliance into the electrical socket. | |
| The fuse has blown or is defective. | Check fuse, replace if necessary. | |
| The outlet is defective. | Defective parts need to be repaired by an electrician. | |
| Appliance cools too much. | The temperature is set too cold. | Turn the temperature regulator to a warmer setting temporarily. |
| The food is too warm. | Temperature is not properly adjusted. | Please refer to the “Initial Start Up” section. |
| The door was open for an extended period. | Open the door only as long as necessary. | |
| A large quantity of warm food was placed in the appliance within the last 24 hours. | Turn the temperature regulator to a warmer setting temporarily. | |
| The appliance is near a heat source. | Please refer to the “Installation Location” section. | |
| Interior lighting does not work. | The light bulb is defective. | Please look in the “Changing the Light Bulb” section. |
| A heavy build-up of frost, possibly also on the door seal. | The door seal is not air-tight (possibly after reversing the door). | Carefully warm the leaking sections of the door seal with a hairdryer (on a cool setting). At the same time, shape the warmed door seal by hand so that it sits correctly. |
| Unusual noises. | The appliance is not level. | Readjust the feet. |
| The appliance is touching the wall or other objects. | Move the appliance slightly. | |
| A component, e.g. a pipe, on the rear of the appliance is touching another part of the appliance or the wall. | If necessary, carefully bend the component out of the way. | |
| The compressor does not start immediately after changing the temperature setting. | This is normal, no error has occurred. | The compressor starts after a period of time. |
| Water on the floor or storage shelves. | The water drain hole is blocked. | Refer to the “Cleaning and Care” section. |
Reversing the door
The side in which the door opens can be changed from the right side (as supplied) to the left side of the installation site allows for it. Tools you will need:
- 8mm socket driver

- Cross- sharped screwdriver

- Putty knife or thin-blade screwdriver

Reverse the door
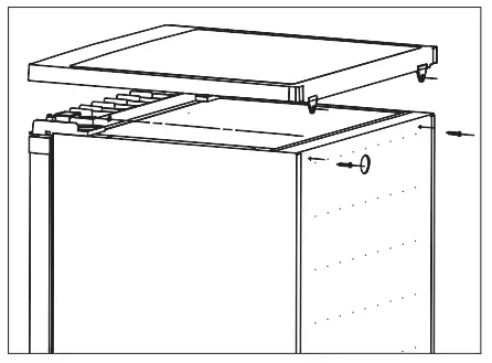
- stand the freezer, remove the two screws on the back of the top cover, then lift the top cover and place it on a padded surface to prevent scratching.

- Remove the four screws as follow Lift the upper hinge core, then put it in a safe place.

Lift the door and place it on a padded surface to prevent scratching. Remove both adjustable feet and remove the bottom hinge bracket by unscrewing the bolts. Then transfer them to another side.
Note: You need to move the hinge axis from the hole (i)to © before transfer.
Set the door into its new place making sure the pin enters the bushing at the lower frame section. Replace the lid by fitting the upper hinge core into the upper door’s hole, securing it with the 2 screws. Replace another 2 screws to another side.

- Put the top cover ‘n the freezer. Tighten the 2 screws on the back of the top cover.
Warning!
When changing the side at which the door opens, the appliance must not be connected to the mains. Remove plug from the mains beforehand.
Installing the door handle
If there is a door handle separately provided in a plastic bag with your appliance, you can install it as follows.
- Remove the screw on the door. Keep or install the screw covers on the side which have hinges.


- Match the handle hole to the door, then fix the screw which you removed from the door to make the handle fixed firmly on the door.

Disposal of the appliance
It is prohibited to dispose of this appliance in domestic household waste.
Packaging materials
Packaging materials with the recycle symbol are recyclable. Dispose of the packaging in a suitable waste collection container to recycle it.
Before disposal of the appliance.
- disconnect the main plug from the main socket.
- Cut off the main cable and discard it.
Correct Disposal of this product
This marking indicates that this product should not be disposed of with other household wastes throughout the EU. To prevent possible harm to the environment or human health from uncontrolled waste disposal, recycle it responsibly to promote the sustainable reuse of material resources. To return your used device, please use the return and collection systems or contact the retailer where the product was purchased. They can take this product for environmentally safe recycling.

TYPE: RS-12DC4S1 | FREEZER | ||||
Climatic Category | N,ST,T | Protection classes | I | Defrost Power | -W |
Fresh Food Volume | – L | Frozen Volume | 82 L | Freezing Capacity | 10 kg/24h |
Energy Class | A+ | Energy Consumption | 180kWh/annum | Temperature Rise Time | 24 h |
| Noise | 40dB | R600a (55g) | Cyclopentane | ||
| 220V-240V~50Hz | 0.7A | Lamp | – W | ||
Candy Hoover Group Srl Via Comolli,
16 20861 Brugherio (MB) ITALY
MADE IN P.R.C






Warning!


















