HOOVER Built-in Frost Free Fridge-freezer HFFBP 3050K

CONTROL PANEL

The thermostat box to control the appliance is located inside the fridge compartment on the top right. To check whether the appliance is functioning, make sure that the thermostat knob is not set on “0”. Adjust the knob according to the desired temperature in the fridge.
In this product the freezer compartment is automatically defrosted.
A small amount of frost or drops of water on the back of the fridge compartment when the fridge is working is normal.
Make sure the water outlet is always clean. Make sure foods do not touch the back or sides of the fridge compartment
Important: If the room temperature is very warm, the appliance may work continuously and a layer of frost will deposit on the back of the fridge compartment. In this case, turn the knob to lower settings.
FREEZING OF THE FREEZER COMPARTMENT
Place the foods to be frozen in the drawer. At the start of the freezing process, so as not to make the fridge compartment excessively cold, it may be necessary to turn the thermostat knob back, according to the load and room temperature. Once the freezing process is completed, return the thermostat knob to the usual value. The rating plate states the maximum quantity of foods that can be frozen.
DEFROSTING OF THE FREEZER COMPARTMENT

In case of a fridge with FROST FREE technology, the freezer compartment does not need to be defrosted because this product is equipped with an automatic system which prevents ice from forming;
In case of a version without FROST FREE technology, it is recommended to manually defrost the product when the layer of frost is more than 3 mm thick, by setting the knob on “0”. Open the door and remove the foodstuffs, making sure to store them in a cool place. Leave the door open as long as is necessary for the layer of frost to melt. Dry the inside of the freezer with a sponge/cloth. Reposition the foodstuffs and reset the knob to the usual values.
N.B.: This is the rating plate. If you need to contact our Service Department in the event of faults, remember to give them the information on the plate.
N.B.: For better air circulation, leave some room between the foodstuffs. In case of models with FROST FREE technology, avoid obstructing the cooling air vents.
N.B.: To TEST consumption and preservation standards, remove all drawers except for the bottom one.
REVERSING THE OPENING OF THE DOORS
- Remove the pin and the corresponding bush of the top crossbar.

- Remove the top door.

- Remove the central hinge and the corresponding washers.

- Remove the bottom door.

- Remove the pin of the bottom right-hand hinge and remount it on the bottom left-hand hinge.

- Invert the plate cover of the cabinet mounted on the plate.

- Reassemble the hinges and doors working from bottom to top 1=>2=> 3.

PRODUCT DIMENSIONS AND BUILT-IN COMPARTMENT


INSTALLATION OF THEAPPLIANCEIN THE COLUMN
- Fasten the gasket provided with the appliance on the opposite side of the hinges.

- Insert the appliance in the column, positioning it on the opposite side of the hinges.

- Make sure the top connecting plate of the cabinet fi ts perfectly in the plate.

- Fasten the top part of the appliance to the cabinet, using the screws provided.

- Fasten the bottom part of the appliance by means of the screws provided.

- Apply the ventilation grill.

- Loosen the fixing screws of the central right-hand hinge.

- Position the plate close to the column.

- Screw the plate to the column by means of the screws provided.

- Tighten the fixing screws of the central right-hand hinge.

- Perform the same operations on the central left-hand plate.

COUPLING OF THE PANELS OF THE BUILT-IN COLUMN TO THE DOORS OF THE APPLIANCE
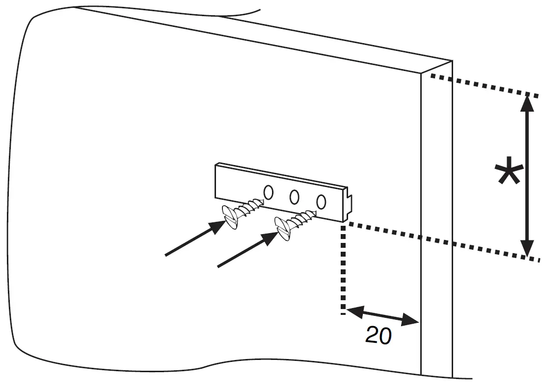
The appliance is equipped with coupling devices for the appliance doors with the panels of the column (drive sleds).
Fasten the sled in the inner part of the panel of the built-in column at the desired height and at approx. 20 cm. From the outer wire of the door

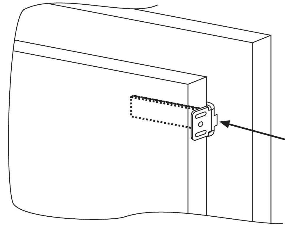
Open the doors of the built-in column and the fridge. Position the built-in loader in the slide, then fit it into the fridge door

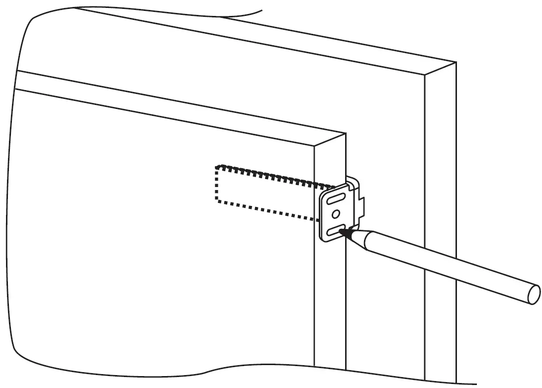
Mark the fixing points for the screws and drill with a bit of a diameter of 2.5

Connect the appliance door to the cabinet panel using the sled slots as references.

PRECAUTIONS FOR THE CORRECT FUNCTIONING
Once the product has been built in, position the rear part of the column in contact with the wall so as to prevent access to the compressor compartment.
For the product to operate correctly it is essential to allow adequate air circulation so as to cool down the condenser located in the rear part of the appliance.
For this reason, the column must be equipped with a rear chimney, whose upper opening must not be blocked and with a front slot which will be covered with a ventilation grill.
Dimensions of the column lock-pickings

Dimensions of the gap to be left between the column and the ceiling






































