PHILIPS PHL456014 Wall Switch Module

Including

Excluding

Connect to APP
Work on Electrical installations is in some countries only allowed by a qualified electrician. For support contact a local electrician or authority to install the product in accordance with national and electrical codes.
Warning: electric shock
The electrical circuit and attached light source will always be powered after installation, turn off the circuit breaker when replacing a light fixture /battery.

Wire Connectors Instructions
- Turn off power before installing or removing connectors.
- Strip wires 5/16″(7.9mm). For #16 and smaller wires, strip 3/8″(9.5mm).
- Pre-twisting unnecessary, hold stripped wires together with ends even. Lead stranded wires slightly.
- Push wires into connector and screw on until two twists are visible in wires.
For use with copper to copper conductor
Temperature Rating: 105°C (221 °F) Max.
Voltage Rating: 600V Max. building wiring; 1000V Max. in fixtures and signs
Listed as a PRESSURE-TYPE wire connector on the following Solid wire combinations: For UL Listed, CSA Certified
Max. wire size (AWG): 22 – 10
Splice capacity: 3+ ground
CAUTION:

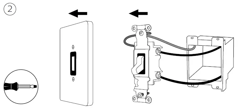
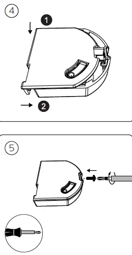
INSTALLATION STEPS

* Terminal screw positions may vary per manufacturer.






HUE APP
www.philips-hue.com/wallswitchmodulesupport
CAUTION

AFTER INSTALLATION


Signify North America Corporation
200 Franklin Square Drive
Somerset, NJ 08873, USA
© 2021 Signify Holding
All rights reserved




















