CENTRAL PNEUMATIC 61473 HVLP Touch Up Spray Gun Owner’s Manual

IMPORTANT SAFETY INSTRUCTIONS
INSTRUCTIONS pERTAINING TO A RISK OF FIRE, ELECTRIC SHOCK, OR INJURY TO pERSONS
The warnings and precautions discussed in this manual cannot cover all possible conditions and situations that may occur. It must be understood by the operator that common sense and caution
are factors which cannot be built into this product, but must be supplied by the operator.
WARNING – When using tools, basic precautions should always be followed, including the following:
Work Area
a. Keep the work area clean and well lighted. Cluttered benches and dark areas increase the risks of electric shock, fire, and injury to persons.
b. Keep bystanders, children, and visitors away while operating the tool. Distractions are able to result in the loss of control of the tool.
NOTICE Clean the Spray Gun IMMEDIATELY after EVERY use. Delayed or inadequate cleaning will permanently clog the Spray Gun. Latex paint hardens quickly and permanently inside Spray Gun.
personal Safety
a. Stay alert. Watch what you are doing and use common sense when operating the tool. Do not use the tool while tired or under the influence of drugs, alcohol, or medication. A moment of inattention while operating the tool increases the risk of injury to persons.
b. Dress properly. Do not wear loose clothing or jewelry. Contain long hair. Keep hair, clothing, and gloves away from moving parts. Loose clothes, jewelry, or long hair increases the risk of injury to persons as a result
of being caught in moving parts.
c. Do not overreach. Keep proper footing and balance at all times. Proper footing and balance enables better control of the tool in unexpected situations.
d
. Use safety equipment. Wear protective paint spraying gloves and a NIOSH-approved respirator during use. Non-skid safety shoes and a hard hat must be used for the applicable conditions.
e
Always wear eye protection. Wear ANSI-approved safety goggles.
Tool Use and Care
a. Do not force the tool. Use the correct tool for the application. The correct tool will do the job better and safer at the rate for which the tool is designed.
b. Disconnect the tool from the air source before making any adjustments, changing accessories, or storing the tool. Such preventive safety measures reduce the risk of starting the tool unintentionally. Turn off and detach the air supply, safely discharge any residual air pressure, and release the throttle and/or turn the switch to its off position before leaving the work area.
c. Store the tool when it is idle out of reach of children and other untrained persons. A tool is dangerous in the hands of untrained users
d. Check for misalignment or binding of moving parts, breakage of parts, and any other condition that affects the tool’s operation. If damaged, have the tool serviced before using. Many accidents are caused by poorly maintained tools. There is a risk of bursting if the tool is damaged.
e. Use only accessories that are identified by the manufacturer for the specific tool model. Use of an accessory not intended for use with the specific tool model, increases the risk of injury to persons.
Service
a. Tool service must be performed only by qualified repair personnel.
b. When servicing a tool, use only identical replacement parts. Use only authorized parts.
c. Use only lubricants supplied with the tool or specified by the manufacturer.
Air Source
A Never connect to an air source that is capable of exceeding 200 psi. Over pressurizing the tool may cause bursting, abnormal operation, breakage of the tool or serious injury to persons. Use only clean, dry, regulated
compressed air at the rated pressure or within the rated pressure range as marked on the tool. Always verify prior to using the tool that the air source has been adjusted to the rated air pressure or within the rated air-pressure range.
b. Never use oxygen, carbon dioxide, combustible gases or any bottled gas as an air source for the tool. Such gases are capable of explosion and serious injury to persons.
SAVE THESE INSTRUCTIONS.
Symbology
| Symbol | Property or Statement |
| PSI | Pounds per square inch of pressure |
| CFM | Cubic Feet per Minute flow |
| SCFM | Cubic Feet per Minute flow at standard conditions |
| NPT | National pipe thread, tapered |
| NPS | National pipe thread, straight |
| Symbol | Property or Statement |
|
| WARNING marking concerning Risk of Eye Injury. Wear ANSI-approved eye protection. |
![]() | WARNING marking concerning Risk of Respiratory Injury. Wear NIOSH-approved respirator. |
![]() | WARNING marking concerning Risk of Explosion. |
![]() | WARNING marking concerning Risk of Fire. Do not use solvents improperly. |
Specific Safety Instructions
- Do not direct spray at people or animals.
- Do not exceed maximum air pressure.
- Do not spray near open flames, pilot lights, stoves, heaters, the air compressor, or any other heat source. Most solvents and coatings are highly flammable, particularly when sprayed. Maintain a distance of at least 25 feet from the air compressor. If possible, locate the air compressor in a separate room.
- Read all of the information concerning coating products and cleaning solvents. Do not use chlorinated solvents (e.g. 1-1-1 trichloroethylene and dichloromethane, also known as methylene chloride) to clean spray guns. Many spray guns contain aluminum, which reacts strongly to chlorinated solvents. Contact the solvent or coating manufacturer as needed regarding potential chemical reactions.
- RISK OF INJECTION – Do not point spray gun at any person or any part of the body. In case of skin injection, seek medical attention immediately.
- Industrial applications must follow OSHA requirements.
- Spraying hazardous materials may result in serious injury or death. Do not spray pesticide, acid, corrosive material, fertilizer, or toxic chemicals.
- Paints and solvents may be harmful or fatal if swallowed or inhaled. Avoid prolonged skin contact with solvents or paints as they will irritate skin. After any contact, immediately wash off exposed area with hot, soapy water.
- Attach all accessories properly to the tool before connecting the air supply. A loose accessory may detach or break during operation.
- Install an in-line shutoff valve to allow immediate control over the air supply in an emergency, even if a hose is ruptured.
- Air hose fittings may get hot during use. Allow fittings to cool before disconnecting.
Specifications
| Maximum Air Pressure | 45 PSI |
| Air Inlet | 1/4″ – 18 NPS |
| Cup Capacity | 120 cc |
| Air Consumption | 3 – 5.6 CFM @ 40 PSI |
Initial Set Up
Read the ENTIRE IMpORTANT SAFETY INFORMATION section at the beginning of this manual including all text under subheadings therein before set up or use of this product.
Note: For additional information regarding the parts listed in the following pages, refer to the Assembly Diagram near the end of this manual.
Before Setup
This air tool may be shipped with a protective plug covering the air inlet. Remove this plug before set up.
Air Supply Setup
TO pREVENT SERIOUS INJURY FROM EXpLOSION: Use only clean, dry, regulated, compressed air to power this tool.
Do not use oxygen, carbon dioxide, combustible gases, or any other bottled gas as a power source for this tool.
- Incorporate a filter, regulator with pressure gauge, in-line shutoff valve, and quick coupler for best service, as shown on Figure A on page 7 and
Figure B on page 8. An in-line shutoff ball valve is an important safety device because it controls the air supply even if the air hose is ruptured. The shutoff valve should be a ball valve because it can be closed quickly
Note: Do not use an automatic oiler system or add oil to airline. The oil will contaminate the material being propelled, ruining the final result. - Attach an air hose to the compressor’s air outlet.
- Connect the air hose to the air inlet of the tool. Other components, such as a coupler plug and quick coupler, will make operation more efficient, but are not required.
- The air hose must be long enough to reach the work area with enough extra length to allow free movement while working.
- Close the in-line shutoff valve between the compressor and the tool.
- Turn on the air compressor according to the manufacturer’s directions and allow it to build up pressure until it cycles off.
- Open the in-line shutoff valve.
- Adjust the air compressor’s output regulator so that the air output is enough to properly power the tool, but the output will not exceed the tool’s maximum air pressure at any time. Adjust the pressure gradually, while checking the air output gauge to set the right pressure range.
- Inspect the air connections for leaks. Repair any leaks found.
- If the tool will not be used at this time, turn off and detach the air supply and safely discharge any residual air pressure to prevent accidental operation.
Note: Residual air pressure should not be present after the tool is disconnected from the air supply. However, it is a good safety measure to attempt to discharge the tool in a safe fashion after disconnecting to ensure that the tool is disconnected and unpowered.
NOTICE
Clean the Spray Gun IMMEDIATELY after EVERY use.
Delayed or inadequate cleaning will permanently clog the Spray Gun. Latex paint hardens quickly and permanently inside Spray Gun.
Figure A: portable Air Supply Setup

| Description | Function | |
| A | Shutoff Ball Valve | Isolates sections of system for maintenance |
| B | Air Hose | Connects air to tool |
| D | Filter | Prevents dirt and condensation from damaging tool or workpiece |
| E | Regulator | Adjusts air pressure to tool |
| F | Coupler and Plug* | Provides quick connection and release |
| C | Air Cleaner / Dryer* | Prevents water vapor from damaging workpiece |
| G | Air Adjusting Valve* | For fine tuning airflow at tool |
*Optional components.
NOTICE Clean the Spray Gun IMMEDIATELY after EVERY use. Delayed or inadequate cleaning will permanently clog the Spray Gun. Latex paint hardens quickly and permanently inside Spray Gun.

| Description | Function | |
| A | Vibration Pads | For noise and vibration reduction |
| B | Anchor Bolts | Secures air compressor in place |
| C | Shutoff Ball Valve | Isolates sections of system for maintenance |
| D | Isolation Hose | For vibration reduction |
| E | Main Air Line – 3/4″ min. | Distributes air to branch lines |
| F | Ball Valve | To drain moisture from system |
| G | Branch Air Line -1/2″ min. | Brings air to point of use |
| H | Air Hose | Connects air to tool |
| Description | Function | |
| I | Filter | Prevents dirt and condensation contamination |
| J | Regulator | Adjusts air pressure to tool |
| K | Lubricator* | For air tool lubrication |
| L | Coupler and Plug | Provides quick connection and release |
| M | Leader Hose* | Increases coupler life |
| N | Air Cleaner / Dryer* | Prevents moisture contamination |
| O | Air Adjusting Valve* | For fine tuning airflow at tool |
Operating Instructions
Read the ENTIRE IMPORTANT SAFETY INFORMATION section
at the beginning of this manual including all text under subheadings therein before set up or use of this product.
Inspect tool before use, looking for damaged, loose, and missing parts. If any problems are found, do not use tool until repaired.
Workpiece and Work Area Set Up
- Designate a work area that is clean and well lit. The work area must not allow access by children or pets to prevent distraction and injury.

- Route the air hose along a safe path to reach the work area without creating a tripping hazard or exposing the air hose to possible damage.
The air hose must be long enough to reach the work area with enough extra length to allow free movement while working. - Before spraying, mask nearby objects not being sprayed and lay cloths (not included) on the floors. Nozzle
Before First Use
NOTICE: Before first use, clean the Spray Gun thoroughly. If not removed, the material used for testing and corrosion prevention will contaminate paint.
- Remove Nozzle by hand.
- Depress Trigger to retract Fluid Needle, then remove Fluid Tip with spray gun wrench (sold separately). Release Trigger.
Note: Do not bend Fluid Needle. - Remove Fluid Knob by hand, then remove Fluid Spring and Fluid Needle.

Figure D:
Note: Do not immerse Spray Gun Body in liquid. Do not allow liquid to enter the air inlet. - Place parts, other than Spray Gun Body, into container with warm soapy water. Allow to soak, then scrub parts, using brushes and toothpicks from spray gun cleaning kit (sold separately).
Note: To prevent damage to the passages, do not use metal objects to clean the Nozzle and Fluid Tip. - Clean inside of Spray Gun by pouring warm soapy water into the Fluid Inlet, then run a flexible round brush (sold separately) through the passage between the Fluid Inlet and Nozzle opening.

- Wipe down Spray Gun Body with a clean cloth and warm soapy water.
- Rinse Cup, along with any tubes or filters, in warm soapy water.
- Make sure all parts are free from grease and oil. Repeat cleaning if necessary.
- Rinse all parts and inside of Spray Gun, except Air Inlet, with warm water.
- Thoroughly blow dry all parts and inside of Spray Gun with compressed air.
- Reassemble Spray Gun, making sure to retract Fluid Needle when replacing Fluid Tip.
Fluid Tip Selection
The choice of Fluid Tip Set will vary according to the consistency of the fluid being sprayed. Consult paint
manufacturer recommended spray tips and use Table A to select a Tip Set appropriate to the job.
| Table A: Fluid Tip Set Suggestions | |||
| Moves Like | Consistency | Examples | Suggested Tip Sets in mm |
| Water, Alcohol | Very Light | Stains, Dyes, Thin Automotive Base | 1.0-1.2 |
| Sugar Water, Simple Syrup | Light | Automotive Lacquers, Thin Woodworking, Clear Coats with a VOC of 3.5 or Higher | 1.2-1.4 |
| Room Temperature Pancake Syrup | Medium | Wood Standard Lacquers and Enamels, Clear Coats with a VOC of 2.1 or Lower, Primer Sealing Coats and Urethane | 1.5-1.8 |
| Latex Paint | Heavy | Latex Paint, High Build Primer | 1.8-2.5 |
| Glue | Very Heavy | Gel Coat, Industrial Glue | 2.0-3.6 |
Note: Chart provided for reference only. Additional fluid tips sizes not included.
Spray Gun Setup Adjustment
Warning
TO pREVENT SERIOUS INJURY: Do not adjust or tamper with any control or component in a way not specifically explained within this manual.
Improper adjustment can result in tool failure or other serious hazards.
CAUTION! Keep hands away from Trigger while making adjustments
- Thread the Cup to the top of the Gun Body and tighten until the Cup is securely in place. paint preparation and Filling
Note: Proper paint mixture is essential. Follow the manufacturer’s directions.
Most paints will spray easily if they are thinned properly. - Thin the paint according to manufacturer’s directions and mix thoroughly.
- Carefully strain the paint through a paint strainer or a piece of cheesecloth

- 4Fill the Cup to 3/4 full. Close Cup.
- Start the air compressor and set the regulator to needed pressure. Do not exceed maximum air pressure.
- Test the consistency by spraying on a piece of scrap material. If it still appears too thick, add a very small amount of thinner (not included) and mix thoroughly.
Use the proper thinner for the type of paint. Thin CAUTIOUSLY. Proceed slowly, adding minimal amounts at a time. DO NOT exceed the manufacturer’s thinning recommendations.Fluid Adjustment
- Loosen Collar on Fluid Knob. Turn the Fluid Knob counterclockwise until it is open enough to show 3 or 4 threads.

- Fully depress the Trigger.

- Turn the Fluid Knob clockwise until it reaches a natural stopping point.

- Release the trigger.
- Tighten Collar on Fluid Knob to lock fluid adjustment settings.
Air Adjustment
- Attach Spray Gun to spray gun regulator (sold separately). Use spray gun regulator to measure airflow PSI.
- Adjust the air supply pressure during operation with the Trigger fully depressed and the Air Knob fully open. If reducing air pressure for specific areas, use the Air Knob.
- To fine-tune airflow, turn Air Knob clockwise to lessen airflow pressure. Turn Air Knob counterclockwise to increase airflow pressure.

pattern Adjustment
- Use the Pattern Knob to adjust the spray pattern.
Turn Pattern Knob counterclockwise (all the way open) to flatten the spray pattern.
Turn it clockwise for a round spray pattern – see Figure K: Pattern Adjustment.
Fan DirectionTurn Pattern Knob counterclockwise (all the way open) to flatten the spray pattern. Turn it clockwise for a round spray pattern – see Figure K: Pattern Adjustment.
- To change the direction of the fan from horizontal to vertical, loosen the Lock Ring and turn the Nozzle 90°.

- After the adjustment, tighten the Lock Ring by hand.
Spraying Technique
IMpORTANT: Proper spraying technique is ESSENTIAL to achieve good results.
- First, clean and prepare the Spray Gun according to the instructions under Before First Use on page 10 and Spray Gun Setup Adjustment on page 11.
- Keep the Spray Gun upright and at a right angle to the workpiece – See Figure M and Figure N.

Correct Gun Angle
Move your arm, not just your wrist. Point gun directly towards the surface and maintain an even, steady distance and speed

- Using two hands, one to steady the Cup and the other to operate the Spray Gun, aim Nozzle at the workpiece.
CAUTION! DO NOT STOp WHEN SpRAYING. Spraying materials will start to set and dry as soon as they come in contact with the air.
They will cause a permanent clog if not cleared immediately. If discontinuing spraying for more than half an hour, turn off the air supply, disconnect Cup from Gun Body and thoroughly rinse Cup and Gun Body with fresh, clean water. - Pull Trigger slowly and move Spray Gun in parallel strokes to the workpiece. Keep the distance from the workpiece at about 6″ to 9″, depending on the flow adjustment and the paint.
- To avoid paint build up, start moving the Spray Gun before squeezing the Trigger.
When finished with the stroke, release the Trigger while still moving the Spray Gun – see Figure O.
Doing this will produce a smoother finish. Do not stop moving the Spray Gun while spraying. If the Spray Gun stops even briefly while spraying the paint will build up and run down the workpiece.
Figure O: paint Stroke Triggering – top view
Note: The stroke speed, the Fluid Knob adjustment, and the distance from the workpiece, will determine how much paint is being applied. Apply two thin coats rather than one thick coat.
CAUTION! Air hose fittings may get hot. Allow fittings to cool before disconnecting, or wear gloves to prevent burns. - To prevent accidents, release trigger, detach air supply, safely discharge any residual air pressure, and again release trigger after use.
- Clean the Spray Gun IMMEDIATELY after EVERY use, in between coats, and when it will be idle for more than 5 minutes.
Cleaning

a. Follow solvent manufacturer’s clean up instructions and safety precautions.
b. Flush Spray Gun a full hose length from air compressor.
c. If collecting flushed solvents in metal container, transfer to nonmetal container, and flush metal container.
d. Work far away from any ignition sources in a vapor free area.
e. Keep class ABC fire extinguisher nearby.
Solvent Selection
Follow the paint and solvent manufacturer’s recommendations for cleaning, solvent type, and disposal.
IMpORTANT: Do not use mineral spirits with latex paints, doing so will make the paint very difficult to remove.
After Every Use
- Use solvent recommended by paint manufacturer.
- Remove the Cup, along with any tubes or filters. Carefully scrape paint out of Cup. Dispose of excess paint properly, then clean Cup and accessories with solvent.
- Reduce air pressure to minimum, then fill the Cup with solvent and spray it through the Spray Gun into the spent solvent container, while shaking the Spray Gun. Once the Cup is empty, repeat the process until the solvent comes out clean.
- Disconnect from the air source.
- After disconnecting, point the Spray Gun into the spent solvent container and squeeze the Trigger again to make sure no air remains.
Note: Do not immerse Spray Gun Body in solvent. Do not allow solvent to enter the air inlet. - Remove Nozzle by hand and soak it in solvent until it is clean. Use brush and toothpicks (sold separately) to remove any paint.
Note: To prevent damage to the passages, do not use metal objects to clean the Nozzle. - Wipe down Spray Gun Body with a clean cloth and solvent.
- Make sure all parts are free from residual paint.
- If switching from oil-based to latex paint, after cleaning with solvent, clean all parts with warm soapy water.
- Rinse with warm water, then thoroughly blow dry all parts with compressed air.
- Reassemble Spray Gun.
- Use spray gun lubricant (sold separately) on EXTERNAL moving parts. (See Figure P:)
NOTICE: Do not use any kind of lubricant in air supply or air inlet. The lubricant will mix with paint, causing poor results.
User-Maintenance Instructions
procedures not specifically explained in this manual must be performed only by a qualified technician.
TO pREVENT SERIOUS INJURY:
Detach the air supply and safely discharge any residual air pressure in the tool before performing any inspection, maintenance, or cleaning procedures.
TO pREVENT SERIOUS INJURY FROM TOOL FAILURE: Do not use damaged equipment. If abnormal noise, vibration, or leaking air occurs, have the problem corrected before further use.
Inspection
Note: These procedures are in addition to the regular checks and maintenance explained as part of the regular operation of the air-operated tool.
BEFORE EACH USE, inspect the general condition of the tool. Check for:
- loose screws,
- misalignment or binding of moving parts,
- clogged nozzle or fluid tip,
- damaged air supply hose,
- cracked or broken parts, and
- any other condition that may affect its safe operation.
Air Supply Maintenance
Every day, perform maintenance on the air supply according to the component manufacturers’ instructions.
Storage
Store in a dry, secure area out of reach of children.
Troubleshooting – Spray pattern Diagnosis
Note: The drawings on the left below resemble symptoms of spray pattern problems.
Refer to the accompanying possible causes and likely solutions to the right.
| Problem | Possible Causes | Likely Solutions | |
![]() | Heavy center pattern | 1. Pattern Knob partially closed. 2. The paint is too thick.
3. The air pressure is too low. | 1. Open Pattern Knob more. 2. Thin paint according to the manufacturer’s instructions. 3. Increase air pressure within the Operating Air Pressure. |
![]() | Light center pattern | 1. High air pressure. 2. Fluid Knob not open enough. 3. Pattern Knob open too far. | 1. Reduce air pressure. 2. Open Fluid Knob. 3. Partially close Pattern Knob. |
![]() |
Heavy top/ bottom pattern | 1. Nozzle plugged. 2. Nozzle loose or dirty seal. 3. Dried paint on Fluid Tip.
4. Damaged Fluid Needle. | 1. Clean Nozzle. 2. Clean and tighten Nozzle and seal. 3. Use a nonmetallic point to clean Fluid Tip. 4. Replace Fluid Needle and Fluid Tip. |
![]() | Pattern on right or left only | 1. Dirt on one side of Fluid Tip.
2. Holes on one side of Nozzle are plugged. 3. Damaged Fluid Needle. | 1. Use a nonmetallic point to clean Fluid Tip. 2. Use a nonmetallic point to clean Nozzle. 3. Replace Fluid Needle and Fluid Tip. |
![]() |
Jerky or Fluttering Spray | 1. Loose or damaged Nozzle. 2. Paint level low. 3. Obstruction in Fluid Inlet. 4. Dry or loose Fluid Needle Packing Nut. | 1. Tighten or replace. 2. Refill paint Cup. 3. Backflush with solvent. 4. Lubricate or tighten Packing Nut. |
Follow all safety precautions whenever diagnosing or servicing the tool. Disconnect air supply before service. | |||
General Troubleshooting Chart
| Problem | Possible Causes | Likely Solutions |
| Sputtering Spray | 1. Low paint level. 2. Cup tipped. 3. Clogged Air Vent on Cup. 4. Loose Fluid Inlet connection. 5. Loose/damaged Fluid Tip/Seat. | 1. Refill. 2. Hold upright. 3. Clean Air Vent hole. 4. Tighten Fluid Inlet connection. 5. Adjust or replace Fluid Tip and Fluid Needle. |
| Will Not Spray | 1. No pressure at Spray Gun. 2. Fluid Knob not open enough. 3. Fluid too thick. | 1. Check air hoses. 2. Open Fluid Knob. 3. Thin fluid or increase air pressure. (Do not exceed maximum.) |
| Overspray (Paint drifting to unintended objects.) | 1. Improper application speed. 2. Improper distance from workpiece. 3. Too much air pressure. | 1. Move moderately and parallel. 2. Adjust distance. 3. Reduce air pressure. |
| Fluid Tip Leakage | 1. Dirty Fluid Tip. 2. Broken Fluid Needle Spring. 3. Worn or damaged Fluid Tip. | 1. Use a nonmetallic point to clean Fluid Tip. 2. Replace Fluid Needle Spring. 3. Replace Fluid Tip and Fluid Needle. |
| Air Leaking from Nozzle | 1. Dirty Air Valve/Seat. 2. Sticking Air Valve. 3. Damaged Air Valve Spring. 4. Worn/damaged Air Valve/Seat. 5. Bent Air Valve Stem. | 1. Clean Air Valve/Seat. 2. Lubricate Air Valve/Seat. 3. Replace Air Valve Spring. 4. Replace Air Valve assembly. 5. Replace Air Valve Stem. |
Follow all safety precautions whenever diagnosing or servicing the tool. Disconnect air supply before service. | ||
pLEASE READ THE FOLLOWING CAREFULLY
THE MANUFACTURER AND/OR DISTRIBUTOR HAS PROVIDED THE PARTS LIST AND ASSEMBLY DIAGRAM IN THIS MANUAL AS A REFERENCE TOOL ONLY. NEITHER THE MANUFACTURER OR DISTRIBUTOR MAKES ANY REPRESENTATION OR WARRANTY OF ANY KIND TO THE BUYER THAT HE OR SHE IS QUALIFIED TO MAKE ANY REPAIRS TO THE PRODUCT, OR THAT HE OR SHE IS QUALIFIED TO REPLACE ANY PARTS OF THE PRODUCT. IN FACT, THE MANUFACTURER AND/OR DISTRIBUTOR EXPRESSLY STATES THAT ALL REPAIRS AND PARTS REPLACEMENTS SHOULD BE UNDERTAKEN BY CERTIFIED AND LICENSED TECHNICIANS, AND NOT BY THE BUYER. THE BUYER ASSUMES ALL RISK AND LIABILITY ARISING OUT OF HIS OR HER REPAIRS TO THE ORIGINAL PRODUCT OR REPLACEMENT PARTS THERETO, OR ARISING OUT OF HIS OR HER INSTALLATION OF REPLACEMENT PARTS THERETO.
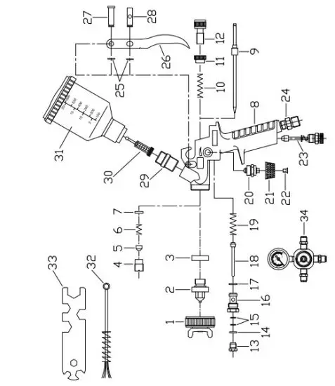
parts List and Diagram
parts List
| Part | Description | Qty | Part | Description | Qty |
| 1 | Air Cap | 1 | 18 | Air Valve Stem | 1 |
| 2 | Fluid Nozzle | 1 | 19 | Air Valve Spring | 1 |
| 3 | Seal Ring | 1 | 20 | Pattern Adjustment Valve Seat | 1 |
| 4 | Needle Seal Screw | 1 | 21 | Pattern Adjustment Knob | 1 |
| 5 | Gasket | 1 | 22 | Screw | 1 |
| 6 | Spring | 1 | 23 | Air Control Knob Assembly | 1 |
| 7 | Washer | 1 | 24 | Air Connector | 1 |
| 8 | Gun Body | 1 | 25 | Snap Ring | 2 |
| 9 | Needle | 1 | 26 | Trigger | 1 |
| 10 | Needle Spring | 1 | 27 | Upper Trigger Pin | 1 |
| 11 | Fluid Control Knob Lock Ring | 1 | 28 | Lower Trigger Pin | 1 |
| 12 | Fluid Control Knob | 1 | 29 | Connector | 1 |
| 13 | Air Valve Direction Screw | 1 | 30 | Filter | 1 |
| 14 | O-Ring | 1 | 31 | Paint Cup Set | 1 |
| 15 | Gasket | 2 | 32 | Brush | 1 |
| 16 | Air Valve Seat | 1 | 33 | Wrench | 1 |
| 17 | Air Valve Gasket | 1 | 34 | Air Regulator | 1 |
Assembly Diagram

Record product’s Serial Number Here:
Note: If product has no serial number, record month and year of purchase instead.
Note: Some parts are listed and shown for illustration purposes only, and are not available individually as replacement parts. Specify UPC 792363614733 when ordering parts
Limited 90 Day Warranty
Harbor Freight Tools Co. makes every effort to assure that its products meet high quality and durability standards, and warrants to the original purchaser that this product is free from defects in materials and workmanship for the period of 90 days from the date of purchase. This warranty does not apply to
damage due directly or indirectly, to misuse, abuse, negligence or accidents, repairs or alterations outside our facilities, criminal activity, improper installation, normal wear and tear, or to lack of maintenance.
We shall in no event be liable for death, injuries to persons or property, or for incidental, contingent, special or consequential damages arising from the use of our product. Some states do not allow the exclusion or limitation of incidental or consequential damages, so the above limitation of exclusion may not apply to you. THIS WARRANTY IS EXPRESSLY IN LIEU OF ALL OTHER WARRANTIES, EXPRESS OR IMPLIED, INCLUDING THE WARRANTIES OF MERCHANTABILITY AND FITNESS.
To take advantage of this warranty, the product or part must be returned to us with transportation charges prepaid. Proof of purchase date and an explanation of the complaint must accompany the merchandise.
If our inspection verifies the defect, we will either repair or replace the product at our election or we may elect to refund the purchase price if we cannot readily and quickly provide you with a replacement. We will return repaired products at our expense, but if we determine there is no defect, or that the defect resulted from causes not within the scope of our warranty, then you must bear the cost of returning the product.
This warranty gives you specific legal rights and you may also have other rights which vary from state to state.




































