MILESCRAFT 1334 Imperial JointMaster Self-Clamping Aluminum Doweling Jig

INSTRUCTION MANUAL
- Clamping Wall
- Centerlines
- M5 x 0.8 x 16 Pan Head Screws (8) 4 — Clamp Body
- Dowel Alignment Slots (3)
- Main Body
- Scales (2)
- 3/8˝ (10mm) Drill Block
- 5/16˝ (8mm) Drill Block
- 1/4˝ (6mm) Drill Block
- Edge Stops (2)
- Center Finder (Built in)
- 3/4″ (19mm) or 1-1/2˝ (27mm) Spacer
- 5/8″ (15mm) or 3/4˝ (18mm) Spacer
- 1/2″ (12mm) or 5/8″ (14mm) Spacer
- Pencil

SCAN, LEARN, BUILD.
PACKAGE CONTENTS
Unpack all items and check with Figure 1 and “Replacement Parts table” (see pp. 15–16). Make sure all items are accounted for before discarding any of the packing material. For any missing parts, contact Customer Service at [email protected] or
1-224-227-6930 in U.S. and Canada. Outside of the U.S and Canada dial
001-224-227-6930.
SAFETY WARNING
Read, understand, and follow your power tool manufacturer’s instructions for safety. Always wear safety glasses or eye shields before commencing power tool operation. Always keep hands, face, hair, loose clothing, and body at a safe distance from spindles and cutting tools. Always keep a firm grip on tool handles when in operation. Always disconnect from power source before adjusting power tools.
GETTING STARTED
This manual will reference a boards Face, End and Edge, please note below which part of the board the manual is referencing.
- Determine the correct joint(s) for your project (see FIG. 1).

- Determine the drilling depth, based on the type of joint you are making (see FIG. 2a & 2b).

SETTING UP THE JIG
- Choose the drill bit, drill bushing, and dowel pin size based on the thickness of your project boards (see FIG. 1)
board thickness + spacer + dowel pin + drillbit + drill bushing 




Imperial Metric Imperial Metric Imperial Metric Imperial Metric Imperial Metric 1/2˝ or 5/8″ 12 or 14mm 1/2″ or 5/8″ 12 or 14mm 1/4″ 6mm 1/4″ 6mm 1/4″ 6mm 5/8˝ or 3/4″ 15 or 18mm 5/8″ or 3/4″ 15 or 18mm 5/16″ 8mm 5/16″ 8mm 5/16″ 8mm 3/4˝ or 1-1/2″ 19 or 38mm 3/4″ or 1-1/2″ 19 or 38mm 3/8″ 10mm 3/8″ 10mm 3/8″ 10mm - Once you have chosen the correct drill bushing, remove the other two using a Phillips screwdriver. Loosen the screws on the remaining drill block. (See FIG. 2)

- Measure your board thickness and mark your center line. You can use the included center finder built into the largest spacer on boards up to 1-1/16″. To use the center finder, rotate until both pegs meet the workpiece and insert the pencil. Mark your line. (FIG. 3).

- Calculate ½ of the board thickness, or measure the center line distance from edge. Using the built-in scales on each side of the jig, align the centering lines on drill block to the same measurement (FIG. 4).
While drill block is loose, after marking your centerline, you can hold work piece against the scale on the bottom of the jig to confirm measurement visually. - You can also use the included spacers to align the drill block. Each spacer works on two different dimensional board thicknesses. Select the spacer that corresponds to the drill block and dowel pin size you are using. Insert the spacer pegs into the drill block with the board thickness you are using facing the back wall. (FIG. 5)

- Slide the Spacer and Drill Block tight against Clamping Wall. Tighten drill block screws and remove spacer (FIG. 5a).

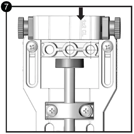
- There are three solid center lines on the Clamping Wall that reference the centers of each bushing (see FIG. 6).

Only the 1/4″ and 5/16″ bushing blocks are used for 1 ″x 2 ″ DIM board. - If using a 1″x2″ dimensional board, use the marked center line for best placement for two holes. (FIG. 7).

- Insert the drill bit into the drill guide bushing until the bit protrudes past the JointMaster™ surface.
- Edge Joints – The bit should protrude until it measures half the length of the dowel pin. This will prevent the holes from being too deep or prevent gaps between joints due to shallow holes (see FIG. 7a).

- Corner Joints & Surface Joints – The bit should protrude until it measures half the board’s thickness that will be drilled through the face (see FIG. 7b).
Once the face holes are drilled, adjust the stop collar and bit to measure the remaining depth for the dowel pins.
It’s recommended the dowel holes be 1/8″ (3mm) deeper than the dowel insertion depth to make room for the glue.
- Edge Joints – The bit should protrude until it measures half the length of the dowel pin. This will prevent the holes from being too deep or prevent gaps between joints due to shallow holes (see FIG. 7a).
- To ensure proper alignment for multiple boards, loosen the edge stop knob, flip down the edge stop, then tighten the stop knob. This will ensure that the holes on each side of your boards will align. (See FIG. 8)

- Depending on board set-up, if it’s not possible to use the edge stop, measure and mark your dowel pin locations.
EDGE JOINTS
This is for drilling edge-to-edge, end-to-end, and edge-to-end joints. For a stronger bond when gluing joints together, the wood grains should run parallel to each other. Refer to all steps of “Setting Up the Jig” pp. 5–8

- With Clamp Body on the Main Body, lay board #1 flat on the work surface, with the side to be drilled against the Main Body and the board face against the Clamping Wall.
There’s a recessed clamp pocket on the back of the Clamping Wall. Depending on jig setup, the Clamp Body may have to be removed (see FIG. 1c).
- Rotate appropriate Edge Stop and align JointMaster™ to the edge of the board
- Secure the JointMaster™ to board #1, secure board #1 to work surface. You may use the JointMaster™ and Miles-craft® #4001 FaceClamp™ or similar, to secure the board to your work surface or the Clamp Body. (See FIG. 1a–1c)


- Refer to step 9 on p. 8 for drill depth. With the drill powered off, insert the drill bit into the drill block, drill the hole(s) to the proper depth(s). (See FIG. 2)

- The Edge Stops can be used to place a set of dowels at either end of the board. Rotate an Edge Stop and place the board against the Edge Stop, drill the holes. Loosen the JointMaster™ move the JointMaster™ to the second location, Rotate the opposite Edge and place the board against the Edge Stop drill holes at this location (see FIG. 3).

- To drill holes in the center of long boards, start by placing board #1 and #2 on top of each other. Align the edges and sides so that boards are flush and even, and mark location of mid board dowel holes on both the edge and face using a straight edge. Mark the top side of each board so the boards remain in the same orientation and joint is smooth. Retract both edge stops and position JointMaster™ so that the center lines on the marked board (see FIG. 4)
align with the centering line on the side of the drill block, tighten Clamp Body and drill. - When finished with board #1, remove the JointMaster™ and repeat the same steps for board #2.
- When the drilling is complete, remove the JointMaster™ and clamp(s). Insert dowel pins and dry fit the joint prior to gluing (see FIG. 5).

- You are now ready to glue and permanently assemble your joint.
CORNER JOINTS
This is for drilling end-to-face and edge-to-face joints. Corner joints may have wood grains in different directions. Refer to all steps of “Setting Up the Jig” pp. 5–8.
- Follow steps 1–3 of “Edge Joints” p. 9. Repeat steps as necessary for board #1. When complete, remove the JointMaster™ and clamp(s).
- For board #2, the Main Body of the jig is placed on the face of the board. If using the Clamp Body, reposition it and attach to the Clamping Wall (See FIG 1).
Lay board #2 flat on the work surface, rotate appropriate Edge Stop, and align JointMaster™ to the edge of your board (See FIG 2).
Secure the JointMaster™ and the board to your work surface using clamps such as the Milescraft® #4001 FaceClamps™ or similar. - Refer to step 9 p. 8 for drill depth. With the drill powered off, insert the drill bit into the appropriate drill guide bushing, turn the drill on, and drill the hole(s) to the proper depth(s). (See FIG. 3)

- To drill more than one set of holes, loosen the JointMaster™ clamp, move the JointMaster™ to the desired location, and tighten the clamp. You’ll need to now match all remaining dowel positions from board #1. (See FIG. 4)

- To drill holes in the center of long boards, start by plac-ing board #1 and #2 on top of each other. Align the edges and sides so that boards are flush and even, and mark location of mid board dowel holes on both the edge and face using a straight edge. Mark the top side of each board so the boards remain in the same orientation and joint is smooth. Retract both edge stops and position JointMaster™ so that the center lines on the marked board (see FIG. 4 )

- align with the centering lines on the sides of the drill block (see FIG 5),
tighten Clamp Body and drill. - When the drilling is complete, remove the JointMaster™ and clamp(s). Insert dowel pins and dry fit the joint prior to gluing (see FIG. 6).

- You are now ready to glue and permanently assemble your joint.
SURFACE JOINTS
This is for drilling end-to-face and edge-to-face joints. Surface joints may have wood grains in different directions. Refer to all steps of “Setting Up the Jig” pp. 5–8.
- Follow steps 1–3 of “Edge Joints” p. 9. Repeat steps as necessary for board #1. When complete, remove the JointMaster™ and clamp(s). Dry fit the dowel pins.
There’s a recessed clamp pocket on the back of the Clamping Wall. Depending on dowel hole placements, board setup, and board thickness clamping the jig may not be possible. - For board #2, the Clamp Body and the Clamping Wall are removed. Lay board #2 flat on the work surface, with the board’s surface to be joined facing up. Mark a center-line where boards #1 and #2 will meet (see FIG. 1).

- Place board #1 on top of board #2, with the installed dowel pins pointing towards the area that the holes will be drilled in board #2 (see FIG. 2a).
Align the drill block notches to your center line. Move board #1 towards the JointMaster™. The JointMaster™ might have to move side to side while staying on the center line until the dowel pin closest to the edge in board #1 fits in the appropriate dowel slot (see FIG. 2b).
Ensure that both boards are accurately aligned with the edges to be joined, parallel to each other. Securely clamp both boards in this position with both ends flush (see FIG. 2c).
- Refer to p. 8 step 9 for drill depth. With the drill powered off, insert the drill bit into the appropriate drill guide bushing, drill the hole(s) to the proper depth(s).
When drilling, always apply firm downward pressure against the jig and against the board with the dowel you are aligned with. - To drill more than one set of holes, leave the Milescraft® #4001 FaceClamp™ (or similar if necessary), in place and move the JointMaster™ to the desired location. Match all remaining dowel positions from board #1.
Some dowel pins may need to be removed to make room for the jig to align with a dowel pin. (see FIG. 3)
- When drilling is complete, remove the JointMaster™ and clamp(s). Insert dowel pins and dry fit the joint prior to gluing (see FIG. 4).

- You are now ready to glue and permanently assemble your joint.
REPLACEMENT PARTS
| Figure Number | Part Number | DESCRIPTION G | QTY |
| 21060 | Main Body – Imperial | 1 | |
| 21061 | Clamping Wall | 1 | |
| 21063 | 1/4″ – Drill Block | 1 | |
| 21064 | 5/16″ – Drill Block | 1 | |
| 21065 | 3/8″ – Drill Block | 1 | |
| 30448 | Clamp Disc Protector | 1 | |
| 36049 | Edge Stops | 2 | |
| 36050 | 1/4″ – Spacer | 1 | |
| 36051 | 5/16″ – Spacer | 1 | |
| 36052 | 3/8″ – Spacer | 1 | |
| 36055 | M5 x 0.8 Edge Stop Knobs | 2 | |
| 40100 | M5 x 0.8 x 16 Pan Head Screws | 8 | |
| 40102 | M5 x 0.8 Thin Hex Nuts | 2 | |
| 60642 | Clamp Body | 1 | |
| 70523 | Pencil | 1 | |
| 40103 | M5 x 0.8 x 25 Partial Thread PHS | 2 |
| Figure Number | Part Number | DESCRIPTION G | QTY |
| 21060 | Main Body – Metric | 1 | |
| 21061 | Clamping Wall | 1 | |
| 21066 | Drill Block 6mm | 1 | |
| 21067 | Drill Block 8mm | 1 | |
| 21068 | Drill Block 10mm | 1 | |
| 30448 | Clamp Disc Protector | 2 | |
| 36049 | Edge Stops | 2 | |
| 36056 | Spacer 6mm | 1 | |
| 36057 | Spacer 8mm | 1 | |
| 36058 | Spacer 10mm | 1 | |
| 36055 | M5 x 0.8 Edge Stop Knobs | 2 | |
| 40100 | M5 x 0.8 x 16 Pan Head Screws | 8 | |
| 40102 | M5 x 0.8 Thin Hex Nuts | 2 | |
| 60642 | Clamp Body | 1 | |
| 70523 | Pencil | 1 | |
| 40103 | M5 x 0.8 x 25 Partial Thread PHS | 2 |










While drill block is loose, after marking your centerline, you can hold work piece against the scale on the bottom of the jig to confirm measurement visually.




Once the face holes are drilled, adjust the stop collar and bit to measure the remaining depth for the dowel pins.





align with the centering line on the side of the drill block, tighten Clamp Body and drill.
Lay board #2 flat on the work surface, rotate appropriate Edge Stop, and align JointMaster™ to the edge of your board (See FIG 2).
Secure the JointMaster™ and the board to your work surface using clamps such as the Milescraft® #4001 FaceClamps™ or similar.

tighten Clamp Body and drill.

Align the drill block notches to your center line. Move board #1 towards the JointMaster™. The JointMaster™ might have to move side to side while staying on the center line until the dowel pin closest to the edge in board #1 fits in the appropriate dowel slot (see FIG. 2b).
Ensure that both boards are accurately aligned with the edges to be joined, parallel to each other. Securely clamp both boards in this position with both ends flush (see FIG. 2c).



















