ASSEMBLY INSTRUCTIONS
TWIN CORNER LOFTBED WITH SLIDER
WF293356/WF293357
! SAFETY WARNINGS !
- This bed is designed for use only mattress(es) meeting the following specifications on the upper bunk, and lowe bunk:
Bed Type Length Width Thiclowss Twin Standard 74″- 75″ 38 2″ 6″ - Replacement pans, including additional guardrails, may be obtained from any of our (GIGACLOUD TECHNOLOGY (USA) MC . 18961 ARENTH AVENUS CITY OF INDUSTRY, CA, 91748) dealers
- Follow the information on the warnings appearing on the upper bunk bed end structure and on the carton. Do not remove warning label from bed.
- Always use the recommended size mattresses or mattress supports, or both, to help prevent the likelihood of entrapment or falls.
- Surface of the mattress must be at least 5 in. (127 mm) below the upper edge of guardrails.
- Do not allow children under 6 years of age to use the upper bunk.
- Periodically check and ensure that the guardrail, ladder, and other components are in their proper position, free from damage, and that all connectors are tight.
- Do not allow horseplay on or under the bed and prohibit jumping on the bed
- Always use the ladder for entering and leaving the upper bunk.
- Do not use substitute parts. Contact the manufacturer or dealer for replacement parts.
- Use of a night light may provided added safety precaution for a child using the upper bunk.
- Always use guardrails on both long sides of the upper bunk. If the bunk bed will be placed next to the wall. the guardrail that runs the full length of the bed should be placed against the wall to prevent entrapment betwen the bed and wall.
- The use of water or sleep flotation mattresses is prohibited.
- STRANGULATION HAZARD — Never attach or hang items to any pan of the bunk bed that are not designed for use with the bed: for example, but not limited to. hook, belts and jump ropes.
- Keep these instructions for future reference
- Prohibit more than one person on upper bunk
- We recommend assembling your bunk bed on a shipping carton to protect your floor or carpet
- Be certain all staples are out of the box before beginning assembly on the shipping carton
At the beginning :
- Tighten all hardware. Check metal parts for rust. If found, sand and repaint using a non-lead4msed paint meeting the requirements of 16 CFR 1303.
Check all wood members for deterioration and splinters. Sand down splinters and replace deteriorating wood members.
Rake and check depth of loose fill protective surfacing materialsto prevent compaction and to maintain appropriate depth. Replace as necessary. - Twicea month Tighten all hardware.
Rake and check depth of loose fill protective surfacing materials to prevent compaction and to maintain appropriate depth. Replace as necessary. - Owners shall be responsible for maintaining the legibility of the warning labels.
- Disposal Instructions-There shall be instructions advising the owner to disassemble and dispose of the playground equipment In such a way that no unreasonable hazards will exist at the time the playground equipment is discarded.
- The instructions shall also include the information found in Section 4 of the United States Consumer Product Safety Commission’s (USCPSC) Outdoor !tome Playground Safety Handbook or specific surfacing guidelines for the product consistent with the USCPSC Handbook. A copy of this section may be found in Appendix X2.
- Observing the following statements and warnings reduces the likelihood of serious or fatal injury.
- Specifying the number and weight of occupants that may safely use the equipment singly or simultaneously.
- Recommending on-site adult supervision for children of all ages,
- Warning the owner to instruct children not to use the equipment in a manner other than intended.
- Warning the owner to instruct children not to get off equipment while it is in motion,
- Warning the owner not to allow children to wear inappropriate items, such as but not limited to, loose. (Ming clothing, hood and neck drawstrings, scarves, cord-connected items, capes and ponchos. These items can cause death by strangulation.
- Warning the owner to instruct children not to climb when the equipment Is wet.
- Warning the owner to instruct children not to attach items to the playground equipment that are not specifically designed for use with the equipment, such as. but not limited to. jump ropes, clothesline, pet leashes, cables and chain as they may cause a strangulation hazard
- Warning the owner to instruct children to remove their bike or other sports helmet before playing on the playground equipment.
- Warning the owner to dress children with well-lilting and full foot enclosing footwear. F.%antples of inappropriate footwear are clogs, flip flops, and sandals.
- Place the equipment on level ground, not less than 6 ft (IS m) from any structure or obstruction such as a fence, garage, house, overhanging branches, laundry lines, or electrical wires
- Do not install home playground equipment over concrete, asphalt, packed earth, grass, carpet, or any other hard surface. A fall onto a hard surface can result in serious injury or death to the equipment user
- To present serious injury, cautionary statements shall be included which warn that children must not use the equipment until properly installs.
Detail view

Part List:WF 293356

Hardwere List :WF293356

ASSEMBLY TOOLS REQUIRED ( NOT INCLUDED )
PLEASE BE CAREFUL DO NOT DAMAGE THE HOLE POSITION WHEN YOU USE POWER TOOLS !
Part List : WF293357

STEP 1:
Following below illustration Assembly FRAME #1. Using hardware #1 & #11 connect A and B Front right-left leg with H and I Left horizontal (lower-upper) And using hardware #1 & #11 connect C and D Back right-left leg with H and I Left horizontal (lower-upper) to complete FRAME #1 F/B.
NOTE: In this step, DO NOT tighten any bolt until you connect all part together
STEP 2:Following below illustration Assembly FRAME #2. Using hardware #1, #4 & #6 connect FRAME #2F/B (A and C Front-back right leg) with L Right side rail And using hardware #1, #4 & #6 connect FRAME #2F/B (8 and D Front-back left leg) with M Left side rail and C Back horizontal to complete FRAME #2.
ATTENTION: PLEASE DON’T TIGHTEN ALL BOLTS IN THIS STEP, JUST TIGHTEN 80%

NOTE: In this step, DO NOT tighten any bolt until you connect all part together
STEP 3:Following below illustration Assembly FRAME #3. Using hardware #8 connect S Middle vertical with M Left side rail and Q Back horizontal to complete FRAME #3.![]()
NOTE: In this step, DO NOT tighten any bolt until you connect all part together
STEP 4: Following below illustration Assembly FRAME #4. Using hardware #1, #10 connect FRAME #3 (A Front right leg) with P Short horizontal to complete FRAME #4.![]()

NOTE: In this step, DO NOT tighten any bolt until you connect all part together
STEP 5: Following below illustration Assembly FRAME #5. Using hardware #7 connect U Left stairs vertical with L Right side rail and P Short horizontal to complete FRAME #5.
NOTE: In this step, DO NOT tighten any bolt until you connect all part together
STEP 6: Following below illustration Assembly FRAME #6. Using hardware #1 & #9 connect U Left stairs vertical with W Stairs support bar And using hardware #1 & #19 connect G Corner leg with W Stairs support bar to complete FRAME #6.![]()
STEP 7: Following below illustration Assembly FRAME #7. Using hardware #10 connect Y and AA Cap of L bed (front-back left) with CC Top back horizontal And using hardware #10 connect X Cap of L bed (front-back right) with CC Top back horizontal And using hardware #10 conned X Cap of L bed (front-back right) with BB Top front horizontal to complete FRAME #7.
NOTE: In this step. DO NOT tighten any bolt until you connect all part together
STEP 8: Following below illustration Assembly FRAME #8. Using hardware #10 connect FRAME #6 (A and C Front-back right leg) with BB Top front horizontal And using hardware #10 conned FRAME #6 (B and D Front-back left leg) with CC Top back horizontal to complete FRAME #8.
NOTE: In this stop. DO NOT tighten any bolt until you conned all pan together
STEP 9: eelaw illesumes Assembly FRAME Et Use hardware el & e10 & ae cornea GI and C and coined GI and G to catmints FRAME 09.
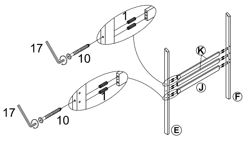
STEP 10: Follcmitg below ilkstration Assembly FRAME 010. Using hardware St &PIO canned E and F Right front-back leg with J and K Right notate power-upper) to complete FRAME #10.![]()
NOTE: In mis step. DO NOT lighten any boll unal you connect all pert together
STEP 11: Fdlowing below ilustration Assembly FRAME #11. Using hardware #1. #53 #6 connect C Back right leg with and F Right beck leg with 0 Back side rail and 0 Back horizontal And using hardware #1, #56 06 conned E Right from leg with N Front side rail And using hardware #1. CS 96 connect]. Right side ral with N Front side rail to complete FRAME at 1.![]()
STEP 12: Following below illustration Assembly FRAME 012. Using hardware 08 connect S Middle vertical with 0 Back side rat and 0 BOCK horizontal . Using hardware SS connect 0 and N to complete FRAME #12
NOTE: In this step, DO NOT tighten any bolt until you connect all pert together
STEP 13: Following below illostration Assent:1y FRAME 013. Using hardware MI &Sig connect 6 Corner lag with W Stairs support bar Md using hardware Std reconnect V Right stars vertical with W Stairs support bar lo complete FRAME #13.
NOTE: In this step. DO NOT tighten any bolt Mil you connect all part together
STEP 14: Folloteng below illusirmion Assembly FRAME II14. Using hardware Sig connect N Front &de oil with G Comer leg Md hardware At2 & #7 connect T Right vertical with N Front side rail to complete FRAME #14.
STEP 15: Following below illustraGon Assembly FRAME #15. Using hardware #1 connect T Right vertical wkh R Long horizontal Md using ha-dware d9 connect N Front side rail and R Long horizontal wkh V RigM Oaks vertical So complain FRAME #15.
NOTE: In this stop, DO NOT tighten any boll until you connect all pan kneeler
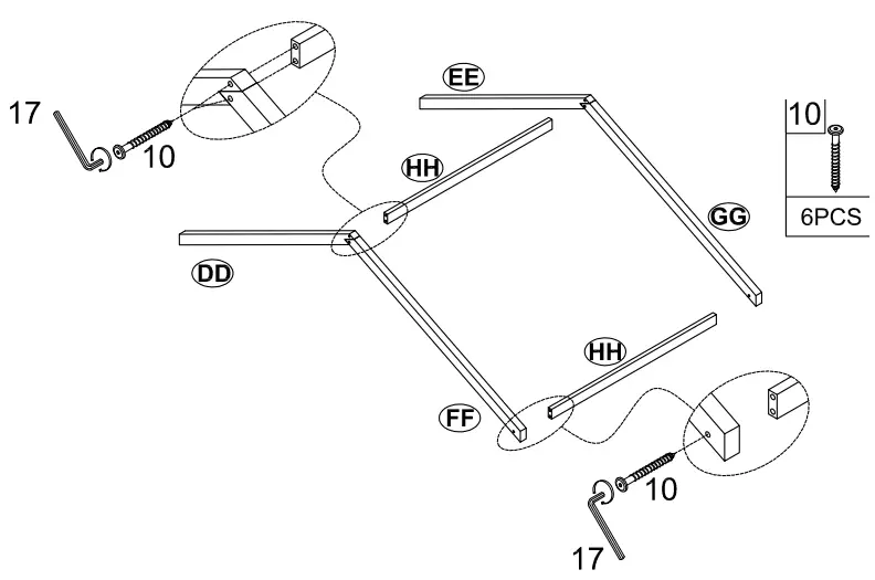
STEP 16: Followng below RhaetianAssembly FRAME /116. Using hardware 010connect FF end Ott Cap of bed (front-back right) with *I Top short horizontal Md using hardware *10 connect DD and EE Capri bed (frca-beck left) with HH Top sheet halzontal to complete FRAME #16.
NOTE: In this step. DO NOT tighten any bop until you connect all pail together
STEP 17: Following below illustration Assembly FRAME N17. Using hardware #9 connect BB Top front horizontal with OD Cap of bed &Ora left/ Md using hardware lag connect EE Cap of bed (back left) with a Cap of L bed (back right) Md using hardware 410 armed E and F Right fronl.back leg with HH Top shod horizontal 10 complMe FRAME N17.
NOTE: In this step. DO NOT tighten any bolt until you conned all part together
STEP 18: FollowN below illustration Assembly FrtAkIE Wit Using hardware WI & W9 connea II end JJ Left-right slide vertical with KK Slide swoon (upper) and LL Side supped (lower) and insert inside MM Slide panel to carpets FRAME #18.
NOTE: In this step. DO NOT tighten any bolt until you cornea all past 1090ther
STEP 19: FoDowel° below illustration Assemdy FRAME #19. Using hardwant Haconnect 112 Kook wills FRAME #17 (II and JJ Laltinght slide vertical) So complete FRAME #19.
STEP 20: Following balmy illustration Assent:1y FRAME #20. Using hardwere #13 connect FRAME #18 (r$12 Hook) WO FRAME #16 (N Front side rail) to complete FRAME 020.
NOTE: In this step. DO NOT tighten any bolt until you connect all part Sweden
STEP 21: Folkavhg below illsitretion Assembly FRAME X21. Using hardware /114 comma to screw all Wood slats (15) with FRAME X19 on all Me Rod. lo rumples FRAME *21.
WARNING!: Please completed screw NI the slats In to side rails Were ushg.
NOTE: In this step. DO NOT lighten any bolt until you connect all pen together
COMPLETED

















