OVE 15VVA-CHUR30-007EI Churchill 30 Inch Single Sink

Overview

DIMENSIONS

PART LIST


TOOLS REQUIRED (not supplied)

INSTALLATION


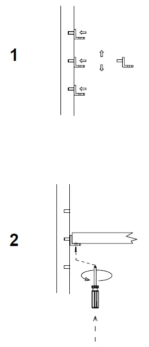
SHELF
REMOVE
INSTALL
MAINTENANCE & CONSUMER RESPONSIBILITIES
Stone countertops (Granite, Marble, etc.) are surprisingly resilient to stains and scratches. However, as a preventative measure, any spills on the stone surfaces should be wiped up within a reasonable amount of time. Don’t let the liquid sit on the stone overnight. Stones are most prone to staining by oil and acid, so be sure to blot these spills up as soon as they happen. Follow up by cleaning the stone with mild non-abrasive soap and water.
In bathrooms specifically, stone tends to attract soap scum, just like man-made tile. Rinse vanity top with clean, hot water frequently. The use of sealers is also a powerful preventative measure. Your stone was sealed at the factory, but reapplication is necessary over time. How often is determined by the quality of the sealer used, and the frequency of use. We recommend using a penetrating non-toxic sealer for bath areas, but a food-safe sealer is is typically not necessary. If stains and scratches do occur, there are many things you can do as a consumer to remove them. Remove oil-based stains with acetone, mineral spirits, or ammonia. Organic stains like coffee, tea, or juice can be removed with hydrogen peroxide, and mixed with a few drops of ammonia.
Water spots or rings are the most common problem with bath vanities and are caused by minerals left behind when water evaporates. These can be removed by buffing the spots gently with 00 gauge steel wool. Likewise, small nicks and scratches can often be removed the same way. Larger scratches, chips, and resilient stains may require professional help. Please contact your local stonemason for details.
Remember the following list of DOs and DON’Ts:
- DO use preventative cleaning measures to keep your stone pristine.
- DO use sealers, applied according to the product-specific directions.
- DO blot spills quickly, and wash with mild soap and warm water.
- DON’T use harsh bathroom cleaners or grout cleaners on any natural stone.
- DON’T worry if you get a significant stain or scratch that your stone investment is ruined. Virtually anything can be fixed with professional help.
WARRANTY NOT VALID IN MEXICO
LIMITED 1-YEAR WARRANTY
This warranty applies to the DISTRIBUTOR vanities installed for commercial and residential use. The DISTRIBUTOR warrants that, when installed in accordance with the Recognized Plumbing Industry Practice, the vanities are free of manufacturing defects for a period of one (1) year from the date of purchase. We guarantee your satisfaction with each vanity. Should any vanity not meet your satisfaction due to a visual defect, simply return it to your retailer with the original packaging, PRIOR TO INSTALLATION, for a replacement.
This warranty applies only to the original purchaser and installation site and is not transferable.
INFORMATION ABOUT YOUR WARRANTY COVERAGE
This warranty does not cover damages or failure attributable to:
- Vanities installed with obvious visual defects.
- Defects or damages to vanities caused by installation that does not comply strictly with the instructions set forth in the DISTRIBUTOR’s installation manual.
- Defects or damage to vanities caused by severe accidents (e.g., fire, impacts).
- Damage caused by flooding or standing water from leaking pipes, faucets, household appliances, etc; up to and including flooding and any damage caused by acts of God.
FOR WARRANTY SERVICE
- To make a claim, contact the DISTRIBUTOR no later than 30 days following the date of discovery or detection of the defect.
- Proof of purchase, such as the bill of sale is mandatory when requesting warranty service.
- The DISTRIBUTOR reserves the right to designate a representative to inspect the vanity for analysis.
- No unauthorized person, installer, dealer, agent or employee of the DISTRIBUTOR or any representative is entitled to assume any liability on behalf of the DISTRIBUTOR relating to the sale of this product or has the authority to increase or alter the obligations or limitations of this warranty.
THE SOLE REMEDY PROVIDED BY THIS WARRANTY IS THE REPAIR OR REPLACEMENT OF DEFECTIVE PRODUCTS. THIS WARRANTY DOES NOT COVER THE COST OF REMOVAL OR INSTALLATION OF NEW PRODUCTS. THE WARRANTY WILL BE VOID IF THIS ITEM IS INSTALLED WITH OBVIOUS VISUAL DEFECTS.
Questions, problems, need help?
Call our customer service department at 1-866-839-2888, 8 a.m. – 5 p.m., EST, Monday – Friday.
Questions, problèmes ou besoin d’aide?
Contactez notre service à la clientèle au 1-866-839-2888, du lundi au vendredi de 8h00 à 17h00 HNE.
Preguntas, problemas o necesita ayuda?
Llame a nuestro departamento de servicio al cliente al 1-866-839-2888, 8 am. – 5 pm., HDE, Lunes a Viernes. [email protected]. www.ovedecors.com.


















