Vornado VFAN Air Circulator Fan Instruction Manual
READ AND SAVE THESE INSTRUCTIONS
IMPORTANT SAFETY INSTRUCTIONS
This owner’s guide and any additional inserts are considered part of the product. They contain important information about safety, use and disposal. Before using the product, please familiarize yourself with all operating and safety instructions. Please keep all documents for future reference and pass these documents on, together with the product, to any future owner. See www.vornado.com/circulators-manuals to view, download and print the most current version of these instructions.
INTENDED USE: This product is intended to circulate the air in indoor living spaces only in the United States and Canada. This product is not intended for commercial or industrial use. The manufacturer assumes no responsibility for damage or injury due to unauthorized use or product modification. Failure to follow these directions will void the product warranty.
WARNING: Risk to Children and Impaired Persons
Supervision is required during the installation, operation, cleaning and maintenance of this product by children 12 years of age and younger and anyone with reduced physical, sensory or mental capabilities. Children should be supervised to ensure that they do not play with the appliance, its parts and packaging material.
INSTALLATION WARNING—to reduce risk of fire, electrical shock and injury to persons, observe the following:
- Place this product away from curtains, draperies, tablecloths and other fabrics, since they may be drawn into the product, damage the motor and/or cause a fire.
- No part of this product (the appliance, power cord, plug, packaging, etc.) should be placed near furnaces, fireplaces, stoves or other high temperature heat sources. Do not use this product in a window, on an uneven or unstable surface, or near water.
- The appliance, power supply, power cord and plug cannot come into contact with water. Do not use this product on wet surfaces. Do not use this product in a bathtub or shower or position product where it may fall into a bathtub, laundry, swimming pool or other water container. Do not use this product outdoors or expose it to weather or elements.
- Do not run cord under carpeting. Do not cover cord with throw rugs, runners, or similar coverings. Do not route cord under furniture or appliances. Arrange cord away from traffic area and where it will not be tripped over. The cord should not hang over edges of counters or be placed where it can be crimped or closed in doors. Place appliance near an easily accessible outlet so the product can be unplugged quickly during an emergency.
SAFE USE WARNING—To reduce risk of fire, electrical shock and injury to persons, observe the following:
- WARNING: To reduce likelihood of circuit overload, fire and electric shock, do not operate with a solid state speed device, such as a dimmer control switch.
- Do not operate any fan with a damaged cord or plug. Discard fan or return to an authorized service facility for examination and/or repair.
- Do not operate unit if the unit has been dropped or damaged. Do not use this product if it has a damaged power cord or plug. To avoid risk of electrical shock, do not attempt to repair or replace parts. Only original replacement parts may be used. If the power cord is damaged, it must be replaced by the manufacturer, its service agent, or similarly qualified persons in order to avoid a hazard. Contact Vornado Consumer Service at 1-800-234-0604 (phone) or [email protected] (email) for further instructions about replacement and repair.
- Before plugging power cord into electrical outlet, be sure that all electrical information on the rating label, including voltage, is compatible with your outlet’s power supply.
- Do not sit or stand on product.
- Never use the cord as a handle or otherwise yank, strain or stretch the power cord.
- While the product is plugged in, do not insert or allow foreign objects to enter any input or output opening as this may cause risk of electric shock or fire, or damage the product.
- A loose fit between wall outlet (receptacle) and plug may cause overheating and distortion of the plug. Discontinue use of the product in this outlet. Contact a qualified electrician to replace loose or worn outlets.
- This appliance has a polarized plug (one blade is wider than the other.)
To reduce the risk of electric shock, this plug is intended to fit in a polarized outlet only one way. If the plug does not fit fully in the outlet, reverse the plug. If it still does not fit, contact a qualified electrician. Do not attempt to defeat this safety feature. - Before moving, repositioning, servicing, cleaning and when not in use, use the product controls to turn off the power and then unplug. To disconnect from outlet, grasp and pull only the plug. Also, power off and unplug if the product will be left unattended for an extended period of time or during electrical storms.
SERVICING WARNING—To reduce risk of fire, electrical shock and injury to persons, observe the following:
- Clean your product regularly, only as is instructed in this manual. Prior to cleaning, turn off the power on your product and unplug. Do not use gasoline, thinners, solvents, ammonias or other chemicals for cleaning.
Refer to the CLEANING instructions provided. - Do not open appliance housing while product is plugged in. To avoid risk of shock, all service and/or repairs must be done by a Vornado Authorized Service Center.
- This product employs overload protection (fuse). A blown fuse indicates an overload or short-circuit situation. If the fuse blows, unplug the product from the outlet. Replace the fuse as per the user servicing instructions (follow product marking for proper fuse rating) and check the product. If the replacement fuse blows, a short-circuit may be present and the product should be discarded or returned to an authorized service facility for examination and/or repair.
USER SERVICING INSTRUCTIONS
- Using the product controls, turn off the appliance.
- Grasp the plug (not the cord) and disconnect from the outlet.
- Risk of Fire. Replace fuse only with 2.5 Amp, 125 Volt fuse as approved by Vornado Consumer Service. For an authorized replacement fuse, please contact Vornado Consumer Service.
- Once the replacement is received, use a small flat-head screwdriver to slide open the fuse cover (located on the plug) (Fig. A).
- Remove fuse by using the screwdriver to gently lift each end of the fuse (Fig. B).
- Install the replacement fuse by using the screwdriver to gently push each metal end of the fuse into the receptacle one at a time. Do not push on the center of the fuse—it is fragile and may break.
- Slide the fuse cover closed using the screwdriver. When closed, the cover should fit completely in the plug. No part of the cover should stick out (Fig. C).
- Plug your appliance into the outlet and turn the power on.
- If the replacement fuse blows, a short-circuit may be present and the product should be discarded or returned to an authorized service facility for examination and/or repair.

Risk of fire. Do not replace attachment plug. Contains a safety device (fuse, AFCI, LCDI) that should not be removed. Discard product if the attachment plug is damaged.
SAVE THESE INSTRUCTIONS
FEATURES & BENEFITS
| TWIN AIR CONES | ![]() | Inlet Guide Cones direct air to the most efficient parts of the propeller blades. |
| DEEP-PITCHED PROPELLER BLADES | ![]() | Deep-pitched propeller blades “bite” off and circulate more air. |
| VORTEX TORNADO ACTION | ![]() | Dual injector cones and powerful blades cause the air leaving to spiral – allowing it to travel farther than typical fans. |
| MULTIPLE SPEEDS | ![]() | For fully flexible performance, Vornado gives you as much or as little air as you desire. VFANJR features two speeds; VFAN, VFANSR, VFANSRP three speeds. |
| FULL ACTION PIVOT HEAD | ![]() | Direct the airflow with the touch of your fingers with the easy-to-adjust head. |
| SAFE and QUIET DESIGN | ![]() | All moving parts are enclosed for safety and silence. |
| ADJUSTABLE HEIGHT (Model VFANSRP only) | ![]() | Fully adjustable stand that adjusts from 42” to 55” in height. |
Circulate All Over the Room

A Vornado circulates all the air in the room so everyone is comfortable. Air in motion feels cooler than air that is stagnant.
By providing whole room circulation, a Vornado allows you to turn the thermostat up without sacrificing comfort.
PEDESTAL ASSEMBLY & ADJUSTMENT
MODEL VFANSRP (VFAN SR PEDESTAL) ONLY — HEX WRENCH REQUIRED (INCLUDED) ![]()
WARNING: The power cord is pre-threaded through upper and lower poles. To avoid damaging the power cord, take care when removing product from box packaging.

For quick assembly, follow these steps:
- Place carton on its side on carpeted or other soft surface and gently slide circulator and all packaging components out. Remove all packaging and set aside.

- Place circulator head face down on soft surface. Align circulator head, upper pole and lower pole. Make sure cord is not entangled and is able to move freely within poles.

- Slide lower pole onto upper pole. Using provided hex wrench, use counterclockwise rotations to remove set screw from collet. Slide collet onto lower pole until it stops. Check to make sure holes in collet and pole align. Replace set screw and tighten clockwise with hex wrench.
To avoid damage to product, be sure set screw is fully aligned and engaged with hole in lower pole.
- Adjust to desired pole length and rotate collet thumb screw clockwise to secure two poles together.

- Insert top of upper pole into recess on underside of yoke cap. Use hex wrench to tighten set screw on back side of yoke cap.

- With circulator still resting on soft surface, insert lower pole into recess on top of base. From underside of base, fully tighten thumb screw to secure.

- With one hand supporting circulator head and one hand on pole, lift VFANSRP (VFAN SR Pedestal) upright.

To adjust height of circulator:
Note: Before adjusting height, check that power cord is not tangled and is able to move freely.
- Support circulator head with one hand. Use other hand to loosen thumb screw.
- Adjust pole to desired height and secure into position by fastening thumb screw.
Note: After adjusting height, ensure that thumb screw is fully tightened to ensure circulator head does not fall.
CLEANING
Because your Air Circulator moves a substantial amount of air, it will need regular cleaning. To avoid risk of fire, electrical shock, or injury to persons, unplug the unit before any cleaning activity
The motor is permanently lubricated and requires no oiling.

To clean motor cap and inlet ribs: Use a common household vacuum. Do not use water to clean these parts of the Air Circulator.
To clean grille: Remove grille (See GRILLE REMOVAL instructions) and dust or wash with a mild dishwashing soap. Do not place grille in the dishwasher. The excessive heat can remove the plating.

To clean blade: Wipe with a damp cloth. If your Air Circulator is used in a greasy environment, such as a kitchen, mild soap or a common household cleaner may be necessary. Do not use solvents.
To clean base: Wipe with a damp cloth.
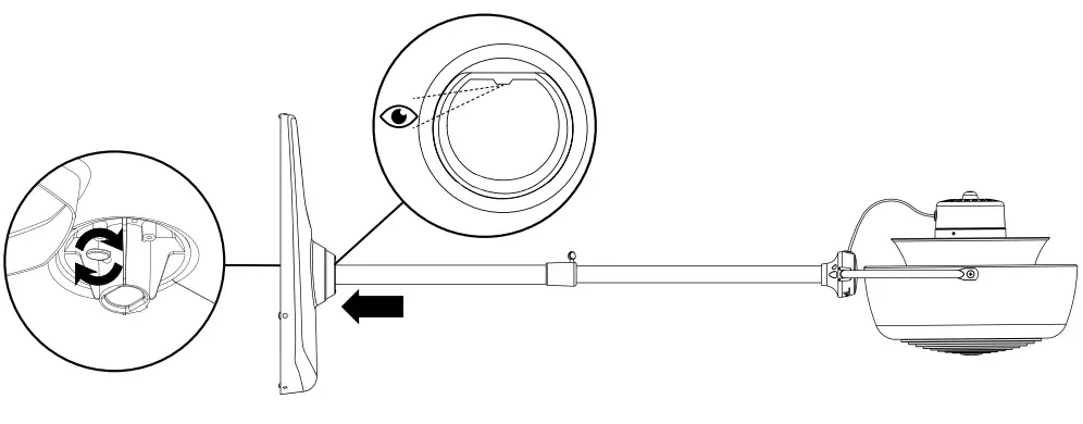
GRILLE REMOVAL
FOR ALL VFAN MODELS Screwdriver required. ![]()
WARNING: To reduce the risk of electrical shock and injury to persons, unplug the circulator before removing grille.
Tip: To prevent scratching, gently cover the tip of a flat screwdriver with a soft cloth.
Place flat screwdriver against the angled section of the grille support tab, (as shown) and press outward to allow the grille wire to be released from the support tab. Repeat on second and third grille support tab. To reinstall, relocate grille wire ends into the support tabs, use the flat screwdriver to flex back the support tabs to allow grille to snap into place. Be sure all three grille wire ends are engaged.
BLADE REMOVAL
FOR VFANJR MODELS Screwdriver required. ![]()
WARNING: To reduce the risk of electrical shock and injury to persons, unplug the circulator before removing blade.
It is possible to remove the blade should something accidentally get wrapped around the motor shaft.
VFAN JR: Remove the Blade Cap by wedging a cloth wrapped screwdriver under the Blade Cap. Next, remove the Nut by rotating clockwise and then remove the Washer. Pull the fan blade straight out from the shaft (Fig. 1). When replacing, the Blade can only go on the shaft one way. Push the Blade all the way on the shaft until it bottoms out. Do not use a hammer as this could result in bearing damage. Replace the Washer, the Nut, and then just press the Blade Cap in place to secure.
VFAN, VFAN SR, VFAN SR Pedestal:
Unscrew the Blade Cap clockwise (Fig. 2)Then pull the blade straight out from the shaft (Fig. 3). When replacing, the blade can only go on the shaft one way. Push the blade all the way on the shaft until it bottoms out. Do not use a hammer as this could result in bearing damage. Replace the Blade Cap.
TROUBLESHOOTING
| Problem | Possible Cause and Solution |
| UNIT FAILS TO POWER ON | Unit is not plugged in. Plug Power Cord into electrical outlet. Ensure unit fan speed setting is selected. Plug fuse has blown. Replace fuse. See USER SERVICING INSTRUCTIONS. Unit is damaged or in need of repair. Cease usage and unplug. Contact Consumer Service for assistance. The outlet is worn or damaged.Try another outlet or contact a qualified electrician. |
| AIRFLOW IS WEAK OR SLOW | Unit set to a low speed setting. Adjust to a higher speed setting. Airflow is blocked. Remove obstruction. Adjust direction of airflow towards the user. |
| GFCI HAS TRIPPED | Under certain conditions, it is possible for a reset GFCI (Ground Fault Circuit Interrupter) outlet to trip when the user is changing speeds on a Vornado circulator. In this event, change to an outlet that is not connected to a GFCI device. It could also indicate a weak or defective GFCI outlet. Contact a qualified electrician to check the GFCI outlet. |
WARRANTY
5 YEAR WARRANTY VFAN FAMILY
Vornado Air LLC (“Vornado”) warrants to the original consumer or purchaser this Vornado® VFAN (“Product”) is free from defects in material or workmanship for a period of five (5) years from the date of purchase. If any such defect is discovered within the warranty period, Vornado, at its discretion, will repair or replace the Product at no cost.
FOR WARRANTY OR REPAIR SERVICE:
Call 1-800-234-0604 or email [email protected] to obtain a Return Authorization (“RA”) form. Please have or include your Product’s model number and serial number, as well as your name, address, city, state, Zip code and phone number when contacting Vornado for warranty service. To file a contactless warranty claim, visit vornado.com/contact-us.
AFTER RECEIVING THE RA FORM, SHIP YOUR PRODUCT TO:
Vornado Air LLC Attn: Warranty & Repair 415 East 13th Street, Andover, KS 67002. For your convenience, please have your model number and serial number when contacting Vornado with service inquiries. To ensure proper handling, packages must be clearly marked with the RA number. Packages not clearly marked with the RA number may be refused at the receiving dock.
Please allow 1-2 weeks for repair and return of your Product after the Product is received.
Repairs not covered by the warranty or outside the warranty period will require a fee to cover the cost of materials, labor, handling and shipping.
This warranty does not apply to defects resulting from abuse of the Product, modification, alteration, mishandling, improper maintenance, commercial use or repair or service of the Product by anyone other than Vornado; damages which occur in shipment or are attributed to acts of God. Improper product use, which includes using an external device that alters or converts the voltage or frequency of electricity, or shipping a Vornado product to a country not intended for use will void all warranties. Any unauthorized product modification, repair by unauthorized repair center or use of non-approved replacement parts is not recommended and any consequences will not be covered by support services or product warranties. The product warranty will be honored only on models that are being used in the country intended. REPAIR OR REPLACEMENT AS PROVIDED UNDER THIS WARRANTY IS THE EXCLUSIVE REMEDY OF THE CONSUMER. VORNADO SHALL NOT BE LIABLE FOR ANY INCIDENTAL OR CONSEQUENTIAL DAMAGES FOR BREACH OF ANY EXPRESS OR IMPLIED WARRANTY ON THIS PRODUCT. EXCEPT TO THE EXTENT PROHIBITED BY APPLICABLE LAW, ANY IMPLIED WARRANTY OF MERCHANTABILITY OR FITNESS FOR A PARTICULAR PURPOSE ON THIS PRODUCT IS LIMITED IN DURATION TO THE DURATION OF THIS WARRANTY. Some states do not allow the exclusion or limitation of incidental or consequential damages, or allow limitations on how long an implied warranty lasts, so the above limitations or exclusions may not apply to you. This warranty gives you specific legal rights, and you may have other rights that vary from state to state. The manufacturer assumes no responsibility for damage or injury caused by failure to follow these instructions, improper product use or unauthorized product modifications. Any such actions will invalidate the product warranty.
All company names and product names are trademarks of their respective owners. ©All rights reserved. All technical information, data and instructions for the installation, connection and operation contained in these instructions for use correspond to the latest available information at time of printing. The contents of this manual may differ slightly from the actual product. Observe any additional supplements.
Vornado Air, LLC
415 East 13th Street, Andover, Kansas 67002
800.234.0604 | vornado.com



































