CONKER NS12 Fully Rugged Windows Tablet Instructions
Device Specifications
| OS | Windows 10 Pro or LTSB | Audio | Waterproof, built-in microphone and speaker |
| CPU | Intel Cherrytrail 28350 For NS12.M3: Intel Core M3-7Y30 | Display | 12.2” IPS Resolution 1920 x 1200 |
| IP Rating | IP65 | Touch | Capacitive Multi-touch with toughened glass |
| Drop Test | 1m | Dimensions/ Weight | 320 x 216 x 23 mm/ 1.5kg |
| Battery | 12,600 mAh For NS12.M3: 6,500 mAh + 1,000 mAh hot swappable battery | Camera | 5.0 MP rear camera with flash 2.0 MP front camera |
| Wireless Connectivity | Wi-Fi: 802.11 a/b/g/n Dual band, supports WI-FI hotspot Bluetooth: 4.0 LE/ 4.2 LE (NS12.M3) 3G GPS: uBlox NFC (optional): 13.56MHz Tethering and casting | Ports | USB: 3 USB ports, 1 Micro USB port Micro SD: up to 64GB SIM: Micro SIM Dc-in 5V/3A For NS12.M3: 12V/4A HDMI: Mini Other: RJ45 ethernet port, 2 COM ports Docking: 4 pin pogo |
| Memory | 4GB memory 64GB storage For NS12.M3: 4GB memory 128GB storage | Other Features | Optional 2D barcode scanner |
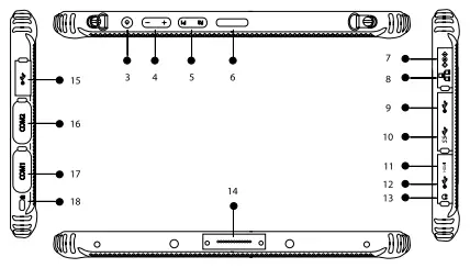
HOW TO USE YOUR NS12 RUGGED DEVICE


- Front camera
- Light sensor/ notification light
- Power
- Volume control
- Programable ****
- ****
- DC in
- RJ45
- USB 2.0
- USB 2.0 or USB 3.0 (M3 only)
- Mini HDMI
- Micro USB or USB-C (M3 version)
- Audio jack
- Docking Port
- USB 2.0
- 9 pin Serial Port
- 9 pin Serial Port
- Lanyard Port
- Barcode scanning window
- Back camera
- Barcode trigger
- Battery Lock
INSTALLING SIM AND MEMORY CARD
Power off the phone before changing the SIM or Memory Card
Always use the right size of SIM card

The battery is secured in place by a sliding lock as shown below. Slide it to the left and release the battery as shown in the following diagrams

Now re-install the battery and make sure the sliding lock is secured in place


You have now reached the SIM and SD card slots. Insert the SIM and memory cards in the respective holders Please take care to observe the correct orientation of the SIM card as per the picture below.

GET IN TOUCH

To contact Conker Support:
01279 295830
Conker
Calf Pens
Hatfield Park Farm
Takeley
CM22 6NG
CE Marking and European Economic Area

Tablet Technologies hereby declares that this equipment is in compliance with Directive 2011/65/EU and 1999/5/EC or 2014/53/EU. The following standards have been applied and tested. Conformity is limited to the essential requirements of the R&TTE.
For your safety
To reduce the potential risk of injury and or damage to equipment or property, always observe the following safety precautions.
| Do not attempt to repair or modify the product as this could cause harm and will void any warranty. |
| Do not expose your skin to the product or AC adaptor when using the product for prolonged periods. |
| Do not puncture the product or battery. |
| Use only the specified battery (supplied). |
| Use only the specified AC adaptor (supplied). |
| Ensure all port and interface covers are closed before exposing the product directly to water or elevated levels of moisture or dust. |
| Packaging and accessories are choking hazards and should be kept out of reach of children. |
| Do not operate the product while driving. |
| Do not expose the AC Adaptor to water and do not use Adaptor when faulty. |
| Prolonged use of headphones can lead to a loss of hearing. |
| Do not operate the product if it shows any visible signs of damage. |
| To prevent injury or harm, avoid looking directly at the flash or where applicable, the laser barcode scanner. |
| Do not expose the product to extreme temperatures for a prolonged period. Do not expose the product directly to your skin in extreme temperature environments. |
Battery
| The battery is for use solely with the specified product. Do not use it with any other products. |
| Do not use the battery if it becomes noticeably damaged or deformed. |
| Do not crush, bend, deform, puncture, shred, throw, or apply high pressure to the battery. |
| Only charge the battery with the supplied charger or cradle. |
| Do not subject the battery to an open flame or expose it to excessive heat. |
| Contents can combust under pressure. |
| If the electrolyte from the battery comes into contact with the eyes, skin, or clothing, rinse thoroughly with cold water and seek medical advice. |
Battery Information
![]()
CAUTION. Use only approved batteries. Risk of explosion if battery is charged with an incompatible charger, exposed to heat >60C or replaced by an incorrect type.

European Battery Directive 2006/66/EC
Dispose of batteries separately and responsibly. All waste batteries are classified as hazardous waste and should be disposed of at a battery recycling centre.
Our rechargeable battery packs are designed and constructed to the highest standards within the industry. However, there are limitations to how long a battery can operate or be stored before needing replacement. Many factors affect the actual life cycle of a battery pack, such as heat, cold, harsh environmental conditions and severe drops. Batteries are considered chemical products. As such, battery performance will deteriorate over time if stored for a long period of time without being used. When batteries are stored over six (6) months, some irreversible deterioration in overall battery quality may occur. Store batteries at half of full charge in a dry, cool place, removed from the equipment to prevent loss of capacity, rusting of metallic parts and electrolyte leakage. When storing batteries for one year or longer, the charge level should be verified at least once a year and charged to half of full charge.
Replace the battery when a significant loss of run time is detected. Standard warranty period for all batteries is one year from order fulfilment, regardless if included as part of a mobile computer with a longer warranty duration or ongoing maintenance contract. The cycle life of batteries will vary according to the charge and discharge conditions, the temperature and other usage conditions. When used in accordance with the IEC charge and discharge specifications the typical cycle life of a battery is between 300 and 400 cycles at room temperature. Individual results may vary.
Lithium batteries do not suffer from “battery memory” therefore you do not need to fully charge to 100% or fully discharge to 0%. Complete discharge of batteries should always be avoided. Shallow discharge is preferable, i.e. recharge at 20% if possible.
Battery Safety Guidelines
- The area in which the units are charged should be clear of debris and combustible materials or chemicals.
- Improper battery use may result in a fire, explosion, or other hazard.
- To charge the mobile device battery, the battery and charger temperatures must be between 0°C and +40°C (+32°F to +104°F).
- Do not use incompatible batteries and chargers. Use of an incompatible battery or charger may present a risk of fire, explosion, leakage, or other hazard. If you have any questions about the compatibility of a battery or a charger, contact Tablet Technologies support.
- For devices that utilize a USB port as a charging source, the device shall only be connected to products that bear the USB-IF logo or have completed the USB-IF compliance programme.
- Do not disassemble or open, crush, bend or deform, puncture, or shred.
- Severe impact from dropping any battery-operated device on a hard surface could cause the battery to overheat.
- Do not short circuit a battery or allow metallic or conductive objects to contact the battery terminals.
- Do not modify or remanufacture, attempt to insert foreign objects into the battery, immerse or expose to water or other liquids, or expose to fire, explosion, or other hazard.
- Do not leave or store the equipment in or near areas that might get very hot, such as in a parked vehicle or near a radiator or other heat source.
- Do not place battery into a microwave oven or dryer.
- Battery usage by children should be supervised.
- Please follow local regulations to promptly dispose of used re-chargeable batteries.
- Do not dispose of batteries in fire.
- Seek medical advice immediately if a battery has been swallowed.
- In the event of a battery leak, do not allow the liquid to come in contact with the skin or eyes. If contact has been made, wash the affected area with large amounts of water and seek medical advice immediately.
- If you suspect damage to your equipment or battery, contact Tablet Technologies support to arrange for inspection.

















