CONAIR TS32LHT Ladder Kart Instruction Manual
to use as a hand truck
- Unfold the handcart.

- Flip down the platform.

- Fold back the ladder

to use as a stepladder
Simply push down the top step and the ladder will slide open.
to stow the LadderKart
Pull out and lift the red handle on the rear edge of the top step to fold the ladder.
The LadderKart is ready to be stowed now.
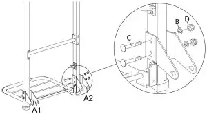
assembly procedures for the wheels and brackets
- Open the LadderKart

- Flip down the platform. Align the brackets as shown with the angle down. Nuts and washers are on the outside, bolts are on the inside.

- Mount the wheel to the bracket. Nuts are on the outside, bolts are on the inside.

- To close the LadderKart, pull out and lift the red handle on the rear edge of the top step to fold the ladder.


Service Center/Service Department, East Windsor, NJ 08520/Glendale, AZ 85307
www.conair.com
Customer Service: 1-800-326-6247
Travel Smart® is a trademark of Conair Corporation
Travel Smart, a division of Conair Corporation
©2012 Conair Corporation, East Windsor, NJ 08520 / Glendale, AZ 85307 12FZ132520


























