makita DHP484 Cordless Hammer Driver Drill

SPECIFICATIONS
| Model: | DHP484 | |
| Drilling capacities | Masonry | 13 mm |
| Steel | 13 mm | |
| Wood | 38 mm | |
| Fastening capacities | Wood screw | 10 mm x 90 mm |
| Machine screw | M6 | |
| No load speed | High (2) | 0 – 2,000 min-1 |
| Low (1) | 0 – 500 min-1 | |
| Blows per minute | High (2) | 0 – 30,000 min-1 |
| Low (1) | 0 – 7,500 min-1 | |
| Overall length | 182 mm | |
| Rated voltage | D.C. 18 V | |
| Net weight | 1.6 – 1.9 kg | |
- Due to our continuing program of research and development, the specifications herein are subject to change without notice.
- Specifications may differ from country to country.
- The weight may differ depending on the attachment(s), including the battery cartridge. The lightest and heavi-est combination, according to EPTA-Procedure 01/2014, are shown in the table.
Applicable battery cartridge and charger
| Battery cartridge | BL1815N / BL1820B / BL1830B / BL1840B / BL1850B / BL1860B |
| Charger | DC18RC / DC18RD / DC18RE / DC18SD / DC18SE / DC18SF / DC18SH / DC18WC |
Some of the battery cartridges and chargers listed above may not be available depending on your region of residence.
WARNING: Only use the battery cartridges and chargers listed above. Use of any other battery cartridges and chargers may cause injury and/or fire.
Intended use
The tool is intended for impact drilling in brick, brickwork and masonry. It is also suitable for screw driving and drilling without impact in wood, metal, ceramic and plastic.
Noise
The typical A-weighted noise level determined accord-ing to EN62841-2-1:
- Sound pressure level (LpA) : 88 dB (A)
- Sound power level (LWA) : 99 dB (A)
- Uncertainty (K) : 3 dB (A)
NOTE: The declared noise emission value(s) has been measured in accordance with a standard test method and may be used for comparing one tool with another.
NOTE: The declared noise emission value(s) may also be used in a preliminary assessment of exposure.
WARNING: Wear ear protection.
WARNING: The noise emission during actual use of the power tool can differ from the declared value(s) depending on the ways in which the tool is used especially what kind of workpiece is processed.
WARNING: Be sure to identify safety mea-sures to protect the operator that are based on an estimation of exposure in the actual conditions of use (taking account of all parts of the operating cycle such as the times when the tool is switched off and when it is running idle in addition to the trigger time).
Vibration
- The vibration total value (tri-axial vector sum) deter-mined according to EN62841-2-1: Work mode: impact drilling into concrete
- Vibration emission (ah,ID) : 8.0 m/s2
- Uncertainty (K) : 1.5 m/s2
- Work mode: drilling into metal
- Vibration emission (ah,D) : 2.5 m/s2 or less Uncertainty (K) : 1.5 m/s2
- NOTE: The declared vibration total value(s) has been measured in accordance with a standard test method and may be used for comparing one tool with another.
- NOTE: The declared vibration total value(s) may also be used in a preliminary assessment of exposure.
- WARNING: The vibration emission during actual use of the power tool can differ from the declared val-ue(s) depending on the ways in which the tool is used especially what kind of workpiece is processed.
- WARNING: Be sure to identify safety measures to protect the operator that are based on an estima-tion of exposure in the actual conditions of use (tak-ing account of all parts of the operating cycle such as the times when the tool is switched off and when it is running idle in addition to the trigger time).
EC Declaration of Conformity
For European countries only
The EC declaration of conformity is included as Annex A to this instruction manual.
SAFETY WARNINGS
General power tool safety warnings
WARNING: Read all safety warnings, instruc-tions, illustrations and specifications provided with this power tool. Failure to follow all instructions listed below may result in electric shock, fire and/or serious injury.
Save all warnings and instructions for future reference.
The term “power tool” in the warnings refers to your mains-operated (corded) power tool or battery-operated (cordless) power tool.
Cordless hammer driver drill safety warnings
Safety instructions for all operations
- Wear ear protectors when impact drilling. Exposure to noise can cause hearing loss.
- Hold the power tool by insulated gripping surfaces, when performing an operation where the cutting accessory or fasteners may contact hidden wiring. Cutting accessory or fasteners contacting a “live” wire may make exposed metal parts of the power tool “live” and could give the operator an electric shock.
- Always be sure you have a firm footing. Be sure no one is below when using the tool in high locations.
- Hold the tool firmly.
- Keep hands away from rotating parts.
- Do not leave the tool running. Operate the tool only when hand-held.
- Do not touch the drill bit, the workpiece or chips immediately after operation; they may be extremely hot and could burn your skin.
- Some material contains chemicals which may be toxic. Take caution to prevent dust inhala-tion and skin contact. Follow material supplier safety data.
- If the drill bit cannot be loosened even you open the jaws, use pliers to pull it out. In such a case, pulling out the drill bit by hand may result in injury by its sharp edge.
- Make sure there are no electrical cables, water pipes, gas pipes etc. that could cause a hazard if damaged by use of the tool.
Safety instructions when using long drill bits
- Never operate at higher speed than the max-imum speed rating of the drill bit. At higher speeds, the bit is likely to bend if allowed to rotate freely without contacting the workpiece, resulting in personal injury.
- Always start drilling at low speed and with the bit tip in contact with the workpiece. At higher speeds, the bit is likely to bend if allowed to rotate freely without contacting the workpiece, resulting in personal injury.
- Apply pressure only in direct line with the bit and do not apply excessive pressure. Bits can bend causing breakage or loss of control, resulting in personal injury.
SAVE THESE INSTRUCTIONS.
WARNING: DO NOT let comfort or familiarity with product (gained from repeated use) replace strict adherence to safety rules for the subject product. MISUSE or failure to follow the safety rules stated in this instruction manual may cause serious personal injury.
Important safety instructions for battery cartridge
- Before using battery cartridge, read all instruc-tions and cautionary markings on (1) battery char-ger, (2) battery, and (3) product using battery.
- Do not disassemble or tamper with the battery cartridge. It may result in a fire, excessive heat, or explosion.
- If operating time has become excessively shorter, stop operating immediately. It may result in a risk of overheating, possible burns and even an explosion.
- If electrolyte gets into your eyes, rinse them out with clear water and seek medical atten-tion right away. It may result in loss of your eyesight.
- Do not short the battery cartridge:
- Do not touch the terminals with any con-ductive material.
- Avoid storing battery cartridge in a con-tainer with other metal objects such as nails, coins, etc.
- Do not expose battery cartridge to water or rain.
A battery short can cause a large current flow, overheating, possible burns and even a breakdown.
- Do not store and use the tool and battery car-tridge in locations where the temperature may reach or exceed 50 °C (122 °F).
- Do not incinerate the battery cartridge even if it is severely damaged or is completely worn out. The battery cartridge can explode in a fire.
- Do not nail, cut, crush, throw, drop the battery cartridge, or hit against a hard object to the battery cartridge. Such conduct may result in a fire, excessive heat, or explosion.
- Do not use a damaged battery.
- The contained lithium-ion batteries are subject to the Dangerous Goods Legislation require-ments.
For commercial transports e.g. by third parties, forwarding agents, special requirement on pack-aging and labeling must be observed.
For preparation of the item being shipped, consult-ing an expert for hazardous material is required. Please also observe possibly more detailed national regulations.
Tape or mask off open contacts and pack up the battery in such a manner that it cannot move around in the packaging. - When disposing the battery cartridge, remove it from the tool and dispose of it in a safe place. Follow your local regulations relating to disposal of battery.
- Use the batteries only with the products specified by Makita. Installing the batteries to non-compliant products may result in a fire, exces-sive heat, explosion, or leak of electrolyte.
- If the tool is not used for a long period of time, the battery must be removed from the tool.
- During and after use, the battery cartridge may take on heat which can cause burns or low temperature burns. Pay attention to the han-dling of hot battery cartridges.
- Do not touch the terminal of the tool imme-diately after use as it may get hot enough to cause burns.
- Do not allow chips, dust, or soil stuck into the terminals, holes, and grooves of the battery cartridge. It may cause heating, catching fire, burst and malfunction of the tool or battery car-tridge, resulting in burns or personal injury.
- Unless the tool supports the use near
high-voltage electrical power lines, do not use the battery cartridge near high-voltage electri-cal power lines. It may result in a malfunction or breakdown of the tool or battery cartridge. - Keep the battery away from children.
SAVE THESE INSTRUCTIONS.
CAUTION: Only use genuine Makita batteries. Use of non-genuine Makita batteries, or batteries that have been altered, may result in the battery bursting causing fires, personal injury and damage. It will also void the Makita warranty for the Makita tool and charger.
Tips for maintaining maximum battery life
- Charge the battery cartridge before completely discharged. Always stop tool operation and charge the battery cartridge when you notice less tool power.
- Never recharge a fully charged battery car-tridge. Overcharging shortens the battery service life.
- Charge the battery cartridge with room tem-perature at 10 °C – 40 °C (50 °F – 104 °F). Let
hot battery cartridge cool down before charging it. - When not using the battery cartridge, remove it from the tool or the charger.
- Charge the battery cartridge if you do not use it for a long period (more than six months).
FUNCTIONAL DESCRIPTION
CAUTION: Always be sure that the tool is switched off and the battery cartridge is removed before adjusting or checking function on the tool.
Installing or removing battery cartridge
CAUTION: Always switch off the tool before installing or removing of the battery cartridge.
CAUTION: Hold the tool and the battery car-tridge firmly when installing or removing battery cartridge. Failure to hold the tool and the battery cartridge firmly may cause them to slip off your hands and result in damage to the tool and battery cartridge and a personal injury.
Fig.1: 1. Red indicator 2. Button 3. Battery cartridge

To remove the battery cartridge, slide it from the tool while sliding the button on the front of the cartridge.
To install the battery cartridge, align the tongue on the battery cartridge with the groove in the housing and slip it into place. Insert it all the way until it locks in place with a little click. If you can see the red indicator as shown in the figure, it is not locked completely.
CAUTION: Always install the battery cartridge fully until the red indicator cannot be seen. If not, it may accidentally fall out of the tool, causing injury to you or someone around you.
CAUTION: Do not install the battery cartridge forcibly. If the cartridge does not slide in easily, it is not being inserted correctly.
Indicating the remaining battery capacity
Only for battery cartridges with the indicator
Fig.2: 1. Indicator lamps 2. Check button

Press the check button on the battery cartridge to indi-cate the remaining battery capacity. The indicator lamps light up for a few seconds.

NOTE: Depending on the conditions of use and the ambient temperature, the indication may differ slightly from the actual capacity.
NOTE: The first (far left) indicator lamp will blink when the battery protection system works.
Tool / battery protection system
The tool is equipped with a tool/battery protection sys-tem. This system automatically cuts off the power to extend tool and battery life. The tool will automatically stop during operation if the tool or battery is placed under one of the following conditions:
- Overload protection
This protection works when the tool is operated in a manner that causes it to draw an abnormally high cur-rent. In this situation, turn the tool off and stop the appli-cation that caused the tool to become overloaded. Then turn the tool on to restart. - Overheat protection
This protection works when the tool or battery is over-heated. In this situation, let the tool and battery cool before turning the tool on again. - Overdischarge protection
This protection works when the remaining battery capacity gets low. In this situation, remove the battery from the tool and charge the battery.
Switch action
Fig.3: 1. Switch trigger

CAUTION: Before installing the battery car-tridge into the tool, always check to see that the switch trigger actuates properly and returns to the “OFF” position when released.
To start the tool, simply pull the switch trigger. Tool speed is increased by increasing pressure on the switch trigger. Release the switch trigger to stop.
NOTE: The tool automatically stops if you keep pull-ing the switch trigger for about 6 minutes.
Lighting up the front lamp
Fig.4: 1. Lamp

CAUTION: Do not look in the light or see the source of light directly.
Pull the switch trigger to light up the lamp. The lamp keeps on lighting while the switch trigger is being pulled. The lamp goes out approximately 10 seconds after releasing the switch trigger.
NOTE: When the tool is overheated, the tool stops automatically and the lamp starts flashing. In this case, release the switch trigger. The lamp turns off in one minute.
NOTE: Use a dry cloth to wipe the dirt off the lens of the lamp. Be careful not to scratch the lens of lamp, or it may lower the illumination.
Reversing switch action
Fig.5: 1. Reversing switch lever

CAUTION: Always check the direction of rotation before operation.
CAUTION: Use the reversing switch only after the tool comes to a complete stop. Changing the direction of rotation before the tool stops may dam-age the tool.
CAUTION: When not operating the tool, always set the reversing switch lever to the neu-tral position.
This tool has a reversing switch to change the direction of rotation. Depress the reversing switch lever from the A side for clockwise rotation or from the B side for coun-terclockwise rotation. When the reversing switch lever is in the neutral posi-tion, the switch trigger cannot be pulled.
Speed change
Fig.6: 1. Speed change lever

CAUTION: Always set the speed change lever fully to the correct position. If you operate the tool with the speed change lever positioned halfway between the “1” side and “2” side, the tool may be damaged.
CAUTION: Do not use the speed change lever while the tool is running. The tool may be damaged.
| Displayed Number | Speed | Torque | Applicable operation |
| 1 | Low | High | Heavy load- ing operation |
| 2 | High | Low | Light loading operation |
To change the speed, switch off the tool first. Push the speed change lever to display “2” for high speed or “1” for low speed but high torque. Be sure that the speed change lever is set to the correct position before operation.
If the tool speed is coming down extremely during the operation with display “2”, push the lever to display “1” and restart the operation.
Selecting the action mode
CAUTION: Always set the ring correctly to your desired mode mark. If you operate the tool with the ring positioned halfway between the mode marks, the tool may be damaged.
CAUTION: When you change the position from ” ” to other modes, it may be a little dif-ficulty to slide the action mode changing ring. In this case, switch on and run the tool for a second at the ” ” position, then stop the tool and slide the ring to your desired position.
- Fig.7: 1. Action mode changing ring 2. Adjusting
This tool has three action modes.
Drilling mode (rotation only)
Hammer drilling mode (rotation with hammering)
Screwdriving mode (rotation with clutch)
- Select one mode suitable for your work. Turn the action mode changing ring and align the mark that you selected with the arrow on the tool body.
Adjusting the fastening torque
Fig.8: 1. Action mode changing ring 2. Adjusting ring 3. Graduation 4. Arrow

The fastening torque can be adjusted in 21 levels by turning the adjusting ring. Align the graduations with the arrow on the tool body. You can get the minimum fas-tening torque at 1 and maximum torque at 21.Before actual operation, drive a trial screw into your material or a piece of duplicate material to determine which torque level is required for a particular applica-tion. The following shows the rough guide of the rela-tionship between the screw size and graduation.
| Graduation | 1 | 2 | 3 | 4 | 5 | 6 | 7 | 8 | 9 | 10 | 11 | 12 | 13 | 14 | 15 | 16 | 17 | 18 | 19 | 20 | 21 | |
| Machine screw | M4 | M5 | M6 | |||||||||||||||||||
| Wood screw | Soft wood (e.g. pine) | – | ø3.5 x 22 | ø4.1x 38 | – | |||||||||||||||||
| Hard wood (e.g. lauan) | – | ø3.5 x 22 | ø4.1x 38 | – | ||||||||||||||||||
ASSEMBLY
CAUTION: Always be sure that the tool is switched off and the battery cartridge is removed before carrying out any work on the tool.
Installing or removing driver bit/drill bit
Optional accessory
Fig.9: 1. Sleeve 2. Close 3. Open

Turn the sleeve counterclockwise to open the chuck jaws. Place the driver bit/drill bit in the chuck as far as it will go. Turn the sleeve clockwise to tighten the chuck. To remove the driver bit/drill bit, turn the sleeve counterclockwise.
Installing hook
WARNING: Use the hanging/mounting parts for their intended purposes only, e.g., hanging the tool on a tool belt between jobs or work intervals.
WARNING: Be careful not to overload the hook as too much force or irregular overburden may cause damages to the tool resulting in per-sonal injury.
CAUTION: When installing the hook, always secure it with the screw firmly. If not, the hook may come off from the tool and result in the personal injury.
CAUTION: Make sure to hang the tool securely before releasing your hold. Insufficient or unbalanced hooking may cause falling off and you may be injured.
Fig.10: 1. Groove 2. Hook 3. Screw

The hook is convenient for temporarily hanging the tool. This can be installed on either side of the tool. To install the hook, insert it into a groove in the tool housing on either side and then secure it with a screw. To remove, loosen the screw and then take it out.
Using hole
WARNING: Never use the hanging hole for unintended purpose, for instance, tethering the tool at high location. Bearing stress in a heavily loaded hole may cause damages to the hole, result-ing in injuries to you or people around or below you.
Fig.11: 1. Hanging hole
Use the hanging hole at the bottom rear of the tool to hang the tool on a wall using a hanging cord or similar strings.
Installing driver bit holder
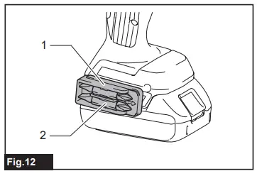
Optional accessory
Fig.12: 1. Driver bit holder 2. Driver bit

Fit the driver bit holder into the protrusion at the tool foot on either right or left side and secure it with a screw. When not using the driver bit, keep it in the driver bit holders. Driver bits 45 mm-long can be kept there.
Installing side grip (auxiliary handle)
Optional accessory
Fig.13: 1. Protrusion 2. Arm 3. Recess 4. Grip

Insert the side grip so that the protrusions on the arm fit in the recesses on the tool. Then tighten the grip by turning clockwise.
Depending the operations, you can install the side grip either right or left side of the tool.
OPERATION
CAUTION: Always insert the battery cartridge all the way until it locks in place. If you can see the red indicator on the upper side of the button, it is not locked completely. Insert it fully until the red indicator cannot be seen. If not, it may accidentally fall out of the tool, causing injury to you or someone around you.
CAUTION: When the speed comes down extremely, reduce the load or stop the tool to avoid the tool damage.
Hold the tool firmly with one hand on the grip and the other hand on the bottom of the battery cartridge to control the twisting action.
Fig.14

Screwdriving operation
CAUTION: Adjust the adjusting ring to the proper torque level for your work.
CAUTION: Make sure that the driver bit is inserted straight in the screw head, or the screw and/or driver bit may be damaged.
First, turn the action mode changing ring so that the arrow on the tool body points to the
marking. Place the point of the driver bit in the screw head and apply pressure to the tool. Start the tool slowly and then increase the speed gradually. Release the switch trigger as soon as the clutch cuts in.
NOTE: When driving wood screw, pre-drill a pilot hole 2/3 the diameter of the screw. It makes driving easier and prevents splitting of the workpiece.
Hammer drilling operation
CAUTION: There is a tremendous and sud-den twisting force exerted on the tool/drill bit at the time of hole breakthrough, when the hole becomes clogged with chips and particles, or when striking reinforcing rods embedded in the concrete.
First, turn the action mode changing ring so that the arrow on the tool body points to the marking. The adjusting ring can be aligned in any torque levels for this operation.Be sure to use a tungsten-carbide tipped drill bit. Position the drill bit at the desired location for the hole, then pull the switch trigger. Do not force the tool. Light pressure gives best results. Keep the tool in position and prevent it from slipping away from the hole.Do not apply more pressure when the hole becomes clogged with chips or particles. Instead, run the tool at an idle, then remove the drill bit partially from the hole. By repeating this several times, the hole will be cleaned out and normal drilling may be resumed.
Blow-out bulb
Optional accessory
Fig.15: 1. Blow-out bulb

After drilling the hole, use the blow-out bulb to clean the
dust out of the hole.
Drilling operation
First, turn the action mode changing ring so that the arrow points to the marking. Then proceed as follows.
Drilling in wood
When drilling in wood, the best results are obtained with wood drills equipped with a guide screw. The guide screw makes drilling easier by pulling the drill bit into the workpiece.
Drilling in metal
To prevent the drill bit from slipping when starting a hole, make an indentation with a center-punch and hammer at the point to be drilled. Place the point of the drill bit in the indentation and start drilling. Use a cutting lubricant when drilling metals. The excep-tions are iron and brass which should be drilled dry.
CAUTION: Pressing excessively on the tool will not speed up the drilling. In fact, this excessive pressure will only serve to damage the tip of your drill bit, decrease the tool performance and shorten the service life of the tool.
CAUTION: Hold the tool firmly and exert care when the drill bit begins to break through the workpiece. There is a tremendous force exerted on the tool/drill bit at the time of hole break through.
CAUTION: A stuck drill bit can be removed simply by setting the reversing switch to reverse rotation in order to back out. However, the tool may back out abruptly if you do not hold it firmly.
CAUTION: Always secure workpieces in a vise or similar hold-down device.
CAUTION: If the tool is operated continuously until the battery cartridge has discharged, allow the tool to rest for 15 minutes before proceeding with a fresh battery.
MAINTENANCE
CAUTION: Always be sure that the tool is switched off and the battery cartridge is removed before attempting to perform inspection or maintenance.
NOTICE: Never use gasoline, benzine, thinner, alcohol or the like. Discoloration, deformation or cracks may result.
To maintain product SAFETY and RELIABILITY, repairs, any other maintenance or adjustment should be performed by Makita Authorized or Factory Service Centers, always using Makita replacement parts.
OPTIONAL ACCESSORIES
CAUTION: These accessories or attachments are recommended for use with your Makita tool specified in this manual. The use of any other accessories or attachments might present a risk of injury to persons. Only use accessory or attachment for its stated purpose.
If you need any assistance for more details regard-ing these accessories, ask your local Makita Service Center.
- Drill bits
- Driver bits
- Tungsten-carbide tipped drill bit
- Blow-out bulb
- Driver bit holder
- Hook
- Side grip
- Makita genuine battery and charger
NOTE: Some items in the list may be included in the tool package as standard accessories. They may differ from country to country.


















