makita PB002G Cordless Portable Band Saw

SPECIFICATIONS
| Model: | PB002G | |
| Max. cutting capacity | Round workpiece | 127 mm dia. |
| Rectangular workpiece | 127 mm x 127 mm | |
| Blade speed | 0 – 3.2 m/s (0 – 192 m/min) | |
| Blade size | Length | 1,140 mm |
| Width | 13 mm | |
| Thickness | 0.5 mm | |
| Dimensions (L x W x H) with BL4040 | 510 mm x 218 mm x 314 mm | |
| Rated voltage | D.C. 36 V – 40 V max | |
| Net weight without wheel cover | 6.6 – 7.8 kg | |
- Due to our continuing program of research and development, the specifications herein are subject to change without notice.
- Specifications may differ from country to country.
- The weight may differ depending on the attachment(s), including the battery cartridge. The lightest and heavi-est combination, according to EPTA-Procedure 01/2014, are shown in the table.
Applicable battery cartridge and charger
| Battery cartridge | BL4020* / BL4025* / BL4040* / BL4050F / BL4080F * : Recommended battery |
| Charger | DC40RA / DC40RB / DC40RC |
Some of the battery cartridges and chargers listed above may not be available depending on your region of residence.
WARNING: Only use the battery cartridges and chargers listed above. Use of any other battery cartridges and chargers may cause injury and/or fire.
Symbols
The followings show the symbols which may be used for the equipment. Be sure that you understand their meaning before use.
Read instruction manual.
Wear safety glasses.
Only for EU countries
Due to the presence of hazardous com-ponents in the equipment, waste electrical and electronic equipment, accumulators and batteries may have a negative impact on the environment and human health. Do not dispose of electrical and electronic appliances or batteries with household waste!In accordance with the European Directive on waste electrical and electronic equipment and on accumulators and batteries and waste accumulators and batteries, as well as their adaptation to national law, waste elec-trical equipment, batteries and accumulators should be stored separately and delivered to a separate collection point for municipal waste, operating in accordance with the regulations on environmental protection. This is indicated by the symbol of the crossed-out wheeled bin placed on the equipment.
Intended use
The tool is intended for cutting in plastic and ferrous materials.
Noise
- The typical A-weighted noise level is determined according to EN60745-2-20:
- Sound pressure level (LpA) : 78 dB(A)
- Uncertainty (K) : 3 dB(A)
The noise level under working may exceed 80 dB (A).
NOTE: The declared noise emission value(s) has been measured in accordance with a standard test method and may be used for comparing one tool with another.
NOTE: The declared noise emission value(s) may also be used in a preliminary assessment of exposure.
WARNING:
- Wear ear protection.
- The noise emission during actual use of the power tool can differ from the declared value(s) depending on the ways in which the tool is used especially what kind of workpiece is processed.
- Be sure to identify safety measures to protect the operator that are based on an estima-tion of exposure in the actual conditions of use (tak-ing account of all parts of the operating cycle such as the times when the tool is switched off and when it is running idle in addition to the trigger time).
Vibration
The vibration total value (tri-axial vector sum) deter-mined according to EN60745-2-20:
Work mode: cutting metal
Vibration emission (ah,M) : 2.5 m/s2 or less
Uncertainty (K) : 1.5 m/s2
NOTE: The declared vibration total value(s) has been measured in accordance with a standard test method and may be used for comparing one tool with another.
NOTE: The declared vibration total value(s) may also be used in a preliminary assessment of exposure.
WARNING: The vibration emission during actual use of the power tool can differ from the declared value(s) depending on the ways in which the tool is used especially what kind of workpiece is processed. Be sure to identify safety mea-sures to protect the operator that are based on an estimation of exposure in the actual conditions of use (taking account of all parts of the operating cycle such as the times when the tool is switched off and when it is running idle in addition to the trigger time).
EC Declaration of Conformity
For European countries only
The EC declaration of conformity is included as Annex A to this instruction manual.
SAFETY WARNINGS
General power tool safety warnings
WARNING: Read all safety warnings, instruc-tions, illustrations and specifications provided with this power tool. Failure to follow all instructions listed below may result in electric shock, fire and/or serious injury.
Save all warnings and instructions for future reference.
The term “power tool” in the warnings refers to your mains-operated (corded) power tool or battery-operated (cordless) power tool.
Work area safety
- Keep work area clean and well lit. Cluttered or dark areas invite accidents.
- Do not operate power tools in explosive atmo-spheres, such as in the presence of flammable liquids, gases or dust. Power tools create sparks which may ignite the dust or fumes.
- Keep children and bystanders away while operating a power tool. Distractions can cause you to lose control.
Electrical safety
- Power tool plugs must match the outlet. Never modify the plug in any way. Do not use any adapter plugs with earthed (grounded) power tools. Unmodified plugs and matching outlets will reduce risk of electric shock.
- Avoid body contact with earthed or grounded surfaces, such as pipes, radiators, ranges and refrigerators. There is an increased risk of elec-tric shock if your body is earthed or grounded.
- Do not expose power tools to rain or wet con-ditions. Water entering a power tool will increase the risk of electric shock.
- Do not abuse the cord. Never use the cord for carrying, pulling or unplugging the power tool. Keep cord away from heat, oil, sharp edges or moving parts. Damaged or entangled cords increase the risk of electric shock.
- When operating a power tool outdoors, use an extension cord suitable for outdoor use. Use of a cord suitable for outdoor use reduces the risk of electric shock.
- If operating a power tool in a damp location is unavoidable, use a residual current device (RCD) protected supply. Use of an RCD reduces the risk of electric shock.
Power tools can produce electromagnetic fields (EMF) that are not harmful to the user. However, users of pacemakers and other similar medical devices should contact the maker of their device and/or doctor for advice before operating this power tool.
Personal safety
- Stay alert, watch what you are doing and use common sense when operating a power tool. Do not use a power tool while you are tired or under the influence of drugs, alcohol or med-ication. A moment of inattention while operating power tools may result in serious personal injury.
- Use personal protective equipment. Always wear eye protection. Protective equipment such as a dust mask, non-skid safety shoes, hard hat or hearing protection used for appropriate conditions will reduce personal injuries.
- Prevent unintentional starting. Ensure the switch is in the off-position before connecting to power source and/or battery pack, picking up or carrying the tool. Carrying power tools with your finger on the switch or energising power tools that have the switch on invites accidents.
- Remove any adjusting key or wrench before turning the power tool on. A wrench or a key left attached to a rotating part of the power tool may result in personal injury.
- Do not overreach. Keep proper footing and balance at all times. This enables better control of the power tool in unexpected situations.
- Dress properly. Do not wear loose clothing or jewellery. Keep your hair and clothing away from moving parts. Loose clothes, jewellery or long hair can be caught in moving parts.
- If devices are provided for the connection of dust extraction and collection facilities, ensure these are connected and properly used. Use of dust collection can reduce dust-related hazards.
- Do not let familiarity gained from frequent use of tools allow you to become complacent and ignore tool safety principles. A careless action can cause severe injury within a fraction of a second.
- Always wear protective goggles to protect your eyes from injury when using power tools. The goggles must comply with ANSI Z87.1 in the USA, EN 166 in Europe, or AS/NZS 1336 in Australia/New Zealand. In Australia/New Zealand, it is legally required to wear a face shield to protect your face, too.
It is an employer’s responsibility to enforce the use of appropriate safety protective equip-ments by the tool operators and by other per-sons in the immediate working area.
Power tool use and care
- Do not force the power tool. Use the correct power tool for your application. The correct power tool will do the job better and safer at the rate for which it was designed.
- Do not use the power tool if the switch does not turn it on and off. Any power tool that cannot be controlled with the switch is dangerous and must be repaired.
- Disconnect the plug from the power source and/or remove the battery pack, if detachable, from the power tool before making any adjust-ments, changing accessories, or storing power tools. Such preventive safety measures reduce the risk of starting the power tool accidentally.
- Store idle power tools out of the reach of chil-dren and do not allow persons unfamiliar with the power tool or these instructions to operate the power tool. Power tools are dangerous in the hands of untrained users.
- Maintain power tools and accessories. Check for misalignment or binding of moving parts, breakage of parts and any other condition that may affect the power tool’s operation. If dam-aged, have the power tool repaired before use. Many accidents are caused by poorly maintained power tools.
- Keep cutting tools sharp and clean. Properly maintained cutting tools with sharp cutting edges are less likely to bind and are easier to control.
- Use the power tool, accessories and tool bits etc. in accordance with these instructions, tak-ing into account the working conditions and the work to be performed. Use of the power tool for operations different from those intended could result in a hazardous situation.
- Keep handles and grasping surfaces dry, clean and free from oil and grease. Slippery handles and grasping surfaces do not allow for safe handling and control of the tool in unexpected situations.
- When using the tool, do not wear cloth work gloves which may be entangled. The entangle-ment of cloth work gloves in the moving parts may result in personal injury.
Battery tool use and care
- Recharge only with the charger specified by the manufacturer. A charger that is suitable for one type of battery pack may create a risk of fire when used with another battery pack.
- Use power tools only with specifically desig-nated battery packs. Use of any other battery packs may create a risk of injury and fire.
- When battery pack is not in use, keep it away from other metal objects, like paper clips, coins, keys, nails, screws or other small metal objects, that can make a connection from one terminal to another. Shorting the battery termi-nals together may cause burns or a fire.
- Under abusive conditions, liquid may be ejected from the battery; avoid contact. If contact acci-dentally occurs, flush with water. If liquid con-tacts eyes, additionally seek medical help. Liquid ejected from the battery may cause irritation or burns.
- Do not use a battery pack or tool that is dam-aged or modified. Damaged or modified batteries may exhibit unpredictable behaviour resulting in fire, explosion or risk of injury.
- Do not expose a battery pack or tool to fire or excessive temperature. Exposure to fire or tem-perature above 130 °C may cause explosion.
- Follow all charging instructions and do not charge the battery pack or tool outside the temperature range specified in the instruc-tions. Charging improperly or at temperatures outside the specified range may damage the battery and increase the risk of fire.
Service
- Have your power tool serviced by a qualified repair person using only identical replacement parts. This will ensure that the safety of the power tool is maintained.
- Never service damaged battery packs. Service of battery packs should only be performed by the manufacturer or authorized service providers.
- Follow instruction for lubricating and chang-ing accessories.
Cordless Portable Band Saw Safety Warnings
- Hold power tool by insulated gripping sur-faces, when performing an operation where the cutting accessory may contact hidden wiring. Cutting accessories contacting a “live” wire may make exposed metal parts of the power tool “live” and could give the operator an electric shock.
- Use only blades which are listed in “SPECIFICATIONS”.
- Check the blade carefully for cracks or damage before operation. Replace cracked or damaged blade immediately.
- Secure the workpiece firmly. When cutting a bundle of workpieces, be sure that all work-pieces are secured together firmly before cutting.
- Cutting workpieces covered with oil can cause the blade to come off unexpectedly. Wipe off all excess oil from workpieces before cutting.
- Never use the cutting oil as a cutting lubricant. Use only Makita cutting wax.
- Hold the tool firmly with both hands.
- Keep hands away from rotating parts.
- When cutting metal, be cautious of hot flying chips.
- Do not leave the tool running unattended.
- Do not touch the blade or the workpiece imme-diately after operation; they may be extremely hot and could burn your skin.
- Before operation, make sure that there is no buried object such as electric pipe, water pipe or gas pipe in the working area. Otherwise, the band saw blade may touch them, resulting an electric shock, electrical leakage or gas leak.
Important safety instructions for battery cartridge
- Before using battery cartridge, read all instruc-tions and cautionary markings on (1) battery charger, (2) battery, and (3) product using battery.
- Do not disassemble or tamper with the battery cartridge. It may result in a fire, excessive heat, or explosion.
- If operating time has become excessively shorter, stop operating immediately. It may result in a risk of overheating, possible burns and even an explosion.
- If electrolyte gets into your eyes, rinse them out with clear water and seek medical atten-tion right away. It may result in loss of your eyesight.
- Do not short the battery cartridge:
- Do not touch the terminals with any con-ductive material.
- Avoid storing battery cartridge in a con-tainer with other metal objects such as nails, coins, etc.
- Do not expose battery cartridge to water or rain. A battery short can cause a large current flow, overheating, possible burns and even a breakdown.
- Do not store and use the tool and battery car-tridge in locations where the temperature may reach or exceed 50 °C (122 °F).
- Do not incinerate the battery cartridge even if it is severely damaged or is completely worn out. The battery cartridge can explode in a fire.
- Do not nail, cut, crush, throw, drop the battery cartridge, or hit against a hard object to the battery cartridge. Such conduct may result in a fire, excessive heat, or explosion.
- Do not use a damaged battery.
- The contained lithium-ion batteries are subject to the Dangerous Goods Legislation requirements. For commercial transports e.g. by third parties, forwarding agents, special requirement on pack-aging and labeling must be observed.For preparation of the item being shipped, consult-ing an expert for hazardous material is required. Please also observe possibly more detailed national regulations. Tape or mask off open contacts and pack up the battery in such a manner that it cannot move around in the packaging.
- When disposing the battery cartridge, remove it from the tool and dispose of it in a safe place. Follow your local regulations relating to disposal of battery.
- Use the batteries only with the products specified by Makita. Installing the batteries to non-compliant products may result in a fire, exces-sive heat, explosion, or leak of electrolyte.
- If the tool is not used for a long period of time, the battery must be removed from the tool. During and after use, the battery cartridge may take on heat which can cause burns or low temperature burns. Pay attention to the han-dling of hot battery cartridges.
- Do not touch the terminal of the tool imme-diately after use as it may get hot enough to cause burns.
- Do not allow chips, dust, or soil stuck into the terminals, holes, and grooves of the battery cartridge. It may cause heating, catching fire, burst and malfunction of the tool or battery car-tridge, resulting in burns or personal injury.
- Unless the tool supports the use near
high-voltage electrical power lines, do not use the battery cartridge near a high-voltage elec-trical power lines. It may result in a malfunction or breakdown of the tool or battery cartridge. - Keep the battery away from children.
SAVE THESE INSTRUCTIONS.
CAUTION: Only use genuine Makita batteries. Use of non-genuine Makita batteries, or batteries that have been altered, may result in the battery bursting causing fires, personal injury and damage. It will also void the Makita warranty for the Makita tool and charger.
Tips for maintaining maximum battery life
- Charge the battery cartridge before completely discharged. Always stop tool operation and charge the battery cartridge when you notice less tool power.
- Never recharge a fully charged battery cartridge. Overcharging shortens the battery service life.
- Charge the battery cartridge with room tempera-ture at 10 °C – 40 °C (50 °F – 104 °F). Let a hot battery cartridge cool down before charging it.
- When not using the battery cartridge, remove it from the tool or the charger.
- Charge the battery cartridge if you do not use it for a long period (more than six months).
FUNCTIONAL DESCRIPTION
CAUTION: Always be sure that the tool is switched off and the battery cartridge is removed before adjusting or checking function on the tool.
Installing or removing battery cartridge
CAUTION:
- Always switch off the tool before installing or removing of the battery cartridge.
- Hold the tool and the battery car-tridge firmly when installing or removing battery cartridge.
- Failure to hold the tool and the battery cartridge firmly may cause them to slip off your hands and result in damage to the tool and battery cartridge and a personal injury.

- Red indicator
- Button
- Battery cartridge
To remove the battery cartridge, slide it from the tool while sliding the button on the front of the cartridge. To install the battery cartridge, align the tongue on the battery cartridge with the groove in the housing and slip it into place. Insert it all the way until it locks in place with a little click. If you can see the red indicator as shown in the figure, it is not locked completely.
CAUTION: Always install the battery cartridge fully until the red indicator cannot be seen. If not, it may accidentally fall out of the tool, causing injury to you or someone around you.
CAUTION: Do not install the battery cartridge forcibly. If the cartridge does not slide in easily, it is not being inserted correctly.
Indicating the remaining battery capacity
Press the check button on the battery cartridge to indi-cate the remaining battery capacity. The indicator lamps light up for a few seconds. 
- Indicator lamps
- Check button

NOTE: Depending on the conditions of use and the ambient temperature, the indication may differ slightly from the actual capacity.
NOTE: The first (far left) indicator lamp will blink when the battery protection system works.
Tool/battery protection system
The tool is equipped with a tool/battery protection system. This system automatically cuts off power to the motor to extend tool and battery life. The tool will auto-matically stop during operation if the tool or battery is placed under one of the following conditions:
Overload protection
When the tool/battery is operated in a manner that causes it to draw an abnormally high current, the tool automatically stops without any indication. In this sit-uation, turn the tool off and stop the application that caused the tool to become overloaded. Then turn the tool on to restart.
Overheat protection
When the tool/battery is overheated, the tool stops automatically. In this situation, let the tool and battery cool before turning the tool on again.
NOTE: When the tool is overheated, the lamp blinks.
Overdischarge protection
When the battery capacity is not enough, the tool stops automatically. In this case, remove the battery from the tool and charge the battery.
Protections against other causes
Protection system is also designed for other causes that could damage the tool and allows the tool to stop automatically. Take all the following steps to clear the causes, when the tool has been brought to a temporary halt or stop in operation.
- Turn the tool off, and then turn it on again to restart.
- Charge the battery(ies) or replace it/them with recharged battery(ies).
- Let the tool and battery(ies) cool down.
If no improvement can be found by restoring protection system, then contact your local Makita Service Center.
Electric brake
This tool is equipped with an electric brake. If the tool consistently fails to quickly stop after the switch trigger is released, have the tool serviced at a Makita service center.
Electronic function
The tools equipped with electronic function are easy to operate because of the following feature(s).
Constant speed control
Electronic speed control for obtaining constant speed. Possible to get fine finish, because the rotating speed is kept constant even under load condition.
Switch action
WARNING:
- Before installing the battery car-tridge into the tool, always check to see that the switch trigger actuates properly and returns to the “OFF” position when released.
- NEVER defeat the lock-off button by taping down or some other means. A switch with a negated lock-off button may result in unintentional operation and serious personal injury.
- NEVER use the tool if it runs when you simply pull the switch trigger without press-ing the lock-off button. A switch in need of repair may result in unintentional operation and serious personal injury. Return tool to a Makita service center for proper repairs BEFORE further usage. To prevent the switch trigger from being accidentally pulled, a lock-off button is provided. To start the tool, depress the lock-off button and pull the switch trigger. Tool speed is increased by increasing pressure on the switch trigger. Release the switch trigger to stop.

1. Lock-off button 2. Switch trigger
Speed adjusting dial 
The tool speed can be steplessly adjusted between 0.8 m/s and 3.2 m/s by turning the adjusting dial. Higher speed is obtained when the dial is turned in the direc-tion of number 6; lower speed is obtained when it is turned in the direction of number 1. Select the proper speed for the workpiece to be cut.
NOTICE: The speed adjusting dial can be turned only as far as 6 and back to 1. Do not force it past 6 or 1, or the speed adjusting function may no longer work.Plastic materials may melt when cut-ting at high speeds.
Lighting up the front lamp
CAUTION: Do not look in the light or see the source of light directly.
Pull the switch trigger to light up the lamp. The lamp keeps on lighting while the switch trigger is being pulled. The lamp goes out approximately 10 seconds after releasing the switch trigger. 
NOTE:
- Do not apply impact to the lamp, which may cause damage or shorted service time to it.
- Use a dry cloth to wipe the dirt off the lens of the lamp. Be careful not to scratch the lens of lamp, or it may lower the illumination.
- When the tool is overheated, the lamp blinks for one minute, and then goes off. In this case, cool down the tool before operating again.
Hook
CAUTION:
Never hang the tool at high or potentially unstable location. Use the hanging/mounting parts for their intended purposes only. Using for unin-tended purpose may cause accident or personal injury.
The hook is convenient for hanging the tool temporarily. To use the hook, simply lift up hook until it snaps into the open position. When not in use, always lower hook until it snaps into the closed position.
Open position

Closed position 
ASSEMBLY
CAUTION: Always be sure that the tool is switched off and the battery cartridge is removed before carrying out any work on the tool.
Installing or removing the band saw blade
CAUTION:
- Oil on the band saw blade can cause the blade to slip or come off unexpectedly. Wipe off all excess oil with a cloth before install-ing the band saw blade.
- Always wear protective gloves when handling the band saw blade.
- Use caution when handling the band saw blade to avoid cut by the sharp edge of the blade teeth.
- Keep your body away from the band saw blade when checking the blade movement.
- When turning the blade tightening lever clockwise to release the tension on the band saw blade, point the tool downward because the band saw blade may come off unexpectedly.
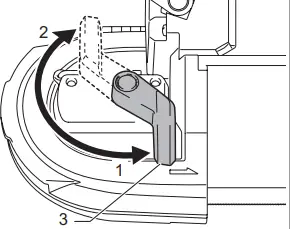
To install the band saw blade:
Turn the blade tightening lever clockwise until it stops. 
- Tighten
- Loosen
- Blade tightening lever
Open the wheel cover. 
- Wheel cover
- Hook
NOTICE: When opening the wheel cover, open and release both hooks simultaneously. Opening only one hook may cause crack on the wheel cover.
- Match the direction of the arrows on the band saw blade and the wheels.

- Insert the non-serrated side of the band saw blade into the upper holder and lower holder. Make sure the band saw blade in both upper and lower holder touches to the bottom bearings.

- With pressing the middle part of the band saw blade, position the blade around one wheel. Moving the wheel to A side makes it easier to do so.
- Position the band saw blade on the other wheel similarly.
- Position the edge of the band saw blade on rubber tire.
- Hold the band saw blade in place and turn the blade tightening lever counterclockwise until it stops. This places proper tension on the band saw blade.
- Close the wheel cover.
NOTICE: Make sure that the band saw blade is correctly positioned around the wheels.Start and stop the tool two or three times to make sure that the band saw blade runs properly on the wheels.To remove the band saw blade, follow the installation procedure in reverse.
Adjusting blade track
When the band saw blade tends to slip out from the wheel, adjust the blade track. To adjust, insert the hex wrench into the adjustment hole as illustrated and make a quarter turn clockwise. After that, check if the band saw blade does not slip out. If it still slips out, make another quarter turn and check until the band saw blade does not slip out. 
1. Hex wrench 2. Adjustment hole
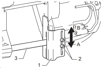
Adjusting the stopper plate position
In the ordinary operation, protrude the stopper plate to the A side fully. When the stopper plate hits against the obstacles such as a wall or the like at the finishing of a cut, loosen two bolts and slide it to the B side in the figure. After sliding the stopper plate, secure it by tightening two bolts firmly. 
OPERATION
CAUTION:
- Always insert the battery cartridge all the way until it locks in place. If you can see the red indicator on the upper side of the button, it is not locked completely.
- Insert it fully until the red indicator cannot be seen. If not, it may accidentally fall out of the tool, causing injury to you or someone around you.
- Always hold the handle. Never hold the tool body or guards. Hands may slip from these locations and contact with the band saw blade. It may result in personal injury.
- Make sure that the wheel cover is closed securely.
- Make sure to hold the tool firmly with both hands when turning on or off the tool or when cutting. Otherwise the tool may fall and cause personal injury.
- Always wear gloves to protect your hands from hot flying chips when cutting metal.
- Keep your body and face away from the band saw blade and flying chips.

Apply the band saw blade to the suitable cutting posi-tion on the workpiece as illustrated. 
- Hold the tool with both hands as illustrated.
Before turning on the tool, always make sure that the stopper plate contacts the workpiece and the band saw blade is clear of the workpiece.
- Turn the tool on. Gently lower the blade into the cut. The weight of the tool or slightly pressing the tool will supply adequate pressure for the cutting. Do not force the tool.

- As you reach the end of a cut, release pressure and lift the tool slightly so that the tool will not fall against the workpiece.

NOTICE:
- Applying excessive pressure to the tool or twisting of the band saw blade may cause bevel cutting or damage to the blade.
- When not using the tool for a long period of time, remove the band saw blade from the tool.
- If the tool is operated continuously until the battery cartridge has discharged, allow the tool to rest for 15 minutes before proceeding with a fresh battery.
Cutting lubricant
Optional accessory
CAUTION: Never use cutting oil or apply excessive amount of wax to the band saw blade. It may cause the blade to slip or come off unexpectedly. When cutting cast iron, do not use any cutting wax. When cutting metals, use Makita cutting wax as a cut-ting lubricant. To apply the cutting wax to the teeth of the band saw blade, remove a cap of the cutting wax, start the tool and cut into the cutting wax as illustrated.
MAINTAINANCE
CAUTION: Always be sure that the tool is switched off and the battery cartridge is removed before attempting to perform inspection or maintenance.
NOTICE: Never use gasoline, benzine, thinner, alcohol or the like. Discoloration, deformation or cracks may result. To maintain product SAFETY and RELIABILITY, repairs, any other maintenance or adjustment should be performed by Makita Authorized or Factory Service Centers, always using Makita replacement parts.
Cleaning
CAUTION: Wax and chips on the rubber tires on the wheel may cause the band saw blade to slip and come off unexpectedly. Use a dry cloth to remove wax and chips from the rubber tires.
After use, remove wax, chips and dust from the tool, rubber tires on the wheel and the band saw blade.
Replacing rubber tires on the wheels
Replace the rubber tires when the band saw blade slips or does not track properly because of badly worn tires. To replace the rubber tire, ask for the Makita Authorized or Factory Service Centers.
OPTIONAL ACCESSORIES
CAUTION: These accessories or attachments are recommended for use with your Makita tool specified in this manual. The use of any other accessories or attachments might present a risk of injury to persons. Only use accessory or attachment for its stated purpose.
If you need any assistance for more details regard-ing these accessories, ask your local Makita Service Center.
- Band saw blades
- Cutting wax
- Makita genuine battery and charger
NOTE: Some items in the list may be included in the tool package as standard accessories. They may differ from country to country.
Makita Europe N.V.: Jan-Baptist Vinkstraat 2, 3070 Kortenberg, Belgium
Makita Corporation 3-11-8, Sumiyoshi-cho,
www.makita.com
It is an employer’s responsibility to enforce the use of appropriate safety protective equip-ments by the tool operators and by other per-sons in the immediate working area.




























