KRACO 2555 Super Deluxe AM/SSB Base Station

SPECIFICATIONS
GENERAL
Channels
- Frequency Range
- Frequency Control
- Frequency Tolerance
- Frequency Stability
- Operating Temperature Range
- Microphone
- AC Input Voltage
- AC Power Consumption
- Antenna Connectors [A and B]
- Semiconductors
- Meter #1
- Meter #2
TRANSMITTER
- Power Output
- SSB Generation
- AM Modulation
- AM Modulation Capability
- Harmonic Suppression and Spurious Emission
- AM Frequency Response
- SSB Frequency Response
- Output Impedances [A and B]
- Output Indicators
RECEIVER
- AM Sensitivity
- SSB Sensitivity
- AM Selectivity
- SSB Selectivity
- Image Rejection
- IF Rejection
- AGC
- Squelch
- Audio Frequency Response
- Distortion
- Adjacent Channel Rejection
- Cross Modulation
- Intermediate Frequency
- Clarifier
- Noise Blanker
- Audio Output Power
- Built-in Speaker
- External Speaker [ optional]
PUBLIC ADDRESS [PA] SYSTEM
- Power Output
- External Speaker for PA [optional]
- 23 channels+ channel No. 11A + SSB channel No. 24 (25 in all)
- 26.965 to 27.255 MHz
- Phase locked synthesizer
- ±0.005%
- ±0.003%
- -30 °C to +50°C
- Plug-in [4-pin], 600 Ohm dynamic
- 220V, 50/60 Hz
- 75W
- Standard American [QO-239] type
- 5 I Cs, 2 FETs, 53 Transistors
- Indicates received signal strength
- Indicates relative RF power output/antenna SWR
- 4W – AM, 12W [PEP] – Single sideband (at 220V AC) Dual balanced modulation
- High and low level class B amplitude modulation
- 95% typically
- 60 dB down
- 400 to 5000 Hz
- 400 to 3000 Hz
- 50 Ohms, unbalanced
- RF Meter shows relative
- RF output power
- 1 µV for 10 dB S/N
- 0.3 µV for 10 dB S/N
- 5 dB at 4 kHz, 50 dB at 10 kHz
- 5 dB at 2 kHz
- More than 50 dB
- More than 80 dB at 455 kHz
- Change in audio output less than 12 dB from 10 µV to 0.4V Adjustable – threshold less than 0.7 µV
- 400 to 2500 Hz
- Less than 10% at 3 watts output
- More than 75 dB at 0.3 µV
- More than 50 dB
- 10.695 MHz [AM-1st, SSB], 455 kHz [AM-2nd]
- ±800 Hz
- IF single gate type
- More than 3 watts into 8 ohms
- 8 ohms, dynamic
- Disables internal speaker when connected
- 3 watts into external speaker
- When PA switch is in PA mode, the unit functions as a public address system
INSTALLATION
LOCATION
Place the transceiver in a convenient operating location close to an power outlet and the antenna lead-in cable(s). To prevent fire or shock hazard, do not expose this appliance to rain or moisture.
CONNECTIONS
The transceiver is supplied with an AC power cord set. Proceed as follows to complete all necessary connections to the transceiver.
- Your transceiver has two standard antenna connectors of type SO-239 located on rear panel, for easy connection to standard PL-259 coax plugs. If the coax antenna cable must be made longer, use coax cable with impedance of 50 ohms, frequency ratings for 27 MHz, and use shortest cable length to suit your needs. This will insure a proper impedance match and maximum power transfer from the transmitter to the antenna.
- AC Power Operation: Use 220 volt(Ac power for base station operation. Plug AC power cord plug -into a working 220 volts household outlet.
NOISE INTERFERENCE
There are several kinds of noise interfering you may encounter in base station operation. Some of these noise sources are; fluorescent buzz, nearby commercial broadcast, electrical appliance, lawnmower, and electrical storms, etc. Commercial products are available to reduce interference from these sources. Consult your dealer or CB/amateur radio supply shops.
ANTENNAS
For best transmission and reception, your CB transceiver should use an antenna especially designed for frequency band of 27 MHz. Antennas. are purchased separately and include installation instructions. Numerous types of CB antennas are available that range from emphasis on each of installation to emphasis on performance. Often the difference in performance between many of the antenna is modest. You can connect ·2 antennas to your CB, or 1 antenna and one dummy load.
- Vertical Ground Plane Antennas.
These are omnidirectional antennas that provide optimum performance for contracting other fixed stations using vertical type antennas in addition to all mobile stations. For medium-long range communications work.
- Directional Beam Antennas.
Highly efficient and directional antennas generally intended for fixed-to-fixed very long range communications.
REMOTE SPEAKER
The external speaker jack ( EXT. SP) on the rear panel is used for remote receiver monitoring. The external speaker should have 8 ohms impedance and be able to handle at least 3 watts. When the external speaker is plugged in, the internal speaker is disconnected.
PUBLIC ADDRESS
An external 8 ohm, 3 watt speaker must be connected to the PA SP jack located on the rear panel when the transceiver is used as a public address system. The speaker should be directed away from the microphone to prevent acoustic feedback. Physical separation or isolation of the microphone and speaker is important when operating the PA at high output levels.
OPERATION
CONTROLS AND INDICATORS
There are 18 controls and 10 indicators on the front panel of your base transceiver.

CONTROL FUNCTIONS
- POWER/ON-OFF
Place in POWER (lever up) position to apply AC power to the unit. - NB SWITCH
This switch activates the noise blanker circuit when placed in NB (lever up) position. The noise blanker is -very effective for repetitive impulse noise such as ignition interference. - ANL SWITCH
When this switch is placed in the ANL (lever up) position, the automatic noise limiter in the audio is activated. The ANL may be used when noises generated from such sources as atmospheric discharge and/or electronic machinery are present. - CB-PA SWITCH
This switch selects the public address mode of the transceiver. The PA function should not be used unless an external speaker is connected to the PA SP jack on the rear panel. See the Public Address Operation in page 6. - HIGH FREQUENCY FILTER
This switch is used to decrease high frequency component in receiving sound output. Set the switch to lever up position when the excessive high frequency tone is noticed. - SWR-CALIBRATE SWITCH
This switch selects the SWR meter functions:- CALIB (lever down): To calibrate the SWR Meter before measuring your antenna SWR ratio.
- SWR (lever up): To read the SWR of antenna connected to the unit. See Accessory Circuit Operation.
- CALIBRATE CONTROL
This control is used for the SWR meter calibration for the accurate measurement in conjunction with the SWR-CALIB Switch 6). - TONE CONTROL
This changes tonal sound quality when receiving. Clockwise rotation will emphasize high tone. - RF GAIN
This control is used to optimize reception in strong signal areas, preventing overload or distorted sound reception. Under normal operating conditions the control should be turned fully clockwise. When strong signals are received rotate this control counterclockwise to reduce gain. Note: The Squelch Control 15) may require readjustment with reduced RF Gain control. - MIC (MICROPHONE) GAIN
A preamplifier circuit is built into this unit to increase microphone gain. Experiment with this control for the setting that will best suit your individual use. - CHANNEL SELECTOR
This control selects any one of the 24 channels desired. Channel No. 11A is located next to channel No. 23. The selected channel is digitally displayed in LED · located above the selector. Channels 1 through 11, and 12 through 23 may be used for communications between stations operating for normal CB use in AM mode. Channel No. 11 A has been reserved for emergency communications.
NOTE: SSB channel No. 24 is selected automatically with the Mode Selector (12) and not be achieved by the selection of the Channel Selector. - MODE SELECTOR
This switch selects one of three modes of operation, AM, lower sideband (LSB), or upper sideband (USB). Setting the switch to either of LSB or USB position will automatically selects channel No. 24 (this will be shown on LED), on which SSB mode of transmission is only assigned. You cannot operate your transceiver in AM mode on channel No. 24, nor you cannot operate in SSB mode on other 23 channels. To operate the transceiver on other 23 channels in the AM mode, simply place the Mode Selector in AM position. - ANTENNA/A-B SELECTOR
For switching between two types of antennas or dummy load that may be connected to the unit. You may connect a ground plane antenna which is nondirectional to Antenna A receptacle (A position of the switch), and a beam type antenna that is highly directional to the Antenna B receptacle (B position of the switch) for long-range communications. - PA GAIN
The PA gain of the PA amplifier is adjustable by this control. Turn clockwise to increase the volume of PA amplifier. - SQUELCH
This control is used to cut off or eliminate receiver background noise in the absence of an incoming signal. For maximum receiver sensitivity it is desired that the control be adjusted only to the point where the receiver background noise or ambient background noise is eliminated. Turn fully counterclockwise then slowly clockwise until the receiver noise just disappears. Any signal to be received must now be slightly stronger than the average received noise. Further clockwise rotation will increase the threshold lever which a signal must overcome in order to be heard. Only strong signals will be heard at a maximum clockwise setting. - AF GAIN
Permits you to adjust the listening level when receiving. - CLARIFIER
This control provides precise on-frequency tuning of the receiver. On regular AM reception (channel 1 through 23), this will permit adjustment of off-frequency transm1ss1ons. In the SSB mode (only on channel No. 24), this control is used as a voice clarifier to adjust for clearer voice reception.
INDICATORS
- S [signal] METER
The left hand meter provides a relative indication of the signal strength of a received signal in S units during reception. The stronger the incoming signal, the further the meter pointer deflects rightwards. Note that SSB signals will respond this meter only during voice modulation. This being due to the fact that SSB transmissions do not contain a continuous RF carrier as is found on AM. - POWER/SWR METER
Used for dual purpose: to indicate relative transmitter power when transmitting; to indicate antenna SWR [standing wave ratio]. Note that the power meter has separate scales for AM or SSB transmission, respectively. - CHANNEL READOUT
This is LED [light emitting diode] digital readout which indicates the channel ,selected by the Channel selector 11). - FUNCTION INDICATORS
LED indicators located in the LED area permit you to know instantly the mode with which the unit has been engaged.- Tx: Lights up during transmit mode indicating you are on-the-air.
- Rx: Lights up during receiving mode of the unit.
- Mod: This lights up during transmitting. The intensity will vary according to the strength of your modulating voice.
- LSB-AM-USB: Indicates a mode selected by the Mode selector 12).
PUSH-TO-TALK MICROPHONE
The receiver and transmitter are controlled by the Push-to-Talk switch on the microphone. Press the switch and the transmitter is activated; release the switch to receive. When transmitting, hold the microphone two inches from the mouth and speak clearly in a normal voice. The radio comes complete with the low impedance dynamic microphone (supplied). Note: Depressing the Push-to-Talk switch on the microphone is also required to activate the PA system. (See Accessory Circuit Operation.)
OPERATING PROCEDURE
IMPORTANT: Make sure antenna, power source, and microphone are connected before you operate.
AM RECEPTION AND TRANSMISSION
- Set the CB-PA switch to CB.
- Turn unit on, setting the power switch to on.
- Set Mode Selector to AM.
- Set Squelch control in fully counterclockwise position.
- Adjust AF Gain control for a comfortable listening level.
- Adjust the Squelch control as follows:
- Select a clear (unoccupied) channel using Channel selector. No signal should be present.
- Increase the volume using the AF Gain control until hissing noise is heard.
- Rotate the Squelch control slowly clockwise until the noise disappears.
Leave the Squelch control at this setting. The squelch is adjusted properly. The receiver will remain quiet until a signal is actually received.
NOTE: Do not advance the Squelch control setting too far or some of the weaker signals may not be heard.
- While receiving AM station, rotate Clarifier for maximum S-meter reading.
To transmit, depress push-to-talk bar on the microphone and speak in a normal voice tone.
NOTE: You cannot choose the channel No. 24 on the Channel Selector while operating AM.
SSB RECEPTION AND TRANSMISSION
- Set the CB-PA switch to CB.
- Turn unit on, setting the Power switch to on.
- Set the Mode Selector either to LSB or USB. Operating on LSB mode can only enable you to communicate with a station operating on the LSB mode; likewise, operating on the USB mode is the same. When you are unable to clarify the voice of received station, it is possible that the signal is not on the sideband you are using. Switch the Mode Selector to the other sideband and repeat the adjustment of the Clarifier in this mode until you are able to make the voice intelligible.
As previously stated, setting the Mode Switch to one of SSB position will automatically select channel No. 24 on which you can only operate SSB mode, regardless of the Channel Selector selection. The Channel LED will display 24. To operate on other 23 AM channels simply set the Mode Selector to AM position.
ACCESSORY CIRCUITS OPERATION
- PUBLIC ADDRESS OPERATION: To use this feature of the transceiver, a speaker having a voice coil impedance of 8 to 16 ohms and a power handling capability of at least 3 watts should be connected to the PA SP jack on the rear panel. Be sure that there is physical separation between the microphone and the PA speaker itself. If the PA speaker is located very close to the microphone, acoustic feedback will result when the PA amplifier is operated at high volume (or when used indoors).
- SWR MEASUREMENT: Most antennas are factory tuned, but the antenna efficiency may be peaked by slightly adjusting the length of antenna using the SWR meter built into the unit. This adjustment may improve the antenna standing wave ratio (SWR). The SWR permits you to determine how well matched the antenna and its cables are to your transceiver.
- Set the unit in the receive mode as instructed under the Operating Procedure to Receive section.
- Set the Mode switch 12) to AM position; the SWR-Cal 6) switch to the Cal position.
- Pressing the Push-to-Talk switch .on the microphone and turn the Calibrate Control 7) clockwise (past click) so that the SWR meter pointer exactly coincides with the Set mark on the scale. Release the Push-to-Talk switch.
- Set the SWR-Cal switch to the SWR position and depress the Push-to-Talk switch again. The SWR of your antenna is read directly on the scale.
Note: An SWR below 2 or less is. desired as this indicates that over 95% of the transmitted power is broadcast into the air.
MAINTENANCE AND ADJUSTMENT
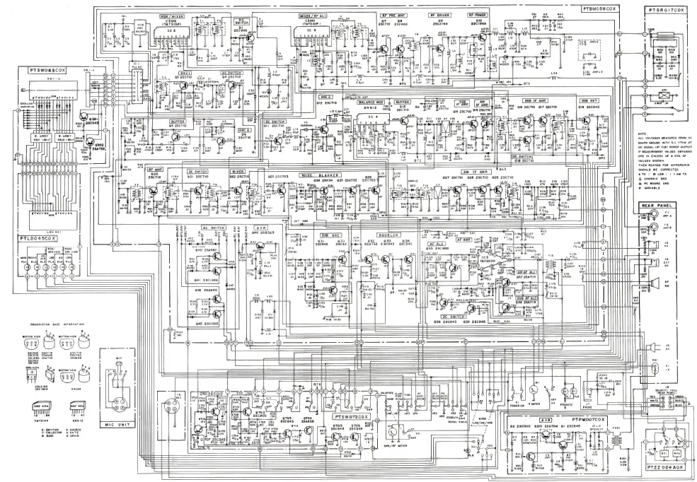
Your base station transceiver is specifically designed for the environment encountered in the base station use. The use of fully solid state circuitry including the phase-locked loop circuit result in high reliability. Should a failure occur, however, replace parts only with identical parts. Do not substitute. Refer to the Schematic Diagram and PC Boards Diagram in this manual.
NOTE
If the performance described in the OPERATION section is not obtained, revire the INSTALLATION section to insure that proper procedures were followed. If a problem still exists, refer to Aligriment section of this manual.
CIRCUIT DESCRIPTION
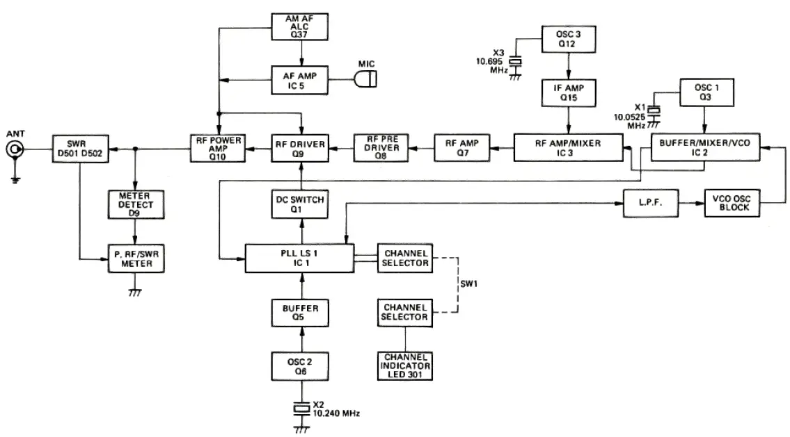
The transceiver is 24 AM and one SSB channel base transceiver which uses phase-locked loop (PLL) frequency synthesizing system to produce the all 25 channels. The basic PLL system is comprised of a free-running voltage controlled oscillator (part of IC2), a phase detector, a reference crystal oscillator (06) and a programmable divider (IC1), as seen in PLL Block Diagram.
PLL THEORY
In the AM mode, the voltage-controlled oscillator (VCO) operates in the frequency range of 17 .555 to 17 .845 MHz, and is used to produce two output signals: #1; 37 .66 MHz to 37.95 MHz #2; at 2.55 MHz to 2.26 MHz. In the SSB mode (operable on channel no. 24, 27.235 MHz alone), the VCO oscillates at 17.825 MHz in the USB mode and 17 .8235 MHz in the LSB mode, and is used to produce 37 .93 in the USB and 37 .927 MHz in the LSB mode, and 2.28 MHz. Reference frequency oscillator 03, which is crystal controlled, operates at a frequency of 10.0525 MHz (10.05175 MHz in the LSB on channel No. 24). Its output is fed through the band-pass filter (BPF)/doubler resulting in an output signal, 20.105 MHz (20.1035 MHz in LSB mode). This signal beats with the VCO 17 MHz free-running signal, producing a· 37 .66 to 37 .95 MHz in the AM mode and 37 .93 MHz in the USB, and 37 .927 MHz in the LSB. mode, which is fed to the receiver first mixer (022) and also to IC3, the transmitter mixer. The second VCO output signal, at 2.55 to 2.28 MHz is fed to the programmable divider in IC1. Simultaneously the 10.24 MHz output of 06 (through the buffer 05) is applied to the programmable divider in IC1 and is divided down in 10 kHz steps. As an AM channel is chosen by the Channel Selector switch [SW-1 ], and N code signal is applied to the terminals [pins No. 10 to 15 of IC] on the programmable divider in IC1, to preset the divider. The two signals, the crystal oscillated signal [10.24 MHz] from 06, and the signal from the VCO via the lowpass filter [LPF] and buffer [in the IC1 ], are compared in the phase detector of IC1 and the phase detector produces a DC output voltage derived from the phase difference in the signals fed to it. This DC output is applied through an LPF to the VCO, forming the phase loop. This DC voltage applied to the VCO causes it to shift frequency until its output signal locks up with the count-down frequency provided from reference oscillator 06 [ when two signals are in phase] at which point no DC output is produced in the phase detector, and the VCO remains locked on frequency. When a new channel is selected a new N code is applied to the programmable devider. The VCO is no longer locked because of the resulting phase difference in the phase detector, and it again shifts frequency to a locked condition, in turn producing 37 MHz output signals corresponding to the new channel programmed by the new N code. In summary it will be seen that a range of stable VCO frequencies in the 17 MHz range will be produced, each specific frequency being determined by the N code selected by the Channel.

Frequency in parensis is for LSB mode.
PLL BLOCK DIAGRAM
TRANSMITTER: The transmitter crystal oscillator, 012, is operating at 10.695 MHz in the AM/USB mode, and 10.692 MHz in the LSB mode, controlled by the crystal X3. This signal is #1; in the AM mode of transmission, fed to the IC3 to be mixed with the first TX local oscillator frequency and result in 27 MHz transmitter frequencies, and #2; in the SSB modes of transmission, modulated through the balanced modulator IC4 with the audio output signal from the microphone amplifier, IC4. The resultant output of the balanced modulator is a double sideband, suppressed carrier signal. The crystal filter, XF, pass band is restricted to 3.5 kHz so that it allows only one sideband to pass through its output terminals, either USB or LSB mode, depending upon the Mode Selector switch selection. The exact frequency of which was determined by the Channel Selector switch or Mode Selector selection and the Selector switch.
CHANNEL 24 (SSB) SWITCH CIRCUIT
This circuit consists of two bipolar transistors (0301, 0302) in PTSW083COX, and switches the transceiver to channel No. 24 whenever the Mode Selector is placed in LSB or USB position to help prevent illegal AM operation on channel No. 24.
When S2, Mode Selector on front panel is set to either USB or LSB position, 0301 turns off cutting off plus DC 5 Volt supplied to PB pin on SW-1 to deactivate the Channel Selector selection, and 0302 turns on giving plus 5V to – #13 pin of PLL02. Since 5V .DC is always applied to #10 pin of the IC, input to IC terminals #15 through #10 (N code) is 0-0-1-0-0-1. This on-off input stands for N code 228 to select channel No. 24, 27.235,MHz. Setting the Mode Selector to one of SSB positions lets the LED channel readout to show number 24 automatically. This is accomplished when bias plus DC is transmitted to matrix of silicon diodes D301 to 316 programmed to indicate the number.
PLL circuitry, as previously outlined, the resultant frequency, therefore, that is fed to the RF amplifier in IC3, is the channel frequency on the channel selected [ channel 1 through 23 for AM, channel 24 for SSB]. See the PLL Frequency Chart in page 14.
The 27 MHz RF amplifier output is coupled to RF pre-driver transistor.§, 07, 8, through T4, 5. The pre-drivers serve to isolate the oscillator and mixer stages from the output amplifiers, and at the same time provide a certain amount of power gain. 08 output is applied to the base input of 09, the RF drive stage and in turn to the 010, the RF power output stage of the transmitter. These stages amplify the 27 MHz RF signal resulting in an output at L13 of 4 watts in the AM mode and 12 watts PEP [peak envelope power] in the SSB mode.
SSB TRANSMITTER (Channel No. 24 Only)

AM TRANSMITTER (Channel No. 1-23)

MODULATION CIRCUIT: The microphone feeds audio through IC5 to the output transformer T16 and to the collectors of 09 and 010 thereby amplitude-modulating the transmitter in the AM mode of transmission. In the SSB transmit mode, the output of IC5 is fed directly to the balanced modulator, IC4, and result in suppressed carrier double sideband signal, and in turn supplied to the crystal filter as outlined previously.
ALC: An audio ALC [automatic level control] voltage derived from the audio signal at 035 is fed to IC5 to control the output of audio amplifier to prevent overmodulation. In the AM mode of transmission, the output of 035 is led to 037 and is used to control the output of T16, whereas in the SSB transmit mode, the output of 035 is fed to 038 and is connected to the primary side of T16. This being due to the fact that the output of IC5 (modulation signal] is fed [to modulate the RF signal] from the secondary side of T16 in the AM mode, and from the primary side of T16 in the SSB mode of transmission. The transceiver is also equipped with the RF ALC circuit utilizing the RF output transmitted to pi-match network (in the SSB mode only]. The minus voltage detected through D8 is applied to the DC plus bias circuit (pin number 7 of IC3, TX mixer] thus reducing the gain of the TX mixer as high level RF signal is observed at L12. This circuit is disabled in the AM mode of transmission. As a summary of the ALC circuit description, it should be noted that the ALC circuits [both audio and RF] accomplish very important function, not only preventing overmodulation, but in the view of harmonic and spurious suppression [ especially in the SSB transmit mode].
ANTENNA TRANSMISSION LINE: The lowpass filter between the antenna and collector of 010 serves to pass the 27 MHz signals alone, attenuating high frequency signals. It also serves to match the antenna impedance to the output impedance of the transmitter output stage, this nominally being 50 Ohm.
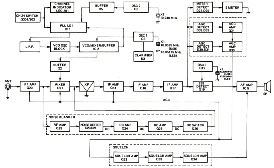
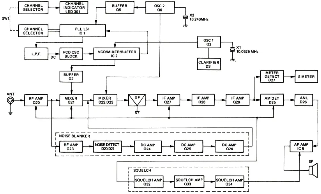
RECEIVER: The RF signal, at a frequency between 26.965 to 27.255 MHz, feeds from the antenna through L13, 12, 11, and T7 to the 27 MHz RF amplifier 020. Then the amplifier output signal from 020 is coupled through T9 to first mixer 022 where it is beat with an injection signal from the VCO, IC2.
The frequency of the injection signal from IC2 depends on the channel being; received, as a signal of the 37 MHz range is programmed by the Channel Selector. The output of 022 is therefore, 10.695 MHz in the AM/USB modes, and 10.692 MHz in the LSB mode, the first intermediate frequency and is the result of the RF input and mixing of IC2 VCO signals.
In case of the AM receive mode, this 10.695 MHz first IF signal is then fed to the second mixer, balanced D22 and D23. Also fed to the second mixer is the second local oscillator signal, 10.24 MHz, from 06. Mixing of these two signals result in a signal at a frequency of 455 kHz in T14. This is the second intermediate frequency for AM mode of reception. The 455 kHz signal passes through the ceramic bandpass filter CF, and feeds the 455 kHz signal to IF amplifiers, 027, 28, and 29, which include IF transformers T15. The output of 029 is applied to D25, the AM diode detector. In the SSB mode of reception, the signal obtained as a result of the mixing of the RF input and IC2 VCO signals, 10.695 MHz in the USB, and 10.692 MHz in the LSB mode, is not converted down to lower intermediate frequency, but is passed thru the crystal filter, XF, and fed to the SSB IF amplifier stages, 014, 16, and 17, which includes T11, and 12. The signal at the secondary side of T12 is fed to 019, the product SSB detector and beat with the BFO [beat frequency oscillator] signal from the 012 and finally rectified to audio frequency signal. The audio signal output from each detector for AM [D25] and SSB [019], is passed through the AF Gain Control, VR1, to the input of the audio amplifier, IC5. The audio output is transformer-coupled to the internal speaker, or to an external speaker through External Speaker jack, J4.
SSB RECEIVER (Channel No. 24 only)

AM RECEIVER (Channel No. 1-23)

- SQUELCH: 032, 33, and 34 are the squelch amplifier transistors. At low [or no] signal levels 034 collector conducts to ground and its output connected to pin number 6 of IC 5 results in no signal output from the audio amplifier. As the incoming RF signal increases it results in opening up the AF amplifier and output is activated. The point at which 034 cuts off is determined by setting the Squelch Control, VR2.
- NOISE BLANKER: The noises contained in the RF signal at the output of RF amplifier, 020, is fed through C112 to the base of 023. The amplified signal output of 020 is rectified by diodes D20 and 21. The resulting DC voltage turns on 024 [FET) which in turn turns on 025 and 26. This causes the IF signal [10.695 or 10.692 MHz) at T10 to be conducted to ground through C121 and 026 during the presence of the noise impulses, blanking out the noise at the receiver output.
- CLARIFIER: The Clarifier circuitry is employed in the 10.0525 MHz oscillator, 03. The Clarifier volume VR7 acts to vary the plus voltage bias of D3 [Voltage variable capacitor] so that the crystal [X1] frequency is pulled above [as VR7 rotated clockwise] or below [as VR7 rotated counterclockwise] its normal operating frequency.
- PUBLIC ADDRESS: Switching provision is made in the audio input circuit of the transceiver to provide a PA function by utilizing the microphone output. In the PA mode, the transceiver serves as a public address amplifier providing 3 watts output to an external PA Speaker jack, J3.
TRANSMITTER ALIGNMENT
Connect test equipment to the transceiver as shown below.

TEST EQUIPMENT
The following test equipment is required and recommended for servicing the transceiver satisfactorily.
- A 50 Ohm resistive antenna load with a power capability of 5 watts or more.
- A frequency counter operable in the required CB range.
- A HF signal generator which operates in the 50 kHz to 65 MHz frequency range with ±1% accuracy.
- An oscilloscope capable of accurate monitoring of 27 MHz range AM signals.
- A digital voltmeter.
- Dummy plugs to activate the transceiver in receive or transmit mode without using microphone, wired as shown in page 11.
- An 8 Ohm 5 watt resistive dummy speaker load.
- An audio signal generator, 10 Hz to 20 kHz.
- An RF voltmeter.
- A 220 volt 50/60 Hz AC source.
TUNE-UP AND ALIGNMENT
Before performing any adjustments, check visually all jacks, plugs and solder joints for good connection. Shown in the schematics are nominal test voltage values for the transceiver transistors and ICs. For tune-up and servicing identical procedures may be employed for all circuits. Since the transceiver is designed primarily for AC-powered base station, use AC power source with a slide line regulator adjusted to exact 220 volts.
To activate the transmitter without using the microphone, use the dummy microphone plug. This plug is also used to introduce a modulating audio signal to the microphone input circuit as described in the following procedure.
AVR ADJUSTMENT
Important: Do not short cut this adjustment. Perform this section first of all adjustments, otherwise you may upset entire alignment of the unit.
- Insert AC power plug into power outlet regulated with a slide line regulator.
- Turn power on and adjust the line regulator for exact 220 volts.
- Adjust RV1 on PC board PTPW007COX for exact 13.8V between terminals 3 and G on the board.
PLL ALIGNMENT
- Set the Mode Switch to USB position, channel 24.
- Connect a frequency counter to test point TP2 through a 1000 pF capacitor.
- Adjust the trimming capacitor CT3 for reading of 10.24 MHz± 50 Hz.
- Connect both oscilloscope and frequency counter to test point TP3 [pin number 4 of IC] and adjust the core of T3 for maximum amplitude of scope display [10.0525 x 2 MHz], then adjust CT1 to obtain 20.10500 MHz± 40 Hz.
- Set the Mode switch to LSB and adjust CT2 to obtain the reading of 20.103500 MHz± 40 Hz.
- Connect frequency counter to TP5 and adjust CT5 to read 10.695 MHz ± 50 Hz in the USB mode of operation. Set the Mode switch to LSB and adjust CT4 to read 10.692 MHz± 50 Hz.
VCO ALIGNMENT
- Set the Mode Selector to AM and Channel Selector to channel 1.
- Connect a digital voltmeter [or a circuit tester, DC 12V range] between ground and TP4.
- Adjust the core provided in the VCO block to obtain 3.6V ±0.1 V, starting from top to bottom when turning the core [the circuit tester used in this procedure should be calibrated and have an input impedance of 20 k Ohm/V or higher].
- Next, set the Mode Selector to USB, channel 24 and verify that the reading is 2.3 to 2.7V.
RF AMPLIFIER BIAS
- Connect an amperemeter between the 010 emitter and chassis ground.
- Adjust RV1 to obtain bias current of 35 mA ± 10 mA.
RF POWER AMPLIFIER STAGE
- Set the Mode Switch to USB.
- Connect oscilloscope to pin number 4 of IC3.
- Feed 2.4 kHz, 10 mV audio to the microphone input circuit.
- Adjust Tl for maximum amplitude of scope display.
- Set the Mode Selector to AM and Channel Selector to channel 1.
- Remove audio input from microphone input circuit.
- Adjust T2 for maximum amplitude of scope display.
- Reset channel selector to channel 13 and connect the oscilloscope to the antenna receptacle in parallel with the Wattmeter.
- Adjust T6, 11, 12, and 13 for maximum power output on the Wattmeter.
- Set the Mode Selector to USB with audio input disconnected.
- Adjust RV4 and RV5 for minimum carrier leakage on the scope display.
- Feet two tones, 500 Hz and 2,500 Hz audio of 100 mV to the microphone input circuit.
- Rotate RV2 fully clockwise.
- Rotate RV11 slowly clockwise from the counterclockwise position to which waveform begins to clip.
- Adjust RV1 so that plus sine wave swing and minus sine wave swing are crossed straight (in shape of X). See Correct figure drawn as follows.
NOTE: Use the output level control on the audio oscillator oscillating at 500 Hz, when you have failed to do this adjustment with RV1. - Adjust RV2 rotating slowly counterclockwise for smooth, clear sine wave appears on scope.
- Repeat steps 14) and 16) alternately until 11 Watts PEP power output is obtained on Wattmeter.
AM RF POWER STAGE
- Set the Mode switch to AM position, and the Channel Selector to channel 13.
- Adjust V R9 for RF output of 3.7 watts on the wattmeter.
MODULATION ALIGNMENT
- Apply 2.5 kHz, 7 mV audio signal input to the microphone input circuit.
- Adjust RV12 for modulation depth of 80%.
- Increase the signal input to 70 mV and verify that modulation depth is 90% or less.
RF POWER METER
- Compare RF power meter on the transceiver and wattmeter externally connected in prior set-up.
- Adjust RV3 so that the RF power meter provided on the unit indicates the same wattage as obtained on the wattmeter.



TRANSMIT FREQUENCY CHECK
- Set the transceiver to the transmit mode with no modulation condition.
- Set the Mode switch to AM position.
- Connect frequency counter to the antenna connector and read frequency at each channel. Verify that frequency is within 800 Hz of center channel frequency as tabulated in the PLL Frequency Table in page 14.
RECEIVER ALIGNMENT
Connect test equipment to the transceiver as shown below. To activate the receiver section without using the microphone, use the dummy microphone plug wired as shown in page 11.

AGC
- Connect digital voltmeter [or circuit tester] to terminal 15 (020, 22 bias) on the PC board and chassis ground.
- Set the Mode switch to AM and RF Gain to max.
- Adjust RV8 to obtain reading of 2V.
RECEIVER SENSITIVITY
- Set the signal generator to 27.115 MHz, 1 kHz 30% modulated.
- Set the transceiver to tune on channel 13.
- Adjust T7, 8, 9, 10, 13, 14, and 15 for maximum audio output across 8 Ohm dummy load resistor. This alignment should be performed with very small signal input from the signal generator to avoid inaccurate alignment due to AGC action.
- After completion of step 3), rotate the T7 core, so that the audio output decreases by 2 dB.
SQUELCH
- Set the Mode switch to AM.
- Set the signal generator to provide RF input signal of 300 µV, 1 kHz 30% modulated and rotate the Squelch control to the fully clockwise position.
- Adjust RV9 so that the audio just appears on scope display.
S METER
- Set the signal generator to provide 100 µV output and set the Mode switch to USB.
- Adjust RV7 so that the S meter pointer indicates 9 on the front panel S meter [left hand].
PLL FREQUENCY TABLE
Channel No. | Channel Freq. (MHz) | ”N” | VCO Freq. (MHz) | Channel Sw. Output P1 P2 P3 P4 PS P6 | RX 1st Local | |||||
1 | 26.965 | 255 | 17.555 | 1 | 1 | 1 | 1 | 1 | 1 | 37.66 |
2 | 26.975 | 254 | 17.565 | 0 | 1 | 1 | 1 | 1 | 1 | 37.67 |
3 | 26.985 | 253 | 17.575 | 1 | 0 | 1 | 1 | 1 | 1 | 37.68 |
4 | 27.005 | 251 | 17.595 | 1 | 1 | 0 | 1 | 1 | 1 | 37.70 |
5 | 27.015 | 250 | 17.605 | 0 | 1 | 0 | 1 | 1 | 1 | 37.71 |
| 6 | 27.025 | 249 | 17.615 | 1 | 0 | 0 | 1 | 1 | 1 | 37.72 |
7 | 27.035 | 248 | 17.625 | 0 | 0 | 0 | 1 | 1 | 1 | 37.73 |
8 | 27.055 | 246 | 17.645 | 0 | 1 | 1 | 0 | 1 | 1 | 37.75 |
9 | 27.065 | 17.655 | 1 | 0 | 1 | 0 | 1 | 1 | 37.76 | |
10 | 27.075 | 244 | 17.665 | 0 | 0 | 1 | 0 | 1 | 1 | 37.77 |
11 | 27.085 | 243 | 17.675 | 1 | 1 | 0 | 0 | 1 | 1 | 37.78 |
12 | 27.105 | 241 | 17.695 | 1 | 0 | 0 | 0 | 1 | 1 | 37.80 |
13 | 27.115 | 240 | 17.705 | 0 | 0 | 0 | 0 | 1 | 1 | 37.81 |
14 | 27.135 27.125 | 17.715 | 1 | 1 | 1 | 1 | 0 | 1 | 37.82 | |
15 | 238 | 17.725 | 0 | 1 | 1 | 1 | 0 | 1 | 37.83 | |
16 | 27.155 | 236 | 17.745 | 0 | 0 | 1 | 1 | 0 | 1 | 37.85 |
17 | 27.165 | 235 | 17.755 | 1 | 1 | 0 | 1 | 0 | 1 | 37.86 |
18 | 27.175 | 234 | 17.765 | 0 | 1 | 0 | 1 | 0 | 1 | 37.87 |
19 | 27.185 | 233 | 17.775 | 1 | 0 | 0 | 1 | 0 | 1 | 37.88 |
20 | 27.205 | 231 | 17.795 | 1 | 1 | 1 | 0 | 0 | 1 | 37.90 |
21 | 27.215 | 230 | 17.805 | 0 | 1 | 1 | 0 | 0 | 1 | 37.91 |
22 | 27.225 | 229 | 17.815 | 1 | 0 | 1 | 0 | 0 | 1 | 37.92 |
23 | 27.255 | 226 | 17.845 | 0 | 1 | 0 | 0 | 0 | 1 | 37.95 |
11A | 27.095 | 242 | 17.685 | 0 | 1 | 0 | 0 | 1 | 1 | 37.79 |
24(USB) | 27.235 | 228 | 17.825 | 0 | 0 | 1 | 0 | 0 | 1 | |
24(LSB) | 27.235 | 228 | 17.8235 | 0 | 0 | 1 | 0 | 0 | 1 | 37.927 |
PC BOARD






SCHEMATIC DIAGRAM

Made Exclusive For
SAGA TRADING AB
Box 6057 S-200 11 Malmo 6





















