
EMY-105-20W
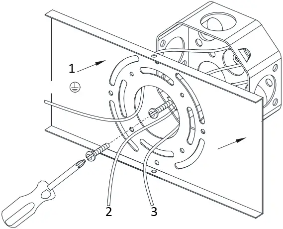
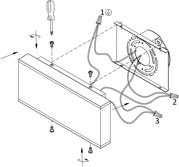
1


3x
2x
2
Indoor use only
3

- Green
- White/black
- Black
4

- Green
- Black
- White/black
5
2x 10W LED 3000K 1600Lumens Included/Input:120V
Dimmable

Side View
Front View
Warning
This product must be installed in accordance with the applicable installation code by a person familiar with the construction and operation of the product and the hazards involved.
IMPORTANT SAFETY INSTRUCTIONS
- The LED bulb has been permanently installed into this lamp.
The LED bulb does not need to be replaced. Do no aempt to remove or replace the LED bulb. - Although LED bulbs do not get as hot as traditional light bulbs, they still generate some heat. Avoid touching the LED bulb.
- Do not try to modify the plug, cable, adaptor or LED bulb.
- Use a so cloth when cleaning the lamp. Do not use chemical or abrasive cleaners
- These important safety warnings do not cover all possible conditions or situations that may occur. Please take care when using this product.
Do Not Return Product To The Retailer.
For Warranty:
Contact the factory directly in wring: Email [email protected]. Include a copy of your purchase invoice and describe the defect. A factory person will contact you directly to advise what further acon will be taken.
For Missing Hardware or Broken Glass:
Contact the factory directly in wring: Email [email protected]. The missing or broken parts will be shipped to you directly the same day aer receipt of your email (weekend excluded).
DIMMER
MODEL #: EMY-105-20W
This product may only be dimmed using dimmer models:
LUTRON : DVELV-300P
LUTRON : MAELV -600
LEGRAND : ADTH700RMTU
Using any other dimmer will void this product’s warranty.
1401 Courtney Park Drive East, Missisauga, Ontario, Canada L5T 2E4
Tel: (905) 564 -1262 Fax: (905) 564 -1299 Email: [email protected] Web: dainolite.ca












