Nero 742502 Steam Iron

Please read these instructions before use and view the illustrations before using this appliance.
Attention
- Please read the owner’s manual before using the product.
- Do not fill with any other liquid except water.
- The iron must not be left unattended while it is connected to the supply mains.
- The plug must be removed from the socket/outlet before the water reservoir is filled with water.
- The iron must be used and rested on a flat, stable surface.
- When placing the iron on its stand, ensure that the surface on which the stand is placed is stable.
- The iron is not to be used if ii has been dropped, if there are visible signs of damage or if it is leaking.
- This appliance is not intended for use by persons (including children) with reduced physical, sensory or mental capabilities, or lack of experience and knowledge unless i
they have been given supervision on or instruction concerning the use of the appliance by a person responsible for their safety. - Children should be supervised to ensure that they do not play with the appliance.
- Keep the iron and its cord out of reach of children less than 8 years of age when it is switched on or cooling down.
- Surfaces are liable to get hot during use.
Caution:
- Make sure that the applied voltage is the same as the rating voltage, and that the socket has effective earthing.
- If the supply cord is damaged, it must be replaced by the manufacturer or o qualified service agent to avoid o hazards.
- Do not immerse the iron in any liquid for cleaning.
- Do not touch hot metal surfaces, hot water, or steam to avoid scalding.
Main technical parameters
| Rated voltage | Rated frequency | Rated power |
| 220-240V | SO Hz | 2000-2400W |
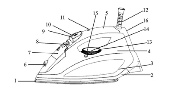
Characteristics and structure
- soleplate
- Skirt
- water tank
- Top cover
- Handle
- proyASM
- Water tank inlet
- Spray bL1tton
- A burst of steam button
- Light for auto off
- Cord guard
- Lamp
- Temperature dial
- Self-clean button
- Rear cover
- Steam l<nob
Filling water
- Before filling the wafer, please pull out the plug first.
- Set the steam control to the minimum position.
- Pull down the cover of the water falling from the mouth. then fill the water.
Spraying
Press the spray button steam will spray out from the spraying nozzle. Always ensure you keep enough water in the tank.
Steam ironing
- To use steam ironing, turn the steam control to the minimum position and set the temperature control to MAX.
- After the indicator goes out, tum the steam control to the suitable position. S1eam will be activated.
A burst of steam
Set the temperature control to MAX then press down the burst of a steam button – the bose plate will spry out o burst of steam. Dry Ironing: Tum the steam control to the minimum position then set the temperature control to the suitable positron.
Self-cleaning
First, fill the water, then plug the iron into the mains. Set the temperature control to MAX. Leave for 3 minutes then press the self-clean button for 1 minute. Steam and hot water will be sprayed to clean the steam chamber. use the function once every two weeks
Anti-drip
This iron is equipped with a drip-stop function which automatically stops steaming when the temperature is too low to prevent water, from dripping, out of the soleplate. Anti-ca le: The Anti-calc function filtrates minerals from the water to prevent m[neral residue buildup in the steam chamber. Autom. shut off:
If the iron is switched on and not moved for a period of 8 minutes W: while standing on the heel or 30 seconds while standing on the soap on internal safety feature will switch the iron off and the auto shut-off indicator will blink. Move the appliance sharply to switch it on again.
Storage
After using, pull out the plug and pour out the remaining water. Tum the steam control and temperature control to MIN. Let the iron cool down and store it vertically in a safe and dry place. Backed by the Nero 1-Year Warranty imponed By R. Weatheldon & Co Ply IUD Sydney Australia www.weatherdon.oom.au Made in China
Nero 742502 Steam Iron


















