Nero Steam Iron
Product Code: 742502
Ceramic Plate
Product Code: 742513
Stainless Steel
742513 500 Steam Dry Iron Stainless
Please read these instructions before use and view the illustrations before using this appliance.
Attention:
- Please read the owner’s manual before using the product.
- Do not fill with any other liquid except water.
- The son must not be left unattended while it is connected to the supply mains.
- The plug must be removed from the socket/outlet before the water reservoir is filed with water.
- The iron must be used ond rested on a flat, stable surface.
- When placing the iron on its stand, ensure that the surface on which the stand is placed is stable.
- The irons not to be used if it has been dropped. if there ore visible signs of damage or if it is leaking.
- This appliance is not intended for use by persons (including children) with reduced physical, sensory or mental capobiliies, or lack of experience and knowledge, unless they have been given supervision or instruction conceming use of the appliance by a person responsible for their safety.
- Children should be supervised to ensure that they do not play with the appliance.
- Keep the iron and its cord out of reach of children less than 8 years of age when it is switched on or cooling down.
- Surfaces are liable to get hot during use.
Caution:
- Make sure that the applied voltage is the same as the rating voltage. and that the socket has effective earthing.
- If the supply cord is damaged, it must be replaced by the manufacturer or a qualified service agent to avoid a hazard.
- Do not immerse the iron into any liquid for cleaning.
- Do not touch the hot metal surfaces, hot water, or steam to avoid scalding.
Main technical parameters:
| Rated voltage | Rated frequency | Rated power |
| 220-240v | 50Hz | 2000-2400w |
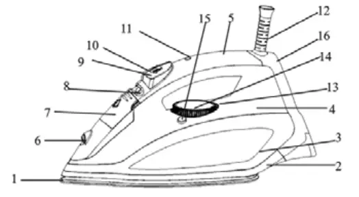
Characteristics and structure:

| 1: Soleplote 2: Skirt 3: Water tank 4: Top cover 5: Handle 6: Spray ASM 7: Water tank inlet 8: Steam knob | 9: Spray button 10: Burst of steam button 11: Light for auto off 12: Cord guard 13: Lamp 14: Temperature dial 15: Self-clean button 16: Rear cover |
Filling water:
- Before filling water, please pull out the plug first.
- Set the steam control to the minimum position.
- Pull down the cover of water filling mouth, then fill water.
Spraying:
Press the spray button – steam will spray out from the spraying nozzle. Always ensure you keep enough water in the tank.
Steam ironing:
- To use steam ironing, turn the steam control to minimum position and set the temperature control to MAX.
- After indicator goes out, turn steam control to the suitable position. Steam will be activated.
Burst of steam:
Set the temperature control to MAX then press down burst of steam button – the base plate will spray out a burst of steam.
Dry ironing: Turn the steam control to minimum position, then set temperature control to the suitable position.
Self cleaning: First fill water, then plug iron into the mains. Set the temperature control to MAX. Leave for 3 minutes then press the self clean button for 1 minute. Steam and hot water will be sprayed to clean the steam chamber. Use the function once every two weeks
Anti-drip: This iron is equipped with a drip stop function which automatically stops steaming when the temperature is too low to prevent water from dripping out of the soleplate.
Anti-calc: The Anti-talc function filtrates minerals from the water to prevent mineral residue build up in the steam chamber.
Automatic shut off:
If the iron is switched on and not moved for a period of 8 minutes while standing on heel or 30 seconds while standing on soleplate, an internal safety feature will switch iron off and the auto shut-off indicator will blink. Move appliance sharply to switch it on again.
Storage: After using, pull out the plug and pour out the remaining water. Turn the steam control and temperature control to MIN. Let the iron cool down and store vertically in a safe and dry place.
Backed by the Nero 1 Year Warranty
Imparted By R Weather:ion & Co Pty Ltd
Sydney – Australia www.weatherdon.com.au
Made in China


















