RW 310-PP Series Onboard Load Scale Instruction Manual
WELCOME
Thank you for choosing to drive more and scale less! Here at Right Weigh, we are committed to making our products simple to install and easy to use. We understand that installation can vary between vehicles and yours may not be described in this manual. In any event, our technical support team is ready to answer your questions!
(503) 628-0838
(888) 818-2058 – Toll Free (USA ONLY)
[email protected]
www.rwls.com/how-to-calibrate-install/
IMPORTANT
Please read instructions COMPLETELY and thoroughly before installation. Right Weigh, Inc. is not responsible or liable for any negative consequences as a result of improper installation or operation including, but not limited to, product failure or damage that could affect the integrity of the vehicle.
The installation steps in this manual are for the sole use of trained installers. Right Weigh, Inc. accepts no responsibility or liability for issues involving, but not limited to, incorrect installation that occur from misinterpretation of the steps outlined in this document.
It is the end user’s responsibility to be aware of vehicle manufacturer policies before making modifications to the vehicle. Right Weigh, Inc. is not liable or responsible for issues regarding, but not limited to, warranties with other manufacturers. This is the responsibility of the end user.
For a more detailed explanation of the the warranty and liability of Right Weigh, Inc. please refer to the “Warranty Statement” and “Return Policy & Repairs” section of this document and
www.rwls.com/warranty.
FOLLOW US!
PARTS REQUIRED
These parts are included in the 310-RK (Retail Kit) products and are sold separately in the 101-SK kit:
Street Tee Fitting
The thread size and type should match the thread size and type of the vehicle suspension
Male NPT Tube for 1/4” Air Line
The thread size and type should match the thread size and type of the vehicle suspension
Male Elbow Tube Fitting for 1/4” Air Line
Tubing size to match the male straight air line fitting. 1/4“ NPT to match the thread size of the fitting at the bottom of the load scale.
1/4” Air Line
The amount of air line needed depends on the mounting location of the gauge.
SPECIFICATIONS & OVERVIEW
Technical Specifications
- Operating/Storage Temperature: -40° F to +185° F (-40° C to +85° C)
- Enclosure: Black Polypropylene
- Gauge Size: 3.5”

The 310-PP series is designed for use on an axle group with a single height control valve suspension system. Within this series, there are different products designed for different axle group configurations. Before installation, make sure you have the proper gauge for your application:
| Suspension | Gauge – Pounds (LBS) | Gauge – Kilograms (KGS) |
| Single Axle | 310-30-PP | 310-16KG-PP |
| Tandem Axle | 310-54-PP ‘*310-HKANT40K-PP **310-54-RK | 310-25KG-PP |
| Tri Axle | 310-80-PP | 310-30KG-PP |
- For use with Hendrickson VANTRAAX HKANT 40K or ULTRAA-K UTKNT 40K air suspension only
- Packaged kit including air line installation components
If you have the wrong gauge for your application, please call our technical support listed.
SCALE INSTALLATION
The 310 Series gauge comes in a protective box with a mounting bracket and hardware. The following steps will walk you through how to correctly mount and install the scale. Be sure to choose a location that is easily accessible and safe from potential damage (forklift posts, tire caps, etc.)
DO NOT mount the scale directly to the chassis or any other main beam unless it is approved by the vehicle manufacturer. Doing so may void the warranty with the vehicle manufacturer.
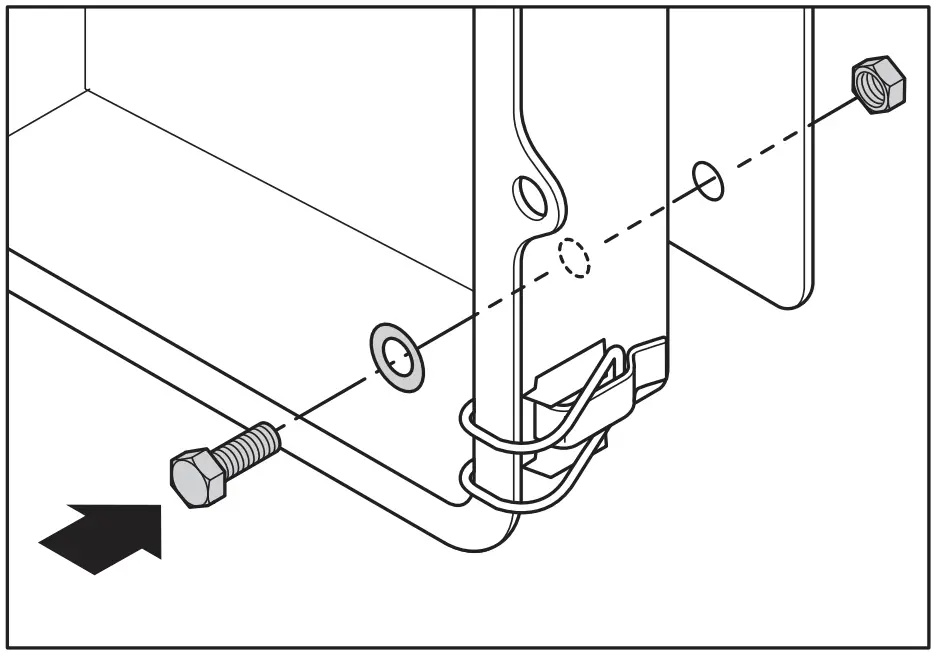
MOUNT SCALE
Choose a location to mount the scale that is easily accessible and safe from potential damage (forklift posts, tire caps, etc.). Mount the bracket in the chosen location using two bolts to secure it. Install the gauge box to the bracket using supplied hardware.
Make sure to use BOTH supplied mounting bolts to secure the bracket to the vehicle. Using only one bolt can result in a cracked bracket and the scale falling off the vehicle.
DUMP AIR FROM SUSPENSION SYSTEM
TEE INTO AIR SUSPENSION
Remove the suspension air line fitting from the top of one of the air bags. Insert a street tee fitting into the top of the air bag that matches the thread size of the vehicle suspension. Reinstall the suspension air line and fitting into the street tee. For more information on the parts needed for air line installation.
INSTALL NEW 1/4” AIR LINE & FITTING
Install a new 1/4” air line and fitting into the remaining port on the tee.
ROUTE AIR LINE TO GAUGE
Route the new 1/4” air line from the tee fitting assembly to the gauge.
Secure air line with zip ties. Install male elbow tube fitting onto the bottom of the gauge. Insert the air line into the fitting and tighten the tube nut securely.
AIR UP SUSPENSION SYSTEM
Check for leaks and that all fitting connections are secure.
Pull red push/pull valve to check that air pressure is getting to the gauge.
CALIBRATION AND OPERATION
CALIBRATING
- The vehicle must be fully loaded. For best results, calibrate with a loaded weight within 1500lbs or 750kgs of your typical axle group weight (DO NOT calibrate empty!)
- Using a certified in-ground scale, obtain a loaded weight for the axle group attached to the gauge.
- Park on a level surface. Shift the transmission to neutral and set the parking brakes.
- Chock the wheels to prevent unexpected vehicle movement.
- Release the parking brakes.
- Make sure the Height Control Valve (HCV) has fully inflated the air bags. If needed, briefly dump the air from the suspension and allow the HCV to refill the system.
- Pull the red push/pull valve so that it is in the fully open position.
- Using a flathead screwdriver, turn the calibration screw on the dial face until the gauge matches the certified axle group weight.

OPERATING AND WEIGHING
- Park on a level surface. Shift the transmission to neutral and set the parking brakes.
- Chock the wheels to prevent unexpected vehicle movement. Release the parking brakes.
- Make sure the Height Control Valve (HCV) has fully inflated the air bags. If needed, briefly dump the air from the suspension and allow the HCV to refill the system.
- Pull the red push/pull valve so that it is in the fully open position. View the load scale to determine the on-the-ground axle group weight.
- Push the push/pull valve so that it is in the full closed position.
TROUBLESHOOTING
| PROBLEM | CAUSE | SOLUTION |
| Erratic / Inaccurate Weight Readings | The vehicle is not parked on a level surface | Park on level concrete ground. Parking on sloped or banked surfaces will cause the vehicle weight distribution to shift between the axle groups. Additionally, if one or more of the vehicle’s wheels are in a pothole, that could result in additional pressure or torque on the suspension air bags. This will cause the suspension to have a different air pressure than what is normally needed to hold up the given weight. |
| The vehicle’s brakes are on | Release the parking brakes when weighing and/or calibrating. When the vehicle brakes are set, they could apply additional pressure or torque on the suspension air bags. This will cause the suspension to have a different air pressure than what is normally needed to hold up the given weight. | |
| There is a significant air leak in the suspension system | Check air lines for leaks. Having a leak could cause the HCV to refill the suspension at regular intervals to maintain the vehicle’s ride height. If there is a significant leak, the gauge display will slowly decrease in value and then quickly increase in value when the HCV refills the suspension system. | |
| The Height Control Valve (HCV) is malfunctioning or broken | If the HCV is not functioning correctly, the air pressure applied to the suspension system could be inconsistent and/or erratic. To test for an HCV problem, acquire a weight reading from the Right Weigh gauge and write it down (refer to gauge operating instructions for proper procedure). Drive the vehicle around the block and return to the same location. Acquire a second reading from the Right Weigh gauge. If the two readings are significantly different, then the HCV might be malfunctioning. |
WARRANTY
Right Weigh is committed to providing quality products that function as intended, and we always stand behind our workmanship. Our industry leading warranty is our best effort to express this commitment. Products manufactured or sold by Right Weigh, Inc. are warrantied to be free from significant defects in material and workmanship 3 years from date of purchase. During this time, and within the boundaries set forth in this warranty statement, Right Weigh, Inc. will, at its sole discretion, correct the product problem or replace the product.
This warranty shall not apply to product problems resulting from:
- Improper application, installation, incorrect wiring, or operation outside of the approved specifications of the product.
- Accidents, faulty suspension parts or power surges
- Inadequate maintenance or preparation by the buyer or user
- Abuse, misuse, or unauthorized modification.
- Acts of God, lightning strike, floods, fire, earthquake, etc.
Right Weigh, Inc. assumes no responsibility or liability for any loss or damages resulting from use of
Right Weigh, Inc. products.
In no event shall Right Weigh, Inc. be liable for direct, indirect, special, incidental or consequential damages (including loss of profits or loss of time) resulting from the performance of a Right Weigh, Inc. product. In all cases, Right Weigh, Inc. liability will be limited to the original cost of the product in question. Right Weigh, Inc. reserves the right to make improvements in design, construction, and appearance of products without notice.
RETURN POLICY & REPAIRS
Before returning any product, please obtain a Return Merchandise Authorization number (RMA#) by calling Customer Service at 503-628-0838 or e-mailing [email protected]. Include the RMA# and information regarding the reason for the return with the returned product. Shipping costs for returns must be prepaid by the customer. For your protection, items must be carefully packed to prevent damage in shipment and insured against possible damage or loss. Right Weigh, Inc. will not be responsible for damage resulting from careless or insufficient packing or loss in transit.
An RMA# must be obtained by the original purchaser before any product can be returned. Only new, unused products may be returned. Installed, used, damaged, modified or customized products can not be returned for credit. Credit will be issued to the original purchaser after evaluation by Right Weigh, Inc.
Repairs/Replacements
An RMA# must be obtained before any product can be returned. Right Weigh, Inc. will evaluate returned products at no charge. If Right Weigh, Inc. determines that the returned product is under warranty it will repair the product or parts thereof at no charge, or if unrepairable, replace it with the same or functionally equivalent product whenever possible. Right Weigh, Inc. will return the product at its expense via a shipping method (carrier to be at sole discretion of Right Weigh, Inc.) equal to or faster than the method used by the customer. Products or parts thereof not covered by warranty will be repaired or replaced at customer expense upon authorization by the customer. Right Weigh, Inc. will return the repaired product at customer expense via a shipping method (carrier to be at sole discretion of Right Weigh, Inc.) equal to or faster than the method used by the customer.
Support
Right Weigh, Inc.
(503) 628-0838
(888) 818-2058 – Toll Free (USA ONLY)
www.rwls.com
[email protected]
Right Weigh, Inc.
Hillsboro, Oregon USA
PP-003-0000 Revision G
September 2020
©2015-2020 Right Weigh, Inc. All rights reserved.





















